рефераты
Главная

Рефераты по международному публичному праву

Рефераты по международному частному праву

Рефераты по международным отношениям

Рефераты по культуре и искусству

Рефераты по менеджменту

Рефераты по металлургии

Рефераты по муниципальному праву

Рефераты по налогообложению

Рефераты по оккультизму и уфологии

Рефераты по педагогике

Рефераты по политологии

Рефераты по праву

Биографии

Рефераты по предпринимательству

Рефераты по психологии

Рефераты по радиоэлектронике

Рефераты по риторике

Рефераты по социологии

Рефераты по статистике

Рефераты по страхованию

Рефераты по строительству

Рефераты по таможенной системе

Сочинения по литературе и русскому языку

Рефераты по теории государства и права

Рефераты по теории организации

Рефераты по теплотехнике

Рефераты по технологии

Рефераты по товароведению

Рефераты по транспорту

Рефераты по трудовому праву

Рефераты по туризму

Рефераты по уголовному праву и процессу

Рефераты по управлению

Реферат: Датчики и исполнительные устройства электронных систем управления АТС

Реферат: Датчики и исполнительные устройства электронных систем управления АТС

Контрольная работа

Выполнил: студент гр.ЗФ-421 Мингазов Д.К.

Южно-Уральский Государственный Университет

Челябинск 2011

Датчик положения коленчатого вала.

Датчик положения коленчатого вала (ДПКВ) (см. Фото-1) является датчиком, по которому в системе впрыска топлива производится синхронизация работы топливных форсунок и системы зажигания. В этой связи ДПКВ является основным, без которого работа системы впрыска топлива не возможна. ДПКВ в общем случае сообщает ЭБУ о положении коленчатого вала, частоте и направлении его вращения. Датчики могут быть индуктивного типа (магнитные), на основе эффекта Холла и оптические.

Индуктивные ДПКВ не требуют специального внешнего источника напряжения. Напряжение сигнала для ЭБУ индуцируется, когда зуб диска синхронизации проходит через магнитное поле датчика. Диск изготавливается из стали с незначительным магнитным сопротивлением. Индуктивные датчики используются не только как ДПКВ (другое название – датчики ВМТ), но и как датчики скорости автомобиля.

В датчике работающим на основе эффекта Холла (датчик Холла) ток начинает протекать, когда датчик находится вблизи изменяющегося магнитного поля (возникает ЭДС). Амплитуда выходного напряжения при этом остается постоянной, а частота изменяется в зависимости от числа оборотов экрана, перекрывающего магнитное поле, или диска синхронизации с зубьями, взаимодействующими с магнитным полем датчика. Датчики Холла используются как ДПКВ и в качестве датчиков распределителей зажигания.

У оптических датчиков диск синхронизации выполнен с отверстиями или с пазами (зубьями). Вращающийся диск прерывает поток света между светодиодом и приемником (датчиком) светового потока. Каждый раз, когда отверстие (паз) не прерывает луч света, последний улавливается оптическим приемником. Приемник вырабатывает и передает далее сигнал в ЭБУ в виде импульса напряжения. Полученные ЭБУ импульсы напряжения могут быть использованы в качестве базового сигнала для систем питания и зажигания. Амплитуда выходного напряжения датчика остается постоянной, а частота меняется в зависимости от числа оборотов.

На основании сигналов ДПКВ блок управления определяет положение коленчатого вала относительно ВМТ в 1-м и 4-м цилиндрах, частоту и направление вращения. По результатам измерения сигналов ДПКВ блок управления формирует сигналы управления топливными форсунками (ТФ) и моментом зажигания, управляет включением/выключением ЭБН, а также обеспечивает показания тахометра.

Неисправности ДПКВ неминуемо приведут к сбоям в работе двигателя. Хотя неисправности датчика положения коленчатого вала встречаются не так часто, отправляясь в дальний путь, лучше иметь исправный датчик в запасе, т.к. в случаях выхода из строя ДПКВ дальнейшее движение автомобиля может оказаться невозможным.

Датчик ДПКВ индуктивного типа представляет собой катушку с большим количеством витков провода, расположенную на магнитопроводе. ДПКВ установлен на кронштейне около шкива привода генератора (см. Фото-2).

Датчик ДПКВ устанавливается с зазором между датчиком и зубчатым шкивом. Зазор должен быть около 1мм. (см. Рис. 1) и выставляется подбором соответствующих шайб. Зубчатый шкив привода генератора выполнен в виде специального диска, на котором находится 58 зубьев через каждые 6 градусов. Для генерации импульса синхронизации оборотов коленчатого вала на шкиве отсутствуют два зуба (см. Фото-2 и Рис. 1).

При вращении диска синхронизации происходит изменение магнитного потока в магнитопроводе датчика, в результате чего в его обмотке возникает напряжение переменного тока. Частота этого сигнала пропорциональна частоте вращения коленчатого вала, а возникающий при прохождении широкой впадины опорный сигнал соответствует положению поршней 1-го и 4-го цилиндров за 114 град. до ВМТ.

На автомобиле может быть установлен цельнометаллический шкив или с демпфером (резиновой проставкой). В процессе эксплуатации автомобиля цельнометаллические шкивы износу почти не подвержены. Следует лишь следить за отсутствием между зубьями каких-либо посторонних частиц и грязи. Если же шкив с демпфером, необходимо следить за его состоянием, т.к. повреждение демпфера может привести к проблемам в работе двигателя. При производстве ремонтных работ следует соблюдать осторожность и не подвергать шкив деформации, т.к. это может привести к сбоям в работе двигателя. Визуальный контроль состояния шкива привода генератора можно производить через арку правого переднего колесаэ

В данном случае на автомобиле установлен цельнометаллический шкив. При неисправностях датчика положения коленчатого вала, шкива привода генератора и привода ГРМ контроллер может зафиксировать ошибку и зажечь лампу "CHECK ENGINE". Соответственно в буфер ошибок будет занесен код "35" и/или "19" К неисправностям этих элементов можно отнести следующие симптомы:

– неустойчивые обороты двигателя на холостом ходу,

– самопроизвольное повышение или снижение оборотов двигателя,

– остановка работы двигателя,

– невозможность запуска двигателя,

– снижение мощности двигателя,

– возникновение детонации при динамических нагрузках,

– пропуски искрообразования.

Диагностика датчика положения коленчатого вала.

Для примера возьмем неисправности № 3 и 4. Предварительная проверка показала, что при включении зажигания на 2 сек. включается бензонасос, т.е. главное реле и силовая цепь исправны.

Формируемый ДПКВ электрический сигнал представляет собой переменное напряжение, амплитуда и частота которого зависят от частоты вращения коленчатого вала двигателя. При прокрутке двигателя стартером напряжение сигнала составляет 0, 3 В.

Диск синхронизации является, по сути дела, маховиком демпфера и крепится к шкиву коленчатого вала с помощью слоя резины. Возможны случаи, когда диск синхронизации проворачивается относительно шкива коленчатого вала. При этом нарушается синхронизация опорного сигнала ДПКВ с требуемым положением коленчатого вала (114 град. до ВМТ 1-го и 4-го цилидров).

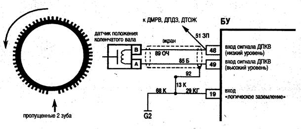
Рис.2 Схема соединений ДПКВ (ЭБУ Январь-5.1)

Рис.3 Схема соединений ДПКВ (ЭБУ BOSH MP 7.0H)

Выполнение проверок датчика положения коленчатого вала.

Используемые источники.

http://cxem.net/avto/injectors/inject7.php

http://www.transinfo.ru/catalog/index.htm

http://www.rignroll.ru/index.php?type=car_id&id=157

«Автомобиль. Основы конструкции» Москва, «За Рулем» 2008г.

«Автомобильные датчики» Москва, «За Рулем» 2004г.

«Системы впрыска топлива автомобилей ВАЗ» Москва, «За Рулем» 2007г.

Список литературы

Для подготовки данной работы были использованы материалы с сайта http://referat.ru/


© 2012 Рефераты, доклады и дипломные работы, курсовые работы бесплатно.