рефераты
Главная

Рефераты по международному публичному праву

Рефераты по международному частному праву

Рефераты по международным отношениям

Рефераты по культуре и искусству

Рефераты по менеджменту

Рефераты по металлургии

Рефераты по муниципальному праву

Рефераты по налогообложению

Рефераты по оккультизму и уфологии

Рефераты по педагогике

Рефераты по политологии

Рефераты по праву

Биографии

Рефераты по предпринимательству

Рефераты по психологии

Рефераты по радиоэлектронике

Рефераты по риторике

Рефераты по социологии

Рефераты по статистике

Рефераты по страхованию

Рефераты по строительству

Рефераты по таможенной системе

Сочинения по литературе и русскому языку

Рефераты по теории государства и права

Рефераты по теории организации

Рефераты по теплотехнике

Рефераты по технологии

Рефераты по товароведению

Рефераты по транспорту

Рефераты по трудовому праву

Рефераты по туризму

Рефераты по уголовному праву и процессу

Рефераты по управлению

Курсовая работа: Расчет статической характеристики клапанов давления заданной структуры

Курсовая работа: Расчет статической характеристики клапанов давления заданной структуры

Содержание

1. Цель расчётного задания

2. Постановка задачи и исходные данные

3. Назначение, устройство и принцип действия клапана

4. Математическая модель

5. Определение площадей проходных сечений

6. Расчёт и построение статической характеристики

7. Построение графической зависимости коэффициента расхода рабочей щели основного клапана от числа Рейнольдса и гидродинамической силы от открытия рабочей щели клапана

8. Вывод по проделанной работе

9. Список использованной литературы


1. Цель расчётного задания

Целью расчётного задания является закрепление и углубление знаний, полученных в процессе изучения лекционного курса, а также приобретение навыков расчёта статической характеристики клапанов давления заданной структуры.

2. Постановка задачи и исходные данные

клапан рейнольдс гидродинамический рабочий щель

Для заданной конструктивной схемы клапана, известных базовых параметров, условиях и ограничениях задачи необходимо:

Рассчитать зависимость регулируемого давления от расхода жидкости;

Определить расчётное значение показателя качества клапана, характеризующего точность регулирования давления, сравнить его с граничным значением, определяющим порог конкурентоспособности аппарата;

Провести качественный анализ возможностей улучшения рассматриваемого показателя качества за счёт изменения конструктивных размеров клапана;

Исходными данными для расчёта являются:

Конструктивная схема клапана.


сканирование

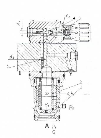
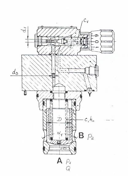
Рис.2.1. Конструктивная схема клапана непрямого действия.

Линейные размеры и углы (см. рис.1):

       

Жесткость и предварительное сжатие пружины основного клапана С, h0, жесткость пружины управляющего клапана С1:

     


Максимальный расход рабочей жидкости через клапан Qmax:

 

Давление настройки клапана p0:

 

Давление на выходе из клапана (для напорного клапана) p2:

  

Плотность рабочей жидкости ρ:

 

Изменение регулируемого давления в диапазоне расходов от Qmin до Qmax, которое должно быть не более Δp:

 

Коэффициенты расхода щелей основного клапана μк, управляющего клапана μу и дросселя μдр(диафрагменный):

-основного ЗРЭ (цилиндр-конус):


-вспомогательного ЗРЭ(конус-цилиндр):

-дросселя:

3. Назначение, устройство и принцип действия клапана

Напорные клапаны предназначены для ограничения давления в подводимом к ним потоке рабочей жидкости.

В зависимости от воздействия потока жидкости на запорно-регулирующий элемент напорные клапаны делятся на клапаны прямого и непрямого действия. В клапанах прямого действия рабочее проходное сечение изменяется в результате непосредственного воздействия потока жидкости за запорно-регулирующий элемент.

Напорные клапаны прямого действия просты, надежны, дешевы. Однако для больших расходов и давлений они не применимы, так как требуются более мощные пружины. При этом увеличиваются габариты, трудно обеспечить допустимую неравномерность давления.

В этих условиях применяют клапаны давления непрямого действия, конструктивная схема, которых показаны на рис. 2.

Напорные, клапаны непрямого действия состоят из основного клапана 1 и вспомогательного (управляющего) клапана 4. Значение давления, которое ограничивает клапан, устанавливается с помощью регулировочного винта, воздействующего на пружину 3 вспомогательного клапана.

Напорный, клапан непрямого действия может работать в двух режимах. При работе в режиме предохранительного клапана он ограничивает давление в гидролинии, к которой клапан подсоединяется. Если давление в ней не превышает допустимого значения, то конус клапана 4 прижат к седлу; силы давления, действующие на клапан 1 сверху и снизу, одинаковы, и основной клапан 1 под действием пружины 2 занимает нижнее положение, перекрывая при этом подводимую к клапану гидролинию.

Когда давление р превышает значение, установленное пружиной 3, конус 4 приподнимается, жидкость через дроссель 5 идет на слив, на дросселе возникает перепад давления, под действием которого клапан 1 поднимается, открывая проходное сечение и перепуская расход рабочей жидкости Q на слив.

сканирование

Рис. 3.1. Схема расположения рабочих органов клапана.

При работе в режиме переливного клапана через рассматриваемый гидроаппарат сбрасывается на слив излишек расхода рабочей жидкости Q, который не в состоянии пропустить дроссельные устройства гидросистемы. В этом режиме работы значение давления должно оставаться практически постоянным, что напорный клапан непрямого действия и.обеспечивает. Так как через клапан всегда должен сливаться тот или иной расход жидкости, клапан 1 находится в приподнятом положении, что возможно лишь при наличии расхода жидкости через клапан 4 и, следовательно, перепада давления на дросселе 5. Значение этого расхода небольшое и обычно не превышает 0,5—1 л/мин.

При увеличении расхода Q который клапан должен пропустить, увеличивается давление р, конус поднимается несколько выше установившегося положения, увеличивается расход Qдр и перепад давления на дросселе 5. Основной клапан несколько приподнимается, увеличивая проходное рабочее сечение, что приводит к пропуску большего расхода и, следовательно, к уменьшению давления р.

4. Математическая модель

1. Уравнение равновесия основного заполно-регулирующего элемента:

                           (4.1)

C - жесткость пружины основного клапана;

h0- предварительное сжатие;

h - открытие рабочей щели;

D - диаметр основного клапана(рис.1);

p3- давление в междроссельной камере.

2. Уравнение расхода, протекающего через рабочую щель основного ЗРЭ:


                        (4.2)

Qк-расход, протекающий через рабочую щель;

μк- коэф. расхода основного ЗРЭ;

fщк-площадь проходного сечения рабочий щели;

ρ - плотность рабочей жидкости.

p1 - давление под нижнем торцом основного ЗРЭ

p2- давление слива.

3. Уравнение расхода, протекающего через дроссель:

                     (4.3)

Qдр-расход, протекающий через дроссель;

μдр- коэф. расхода дросселя;

fдр-площадь проходного сечения дроссель;

ρ - плотность рабочей жидкости;

p1 - давление под нижнем торцом основного ЗРЭ;

p3 - давление в междроссельной камере.

4. Уравнение расхода, протекающего через рабочую щель вспомогательного клапана:

                      (4.4)

Qу-расход, протекающий через рабочую упр. клапана;

μу- коэф. расхода упр. клапана;

fщу-площадь проходного сечения рабочей щели;

ρ - плотность рабочей жидкости;

p3 - давление в междроссельной камере;

p2- давление слива.

5. Уравнение неразрывности для системы "дроссель-вспомогательный клапан":

                        (4.5)

6. Уравнение равновесия вспомогательного запорно-регулирующего элемента:

 (4.6)

C1 - жесткость пружины упр. клапана;

х0- предварительное сжатие;

х - открытие рабочей щели;

D - диаметр основного клапана(рис.1);

p3- давление в междроссельной камере;

Fу- площадь упр. клапана.

p2- давление слива.

-для основного клапана:

7. Уравнение настройки вспомогательного клапана:

 (4.7)

C1 - жесткость пружины упр. клапана;

х0- предварительное сжатие;

p0- давление настройки клапана;

Fу- площадь упр. клапана.

p2- давление слива.

8. Геометрические зависимости, определяющие изменение площадей проходных сечений рабочих щелей для основного и вспомогательного клапанов ЗРЭ(см. рис.3):

 (4.8)

fщк-площадь проходного сечения рабочей щели основного ЗРЭ;

D - диаметр основного клапана(рис.1);

h - открытие рабочей щели основного клапана;

α1- угол (рис.1)

-для вспомогательного клапана:

 (4.9)

fщу-площадь проходного сечения рабочей щели упр. ЗРЭ;

d1 - диаметр упр. клапана(рис.1);

x - открытие рабочей щели упр. клапана;

α2- угол (рис.1).

9. Уравнение гидродинамической силы Rгд для основного ЗРЭ, определяемой по следующей эмпирической зависимости:

                     (4.10)

fщк-площадь проходного сечения рабочей щели основного ЗРЭ;

fк - площадь клапана основного ЗРЭ;

μк- коэф. расходаосновногоЗРЭ;

β- угол истечения струи из щели;

p1 - давление под нижнем торцом основного ЗРЭ;

p2- давление слива.

5. Определение площадей проходных сечений

123

Рис.5.1. Расчётная схема по определению площадей проходных сечений.

Площадь проходного сечения основного ЗРЭ:

                        (5.1)

 

Площадь проходного сечения управляющего ЗРЭ:

                        (5.2)

 

Площадь проходного сечения дросселя:

                       (5.3)

 

6. Расчёт и построение статических характеристики

Найдём предварительное сжатие пружины управляющего клапана из уравнения настройки вспомогательного клапана:

(6.1)

 

Составим систему статических уравнений, из которых мы определим открытие вспомогательного клапана x, открытие основного клапана h, регулируемое давление p1 и давление в междроссельной камере p3 в зависимости от расхода:


 (6.2)

Решая эти уравнение в математическом пакете MathCAD получим необходимые нам величины:

Найдём изменение площадей проходных сечений рабочих щелей для вспомогательного клапанов ЗРЭ по уравнению (4.9) и расход через управляющий клапан использую уравнение расхода, протекающего через рабочую щель управляющего клапана (4.4):

Рис. 6.1. Статическая характеристика клапана.


На основе полученных данных построим статическую характеристику и оценим пригодность его эксплуатации по показателю качества:

Определим неравномерность давления, выступающее в роле показателя качества:

                   

Вывод: По результатам расчета и графику статической характеристики клапана видно, что неравномерность давления клапана выходит за допустимые пределы работы клапана (Δp=0,8 МПа), которые даны в задании (Δpрасчет>Δp), следовательно, данный клапан не удовлетворяет техническим требованиям и не пригоден к эксплуатации.

Изменение давления Δp в рабочей зоне изменения расхода от минимального до номинального зависит от диаметра клапана и жесткости пружины, следовательно, для уменьшения неравномерности давления клапана нужно изменять эти параметры для входа в допустимые пределы работы клапана.

7. Построение графической зависимости коэффициента расхода рабочей щели основного клапана от числа Рейнольдса и гидродинамической силы от открытия рабочей щели клапана

Для определения числа Рейнольдса воспользуемся формулой:

                             (16)

где, Q - –асход через клапан; ε – коэффициент сжатия( он у нас равен 1); D – диаметр основного ЗРЭ; ν – кинематическая вязкость(ν=0,12 Ст)

Для определения коэффициента расхода рабочей щели воспользуемся данной формулой:

                          (17)

где, соответственно, μк - –оэффициент расхода основного ЗРЭ; Rei – i-ое значение числа Рейнольдса( для каждого значения расхода); Reк- постоянная коэффициента коррекции, вычисляемая по формуле:

     

где, Kμ =0,045 (для всех щелей он одинаков)

В итоге мы имеем:


Рис.7.1. Зависимость коэффициента расхода от числа Рейнольдса.

Теперь построим зависимость гидродинамической силы от открытия рабочей щели клапана. Для этого воспользуемся уравнениями из математической модели, а именно уравнениями (8) и (10). Для разных значений открытия рабочей щели имеем:


По полученным данным строим искомую зависимость:

График 7.2. Зависимость гидродинамической силы от открытия рабочей щели клапана.


Вывод: Все необходимые зависимости были успешно получены, графики соответствуют виду теоретическим типовым характеристикам напорного клапана непрямого действия.


8. Вывод по проделанной работе

В результате проделанного расчётного задания я закрепил и углубил знания, полученные в процессе изучения лекционного курса, приобрел навыки расчёта статической характеристики клапанов давления заданной структуры, а также усвоил методику оформления технической документации, изложенной в методическом пособии [2].


© 2012 Рефераты, доклады и дипломные работы, курсовые работы бесплатно.