рефераты
Главная

Рефераты по международному публичному праву

Рефераты по международному частному праву

Рефераты по международным отношениям

Рефераты по культуре и искусству

Рефераты по менеджменту

Рефераты по металлургии

Рефераты по муниципальному праву

Рефераты по налогообложению

Рефераты по оккультизму и уфологии

Рефераты по педагогике

Рефераты по политологии

Рефераты по праву

Биографии

Рефераты по предпринимательству

Рефераты по психологии

Рефераты по радиоэлектронике

Рефераты по риторике

Рефераты по социологии

Рефераты по статистике

Рефераты по страхованию

Рефераты по строительству

Рефераты по таможенной системе

Сочинения по литературе и русскому языку

Рефераты по теории государства и права

Рефераты по теории организации

Рефераты по теплотехнике

Рефераты по технологии

Рефераты по товароведению

Рефераты по транспорту

Рефераты по трудовому праву

Рефераты по туризму

Рефераты по уголовному праву и процессу

Рефераты по управлению

Реферат: Проектирование водоочистных комплексов хозяйственно-питьевого водоснабжения

Реферат: Проектирование водоочистных комплексов хозяйственно-питьевого водоснабжения

 

ТЕМА

ПРОЕКТИРОВАНИЕ ВОДООЧИСТНЫХ КОМПЛЕКСОВ ХОЗЯЙСТВЕННО-ПИТЬЕВОГО ВОДОСНАБЖЕНИЯ

 


Основы выбора технологической схемы, сооружений и реагентов

Полный расход воды, поступающей на комплекс водоподготовки Qn, определяют с учетом расхода воды на его собственные нужды (приготовление пульпы, растворов и суспензий реагентов, продувка осветлителей или отстойников, удаление пены из флотаторов, промывка фильтровальных сооружений и резервуаров фильтрованной воды и др.) и дополнительного расхода воды на восполнение противопожарного запаса Qnon. Следовательно, полный расход воды, поступающей на водоочистной комплекс, будет равен

                                                                   (18.1)

где α — коэффициент, с помощью которого определяют расход воды на собственные нужды комплекса (для комплексов осветления и обесцвечивания, обезжелезивания, сорбционного обесфторивания при обороте промывной воды— 1,03... 1,04; без повторного использования — 1,1... 1,14; для установок умягчения воды — 1,2 ... 1,3).

Дополнительный расход воды на восполнение противопожарного запаса равен

                                                                   (18.2)

где п — число одновременных пожаров; qnom — норма расхода воды при пожаре по СНиПу, л/с; Тпот=3 — расчетная продолжительность пожара, ч; Твос — период восстановления пожарного запаса, ч (для городов и предприятий категории А, Б, В — 24 ч, для предприятий категорий Г, Д — 36 ч, для сельских населенных пунктов — 72 ч).

Водоочистные комплексы должны быть рассчитаны на равномерную работу в течение суток максимального водопотребления, при этом следует предусмотреть необходимость отключения отдельных сооружений на текущий ремонт, осмотр и т. п. Для водоочистных комплексов производительностью до 5 тыс. м3/сут допускается организация работы в течение части суток.

При проектировании водоочистных комплексов их коммуникации необходимо рассчитывать на возможность пропуска расхода воды на 30% больше расчетного, руководствуясь соображениями, интенсификации или реконструкции водоочистных сооружений.

Состав водоочистных сооружений зависит от качества воды в источнике водоснабжения, требований, предъявляемых к обработанной воде, которые обусловлены регламентами потребителя, и от производительности установки. При подготовке воды питьевого качества состав водоочистных сооружений назначается по СНиПу, а при подготовке воды для технологических нужд — в соответствии с требованиями технологии. Рассмотренные ранее технологические схемы составлены, исходя из оптимальных режимов эксплуатации отдельных водоочистных сооружений и с учетом технико-экономических показателей их работы. Так, сооружения предварительной обработки воды (отстойники, осветлители со взвешенным осадком, флотаторы и др.) должны осветлять воду до 4—12 мг/л и снижать ее цветность до 25—30 град. При этом продолжительность работы между выпусками осадка должна быть не менее 12 ч для горизонтального отстойника, 6 ч — для вертикального отстойника, 3 ч — для осветлителя со взвешенным осадком.

Если мутность обрабатываемой воды больше 1,5 г/л, то необходимо предусматривать сооружения предварительного безреагентного осветления, выбор которых обусловлен характером взвеси и производительностью водоочистного комплекса. Обычно для этой цели используют горизонтальные или радиальные отстойники, осветлители — водозаборы и гидроциклоны.

Более сложным и ответственным является обоснование выбора конструкций отдельных технологических сооружений. Например, при проектировании установок с осветлителями со взвешенным осадком или с контактными осветлителями предпочтение следует отдавать вертикальным смесителям, которые обеспечивают не только требуемое смешение реагентов с водой, но и воздухоудаление, что является необходимым условием для надежной работы указанных аппаратов.

При необходимости удаления из воды планктона следует предусматривать микрофильтры или принимать технологию с флотаторами, либо на первой ступени фильтровать воду через Хавающую полимерную загрузку.

В случае дезодорации воды с использованием угольной пульпы или сильного окислителя в начале технологического тракта следует устраивать в качестве входного устройства контактный резервуар, а при длительном периоде дезодорации — угольные фильтры, располагаемые после осветлительных, предусматривая, если это необходимо, ввод озона или хлора в воду перед фильтрами с активным углем.

При коагулировании примесей воды в условиях низких температур, а также при ее реагентном умягчении, следует использовать железные коагулянты. Для обесцвечивания воды рекомендуются алюминиевые коагуляторы (или их смесь с железными), озон и активированная кремниевая кислота.

Высотная схема и планировка водоочистных сооружений

На крупных водоочистных комплексах обрабатываемая да от сооружения к сооружению передается самотеком. Поэтому важно знать взаимное высотное расположение отдельных элементов технологической схемы. Это достигается построением высотной схемы (рис. 18.1) продольного профиля по воде в произвольном масштабе, на котором показывают все основные и вспомогательные сооружения и аппараты и проставляют отметки уровней воды в каждом сооружении и отметки дна сооружений. При составлении высотной схемы необходимо обеспечить условия самотечного движения воды от контактной камеры или смесителя до резервуара чистой воды при одновременном соблюдении требований удобства эксплуатации. Для этого прежде всего необходимо знать максимально возможные потери напора во всех водоочистных сооружениях технологической схемы, потери напора в коммуникациях между сооружениями и потери напора в измерительной аппаратуре.

Согласно СНиПу величины перепадов уровней воды в водоочистных сооружениях и соединительных коммуникациях следует рассчитывать, однако для предварительного построения высотной схемы можно руководствоваться следующими данными потерь напора, м: в контактной камере — 0,3...0,5; в устройствах ввода реагентов —0,1... 0,3; в микрофильтрах и барабанных сетках — 0,4... 0,6; в гидравлическом смесителе — 0,5... 0,6; в механическом смесителе — 0,1... 0,2; в гидравлической камере хлопьеобразования — 0,4 . . . 0,5; в механической камере (флокуляторе) — 0,1... 0,2; в осветлителе со взвешенным осадком-— 0,7... 0,8; в отстойнике — 0,7... 0,8; во флотаторе — 0,5... 0,7; в скорых фильтрах — 3,0 ... 3,5; в медленных фильтрах — 1,5... 2,0; в контактных осветлителях и префильтрах — 2,0... 2,5; в трубопроводах от резервуара чистой воды до фильтровальных сооружений — 1,0...0,5; от \фильтров до осветлителей или отстойников — 0,5... 0,6; от камеры хлопьеобразования до смесителя — 0,3...0,5; от осветлителя со взвешенным осадком до смесителя 0,3... 0,4; от контактного осветлителя до смесителя или входной камеры — 0,5...0,7; в измерительной аппаратуре на входе и выходе из водоочистного комплекса — по 0,5; в индикаторах расхода на отстойниках, осветлителях, флотаторах, фильтрах и контактных осветлителях — по 0,2 ... 0,3.

При проектировании высотной схемы максимальную отметку уровня воды в резервуаре чистой воды назначают на 0,25... ...0,5 м выше поверхности земли и принимают как исходную минимальную. Далее путем последовательного суммирования потерь напора определяют отметки уровней воды в остальных сооружениях.

Определение потерь напора в коммуникациях связано с вычислением сечений соединительных трубопроводов и каналов между отдельными сооружениями технологической схемы. Для этого используют величины допустимых в них скоростей движения воды, м/с: от НС-1 подъема к смесителю — 1,0... 1,2; от смесителя к камере хлопьеобразования или осветлителю — 0,6... 1,0; от отстойников или осветлителей со взвешенным осадком к фильтрам — 0,8... 1,2; от фильтровальных аппаратов к резервуарам чистой воды — 1,2... 1,5; в трубопроводах подачи и отвода промывной воды 1,5... 2,0.

Помимо профиля по воде при составлении высотной схемы необходимо определить высоту отдельных сооружений и отметки их дна по отношению к поверхности земли. При привязке очистных сооружений и проектировании высотной схемы необходимо учитывать рельеф площадки очистных сооружений, глубину залегания грунтовых вод, максимальный уровень воды в водоеме в период паводка, возможность самотечного отвода сточных вод и осадков с очистных сооружений, условия производства строительно-монтажных работ и их объем, условия работы насосов насосной станции II подъема. Отметки днищ "водоочистных сооружений должны назначаться с соблюдением условия минимального объема земляных и бетонных работ и наиболее благоприятных условий производства работ.

На высотной схеме водоочистного комплекса должно быть показано реагентное хозяйство, сооружения по обороту промывной воды и обработки осадка из сооружений предварительной очистки, отметки оси промывных насосов или днища бака промывной башни, отметки вакуумнасосов, насосов-дозаторов, кислотных насосов, воздуходувок.

На территории водоочистных комплексов, т. е. в санитарной зоне строгого режима, помимо основных технологических со-оружений размещают все вспомогательные помещения (склады реагентов и фильтрующих материалов, мастерские, лаборатории, диспетчерские и др.). Склады реагентов, кроме хлора и аммиака, должны располагаться вплотную к реагентному цеху, где находятся аппараты для приготовления их растворов и суспензии (рис. 18.2). Площадь складов реагентов рассчитывают на хранение 15... 30-дневного запаса в зависимости от продолжительности паводка и местных условий их доставки.

В зависимости от вида реагента и производительности комплекса предусматривают его сухое или мокрое хранение в виде концентрированных растворов или продуктов, залитых водой. Хранение реагентов в сухом виде осуществляют в закрытых складах навалом или в таре. Фторсодержащие реагенты и полиакриламид хранят в таре. При этом срок хранения полиакриламида до 6 мес.; не допускается его замораживание, ведущее к потере его активности. Силикат натрия хранят в герметически закупоренных или деревянных бочках. На крупных водоочистных комплексах раствор коагулянта концентрацией 15... 20% хранят в баках-хранилищах без перемешивания. Количество баков должно быть не менее четырех. При числе баков до десяти следует предусматривать один резервный.

При сухом хранении извести предусматривают дробилки и известегасилки, при мокром хранении — резервуары-хранилища и устройства для отбора, транспортировки теста и его гидравлического или механического перемешивания при приготовлении известкового молока.

К помещению для хранения активного угля предъявляют требования пожарной безопасности, относя реагент к категории В. Проектирование складов аммиака и хлора, а также складов для хранения кислот должно производиться согласно Санитарным правилам проектирования, оборудования и содержания складов для хранения сильнодействующих ядовитых веществ.

водоочистной сооружение компоновка обработка осадок


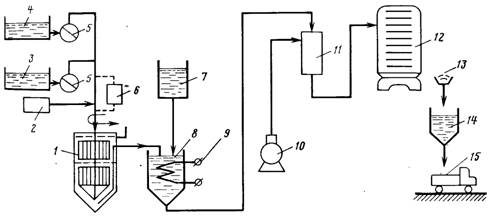
Рис.1 Высотная схема водоочистного комплекса

1 — подача промывной воды от фильтров; 2 — песколовка; 3 — гидроэлеватор; 4 — резервуар-усреднитель промывной воды; 5 — насос перекачки промывной воды; б — возврат промывной воды на очистную станцию; 7 — подача осадка от осветлителей; 8 — резервуар приема осадка: 9 — установка медленного перемешивания осадка; 10 — площадка обезвоживания осадка; 11 — колодец для напуска осадка; 12 — насос перекачки сгущенного осадка; 13 — емкость сгущенного осадка; 14 — осадкоуплотнитель; 15 — насосы перекачки сырого осадка; 16 — подача исходной воды; 17 — башня промывной воды; 18 — вихревой смеситель; 19 осветлитель со взвешенным осадком; 20 — скорый фильтр; 21 — резервуар чистой воды; 22 — насос II подъема; 23 — насос подкачки промывной воды; 24 — бочки с хлором; 25 — испаритель; 26 — хлораторы первичного хлорирования; 27 — то же, вторичного; 28 — растворно-храннлищный бак коагулянта; 29 — насос перекачки раствора коагулянта; 30 — расходный бак коагулянта, 31 — насос-дозатор раствора коагулянта; 32 — мешалка полиакриламида; 33 — насос для циркуляции и подачи полиакриламида в расходный бак; 34 — расходный бак раствора полиакриламида; 35 —. насос-дозатор раствора ПА

Рис.2. Генеральный план водоочистного комплекса

1 — блок основных сооружений; 2 — реагентное хозяйство; 3 — котельная: 4- служебный корпус; 5 — башня промывной воды; 6 — хлораторная; 7 — сооружения оборота промывной воды; 8 — сооружения обработки, осадка; 9 — резервуар чистой воды; 10 — насосная станция II подъема

На крупных водоочистных комплексах предусматривают песковое хозяйство для хранения, сортировки, промывки и транспортирования материалов, необходимых для периодической догрузки и перегрузки фильтровальных аппаратов. Определение объема емкостей для хранения фильтрующих материалов и подбор оборудования для их промывки и рассева производят из расчета 10% ежегодного пополнения фильтрующей загрузки и дополнительного аварийного запаса на перегрузку одного фильтра при их общем количестве до двадцати. Загрузку фильтрующим материалом следует производить с помощью Песковых или водоструйных насосов при скорости движения пульпы 1,2... 2 м/с.

Для надежной организации работы водоочистного комплекса в его составе необходимо предусматривать лаборатории, мастерские и другие вспомогательные помещения согласно СНиПу. Диспетчерский пункт цеха водоочистки обычно устраивают совмещенным с пунктом управления насосными станциями I и II подъема.

Принципы компоновки водоочистных комплексов

Основополагающими при решении генплана водоочистного комплекса помимо географических, топографических и геологических условий являются его производительность и состав водоочистных сооружений. На генплане показывают блок основных водоочистных сооружений, служебный корпус, реагентное хозяйство, башню промывной воды, сооружения обработки осадка, НС II подъема, хлораторную со складом хлора, резервуары чистой воды, котельную, место песковой площадки (рис. 18.2).

Компактное взаимное расположение отдельных водоочистных сооружений, вспомогательных помещений и оборудования на генплане комплекса должно предусматривать минимальные капиталовложения в строительство, обеспечивать максимальные удобства и экономичность эксплуатации, минимальную протяженность трубопроводов и дорожных покрытий между ними, удобство производства ремонтных работ, надежность и бесперебойность работы комплекса, возможность планомерного расширения при росте водопотребления.

На рациональное решение генерального плана водоочистного комплекса доминирующее влияние оказывает рельеф местности. Так, в целях уменьшения объема земляных работ по выемке грунта и обсыпке отдельных сооружений рекомендуется располагать в повышенных местах сооружения с высокими отметками заложения фундамента, а с малыми — в пониженных. Все основные и вспомогательные сооружения желательно располагать в виде единого комплекса (рис. 18.3), образуемого трех-, двух-, и одноэтажными зданиями. Для малых водопроводов компактность расположения водоочистных сооружений и оборудования достигается их размещением на одном участке, а иногда и в одном здании с насосными станциями I и II подъема. Однако, подобные решения не должны быть в ущерб удобств эксплуатации, монтажа оборудования и планового расширения. При компоновке сооружений большой производительности (более 100 тыс. м3/сут) предусматривают отдельные здания для реагентного хозяйства входных устройств, сооружений предварительной обработки воды и фильтров и т. п. с разрывами между ними порядка 20 м, соединяемых галереями с основным зданием.

Для двухступенчатой очистки воды при производительности комплекса до 50 тыс. м3/сут все его сооружения возводятся в одну очередь. При подаче до 5 тыс. м3/сут основные сооружения, реагентное хозяйство, служебные помещения и НС II подъема размещают в одном блоке. При производительности 5... 8 тыс. м3/сут контактные камеры и мирофильтры выносят в отдельные блоки, соединяемые проходной галереей с блоком основных сооружений. При подаче 8... 12,5 тыс. м3/сут возможны аналогичные решения. Для производительности 12,5... 20 тыс. м3/сут также предусмотрено отдельное расположение контактной камеры и микрофильтров. При необходимости иметь в составе технологической схемы одновременно и входные камеры и микрофильтры их располагают в два этажа в одном блоке. Те же решения для подачи 20... 32 тыс. м3/сут.

Во всех рассмотренных случаях хлораторная совмещена со складом и находится в отдельно стоящем здании; сооружения оборота промывной воды и сооружения обработки осадка размещены в пониженной части территории: промывка фильтров от промывной башни.

При производительности 50 тыс. м3/сут и более служебные помещения и реагентное хозяйство размещают в самостоятельных корпусах, соединяемых гелереями с основным корпусом водоочистных сооружений. Сооружения оборота промывной воды и сооружения обработки осадка отстойников (осветлителей) располагают по одну сторону р.ч. в. в непосредственной близости друг от друга. Отвод промывных вод и осадка обеспечиваются самотеком. Для комплексов подобной производительности микрофильтры или контактные камеры располагают в блоке входных устройств, отстойников (осветлителей) и фильтров рядом со смесителями и камерами хлопьеобразования.

В составе сооружений повторного использования промывной воды помимо резервуара-усреднителя предусматривается песколовка и насосы возврата осветленной воды и перекачки осадка.

В составе сооружений обработки осадка — осветлителей (отстойников) предусмотрены резервуар приема осадка, осадкоуплотнитель с устройством медленного перемешивания, емкость сгущенного осадка и его механического обезвоживания, насосное отделение.

При проектировании или привязке одноступечатых схем решение генплана носит более лаконичный характер, однако, ему присущи все те принципы, о которых говорилось ранее.

Сооружение открытых отстойников и осветлителей вне зданий возможно в климатических регионах, где толщина образующегося на поверхности воды зимой льда не превышает 75 мм. Расположение вне зданий осветлительных и катионитовых фильтров допускается при условии, что в течение фильтроцикла на поверхности воды образуется слой льда толщиной не более 15 мм. Галереи трубопроводов необходимо утеплять. Открытые сооружения возможно применять при кондиционировании подземных вод с температурой не ниже +5°С, если средняя температура воздуха не ниже —5°С и наиболее холодной пятидневки не ниже —17 °С.

На генеральный план водоочистного комплекса наносят все технологические, обслуживающие и подсобные сооружения, перечисленные выше, и кроме того, понизительную электроподстанцию, материальный склад, песковое хозяйство, котельную, мастерские, проходную. Хлораторную, совмещенную со складом хлора, размещают в наиболее низкой части территории водоочистного комплекса на расстоянии не менее 30 м от зданий. Если сооружения размещены в здании, то на генплане показывается само здание с примыкающими к нему коммуникациями. Территории, где размещены водоочистные сооружения, ограждается с соблюдением требований СНиПа.

Надежность работы водоочистного комплекса обеспечивается дублированием отдельных технологических сооружений и устройством обводных линий, позволяющих отключать то или иное сооружение или блок, пропуская воду в обход. При этом для водоочистных комплексов с подачей 10 тыс. м3/сут возможно отключение половины технологических сооружений, а для комплексов большей мощности — до четверти. Кроме того, необходимо предусматривать обводную линию от НС I подъема непосредственно в резервуары чистой воды.

На генплане должны быть показаны с указанием диаметров трубопроводы исходной и фильтрованной воды; трубопроводы подачи, отвода и оборота промывной воды; промышленная и хозяйственно-бытовая канализация, хозяйственно-противопожарный водопровод, отводной трубопровод, теплосеть, кабели и другие коммуникации.


Рис. 18.3. Компоновка водоочистных сооружений.

1 — осветлители со взвешенным осадком; 2 — смеситель; 3 — скорые фильтры; 4 — расходные баки коагулянта; 5 — растворные баки-хранилища коагулянта; 6 — насосы-дозаторы и воздуходувки; 7 — подача чистой воды потребителю; 8 — мастерские; 9 — насосная станция II подъема; М — бытовые помещения; 11 — всасывающие трубопроводы из резервуаров чистой воды; 12 —• отвод чистой воды в резервуаре; 13 — сброс осадка из осветлителей; 14 — сброс промывной воды от фильтров; 15 — подача исходной воды

При решении генплана водоочистного комплекса необходимо предусматривать возможность его расширения на расчетный период. С этой целью на генплане предусматривают площадку, обозначаемую пунктиром, при этом трассировка трубопроводов первой очереди должна непременно учитывать последующее расширение. Стороны здания, в направлении которых будет производиться пристройка при расширении комплекса, не должны загромождаться постройками постоянного типа, подземными сооружениями и коммуникациями. Каналы и трубы обвязки сооружений должны быть рассчитаны с запасом на возможность пропуска воды после реконструкции отдельных водоочистных сооружений или целых блоков.

При проектировании генерального плана водоочистного комплекса необходимо предусматривать минимальную протяженность путей перемещения реагентов; максимально возможную механизацию погрузочно-разгрузочных работ и смены загрузки фильтровальных аппаратов; маневренность эксплуатации как отдельных технологических сооружений, так и целых блоков.

Планировка территории комплекса должна обеспечивать отвод атмосферных осадков от всех технологических сооружений, отдельных; зданий и с площадки последних. На территории комплекса помимо дорог предусматривают устройство тротуаров и озеленение.

При решении компоновки блока основных сооружений преследуют цель логической последовательности передачи воды от сооружения к сооружению при минимальной протяженности коммуникации, учитывая возможность интенсификации работы отдельных сооружений или расширения комплекса.

Использование технологии обработки воды в осветлителях со слоем взвешенного осадка на водоочистных комплексах производительностью до 50 тыс. м3/сут позволяет разместить в одном здании все основные технологические сооружения, реагентное хозяйство, входные устройства (вариант) и НС II подъема. При этом смесители, осветлители и фильтры выделены в отдельный зал. При большей производительности водоочистного комплекса служебные помещения выносятся в двухэтажное отдельное здание, входные устройства стыкуют с основными сооружениями или размещают в отдельно стоящем здании реагентного хозяйства. В этом случае в состав реагентного цеха включают отделения коагулирования, флокулирования, фторирования и могут быть еще отделения углевания, известкования и др. Для удобства эксплуатации служебный корпус и реагентный цех проходными галереями соединяются с блоком основных сооружений.

При решении компоновки водоочистных комплексов по одноступенчатой схеме с контактными осветлителями при производительности до 50 тыс. м3/сут входные устройства (микрофильтры, контактные камеры) размещают в отдельном здании, а реагентное хозяйство стыкуют с основными сооружениями, либо входные устройства сочетают с реагентным хозяйством и располагают в отдельном блоке. В обоих случаях для НС II подъема предусматривают отдельные здания.

Контактные осветлители, как правило, располагают в два ряда и предусматривают остекленные перегородки, отделяющие зеркало воды в них от остальных помещений. При производительности 100 тыс. м3/сут и выше входные устройства и основные сооружения устраивают в два параллельно работающих блока (по очередям строительства), которые размещают в одном здании.

Повторное использование промывной воды и обработка осадка на водоочистных комплексах

В целях рационального использования воды и охраны среды обитания на водоочистных комплексах применяют повторное использование воды после промывки фильтровальных сооружений и обработку осадка от сооружений I ступени очистки и реагентного хозяйства для его утилизации. Оборот промывной воды особенно эффективен при значительном удалении водоочистных комплексов от водоисточников или при большой разнице отметок между ними.

Возможны две схемы оборота промывной воды. При двухступенчатой очистке: промывные воды от фильтров, пройдя песколовку, поступают в резервуар-усреднитель, а из него без отстаивания или после него равномерно передаются в головной узел очистных сооружений. При очистке воды только фильтрованием промывные воды через песколовку поступают в отстойники периодического действия; время отстаивания 1 ч, дозы полиакриламида 0,08...0,16 мг/л (меньшие дозы при обработке цветных маломутных вод). При отсутствии предварительного хлорирования оборотные промывные воды необходимо обеззараживать хлором дозой 2... 4 мг/л.

В технологии обработки промывных вод и осадка предусматривают следующие основные сооружения: резервуары, отстойники, сгустители, накопители или площадки замораживания и подсушивания осадка. Перспективно механическое обезвоживание и регенерация коагулянта из осадка.

На установках обезжелезивания воды промывные воды после фильтров подвергают отстаиванию в течение не менее 4 ч, а затем осветленную воду используют повторно. Осадок можно использовать для получения охры.

Количество резервуаров промывных вод принимают не менее двух. Объем каждого из них принимают в соответствии с с графиком поступления и перекачки промывных вод. Отстойники промывных вод рассчитывают, исходя из тех же соображений. Образующийся осадок передают в сгустители на дополнительное уплотнение или на сооружение обезвоживания осадка.

Сгустители с медленным механическим перемешиванием используют для ускорения уплотнения осадка из сооружений ступени очистки воды и из реагентного хозяйства, а также осадка из отстойников промывных вод. Габариты радиального отстойника-сгустителя принимают следующие: диаметр — до 18 м, средняя глубина — 3,5 м, уклон дна к грязевому приямку 8°, скорость движения конца вращающейся формы — 0,015... 0,03 м/с. Продолжительность цикла сгущения принимают 5... 10 ч.

Накопители предусматривают для складирования и обезвоживания осадка с удалением осветленной воды и воды, выделившейся при его уплотнении. Расчетный период передачи осадка в накопитель принимают не менее пяти лет. В качестве накопителей используют отработавшие карьеры, овраги или спланированные площадки глубиной не менее 2 м. Число секций накопителя принимают не менее двух, работающих попеременно.

Площадки замораживания для обезвоживания осадка устраивают в районах с периодом устойчивого мороза не менее мес. в году с последующим его удалением через 1 ... 3 года в места складирования.

Образующийся при обработке воды осадок подвергают обезвоживанию в естественных или искусственных условиях. Большинство водоочистных комплексов направляют образующиеся осадки на иловые карты или площадки, где они подвергаются испарению и вымораживанию в естественных условиях. В зависимости от географического положения очистных сооружений сезонных климатических условий влажность осадка может уменьшиться с 98,5... 99 до 78... 80%, за период между наполнением карт. Нагрузка на площадки может быть уменьшена За счет возврата осветленной части воды на очистные сооружения. Подобная рециркуляционная система не приносит экономических выгод, так как возврат воды приводит к дополнительным затратам. Однако, ее функционирование оправдано необходимостью уменьшить загрязнение рек и водоемов.

В большинстве случаев площадки представляют собой земляные емкости на естественном грунтовом основании с системой водосливов отстоенной воды и дренажами из труб. На практике одну карту заполняют до предела, после чего в течение 2...3 лет уменьшается влажность осадка на 60... 70%. При такой влажности осадок погружают на самосвалы и вывозят на заранее выбранную территорию.

Механическое обезвоживание осадка технически может быть применено на" очистных комплексах любой производительности. В качестве аппаратов используют центрифуги, вакуум-фильтры и фильтр-прессы (рис. 18.4). Вакуум-фильтры при обезвоживании осадков от очистки маломутных вод сульфатом алюминия не обеспечивают необходимое уменьшение влажности.

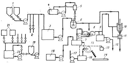
Рис 4. Технологическая схема обработки осадков на камерном фильт-прессе

1 — уплотнитель; 2 — дозатор ПАА; 3 — усреднитель-отстойник осадков из отстойников или осветлителей со взвешенным слоем осадка; 4 — Усреднитель-отстойник промывных вод фильтровальных сооружений; 5 — насос; 6 — сборник осадков; 7 — дозатор флокулянтов и вспомогательных веществ; 8 — промежуточная емкость; 9 — нагревательный элемент; 10 — компрессор; 11 — монжус; 12 —камерный фильтр-пресс; 13 — транспортер; 14 — бункер; 15 — автосамосвал

Для механического обезвоживания требуется предварительная подготовка осадка, которая заключается в разрушении гелеобраз- ной структуры гидроксида алюминия. Хороший эффект дает применение извести. Использование фильтр-пресса считается экономичным для осадков вод средней цветности и мутности при дозах извести не более 50 . . . 70% от массы сухого осадка.

Кислотная обработка осадка для регенерации сульфата алюминия (рис. 18.5) может также применяться на водоочистных комплексах различной производительности. Кислотную обработку нецелесообразно осуществлять на очистных комплексах, которые обрабатывают высокоцветную воду. В этом случае восстановленный коагулянт будет загрязнен растворенными органическими веществами. Не следует также применять кислотную обработку для осадков от очистки высокомутных вод. Осадок от обработки таких вод имеет низкое содержание остаточного гидроксида алюминия и большой абсолютный объем. Расход 100% кислоты в среднем составляет 3 кг на 1 кг оксида алюминия. Применение кислотной обработки имеет также ограничение и по химическим показателям исходной воды.

Рис. 5. Схема регенерации коагулянта кислотой

1 — сооружения предочистки; 2 — осадок от других сооружений; 3— усреднитель; 4 — бак кислоты; 5 — мерник; 6 — реактор; 7 — сборник уплотненного осадка; 8, 10 — отстойник; 9 — бак регенеративного раствора коагулянта; 11 — морозильная камера; 12 — отвод регенерированного раствора коагулянта; 13 — вакуум-насос; 14 — транспортер для кэка; 15 — вакуум-фильтр; 16 — сборник фильтрата; 17 — возврат фильтрата в начало технологического тракта; 18 — блок приготовления известкового молока; 19 промежуточная емкость; 20 — сборник промывных вод фильтров; 21 — скорые фильтры

Растворенные кислотой токсические загрязнения из осадка будут переходить в обрабатываемую воду и накапливаться в ней.

Восстановление сульфата алюминия происходит в три этапа: уплотнение осадка до концентрации сульфата алюминия не менее 2% (20 г/л); добавление серной кислоты до кислотности при рН 2...3 и пребывание в растворе для увеличения уплотнения; отделение осадка от сульфата алюминия.

Восстановление сульфата алюминия до 90% возможно в том случае, если фльтр-прессы способны выдержать сильно кислые осадки. Для облегчения транспортировки и хранения в конце цикла на фильтр-прессы подается известковое молоко. Хороший эффект дают добавки искусственных органических и неорганических флокулянтов. Считают, что осадок таким способом можно обезводить до концентрации сухого вещества 40... 45%.

После самых эффективных в настоящее время способов обезвоживания остается проблема осадков, так как их влажность в лучшем случае практически составляет 50%. По мнению В. М. Любарского, лучшим способом остается размещение осадка по территории при соблюдении следующих условий: вода, проникающая в кек, должна испаряться; после дождя кек не должен превращаться в суспензию; безвредность веществ» содержащихся в осадке для окружающей среды.


ЛИТЕРАТУРА

Алексеев Л. С., Гладков В. А. Улучшение качества мягких вод. М., Стройиздат, 1994 г.

Алферова Л. А., Нечаев А. П. Замкнутые системы водного хозяйства промышленных предприятий, комплексов и районов. М., 1984.

Аюкаев Р. И., Мельцер В. 3. Производство и применение фильтрующих материалов для очистки воды. Л., 1985.

Вейцер Ю. М., Мииц Д. М. Высокомолекулярные флокулянты в процессах очистки воды. М., 1984.

Егоров А. И. Гидравлика напорных трубчатых систем в водопроводных очистных сооружениях. М., 1984.

Журба М. Г. Очистки воды на зернистых фильтрах. Львов, 1980.


© 2012 Рефераты, доклады и дипломные работы, курсовые работы бесплатно.