рефераты
Главная

Рефераты по международному публичному праву

Рефераты по международному частному праву

Рефераты по международным отношениям

Рефераты по культуре и искусству

Рефераты по менеджменту

Рефераты по металлургии

Рефераты по муниципальному праву

Рефераты по налогообложению

Рефераты по оккультизму и уфологии

Рефераты по педагогике

Рефераты по политологии

Рефераты по праву

Биографии

Рефераты по предпринимательству

Рефераты по психологии

Рефераты по радиоэлектронике

Рефераты по риторике

Рефераты по социологии

Рефераты по статистике

Рефераты по страхованию

Рефераты по строительству

Рефераты по таможенной системе

Сочинения по литературе и русскому языку

Рефераты по теории государства и права

Рефераты по теории организации

Рефераты по теплотехнике

Рефераты по технологии

Рефераты по товароведению

Рефераты по транспорту

Рефераты по трудовому праву

Рефераты по туризму

Рефераты по уголовному праву и процессу

Рефераты по управлению

Курсовая работа: Проект коробки скоростей вертикально-сверлильного станка

Курсовая работа: Проект коробки скоростей вертикально-сверлильного станка

Государственный комитет Российской Федерации по высшему образованию

Ульяновский государственный технический университет

Кафедра: «Металлорежущие станки и инструменты»

ПОЯСНИТЕЛЬНАЯ ЗАПИСКА

к курсовой работе

Тема: «Проект коробки скоростей вертикально-сверлильного станка»

Разработал:

студент гр. ТИМд 41

Вериялов А.М.

Руководитель проекта:

Антонец И.В.

Ульяновск 1999


Содержание

Введение

1. Построение графика частот вращения шпинделя и определение числа зубьев передач

1.1 Исходные данные

1.2 Построение графика частот вращения шпинделя

1.3 Определение чисел зубьев шестерен

1.4 Проверка выполнения частот вращения

2. Разработка кинематической схемы коробки скоростей

3. Предварительный прочностной расчет привода

3.1 Определение расчетной частоты вращения шпинделя

3.2 Определение мощностей и передаваемых крутящих моментов на валах

4. Расчет модулей зубчатых передач

5. Расчет диаметров валов

6. Расчет подшипников качения

7. Расчет шлицевых соединений

8. Расчет шпоночных соединений

Литература


Введение

Универсальный вертикально-сверлильный станок модели 2А135.

Назначение и область применения.

Станок 2А135 предназначен для работы в ремонтных, инструментальных и производственных цехах с мелкосерийным выпуском продукции. Будучи снабжен приспособлениями, он может применяться также в массовом производстве. Станок рассчитан на условный диаметр сверления отверстия 35 мм, допускает усилие подачи 1600 кг, крутящий момент 4000.

Наличие на станке девятискоростной коробки скоростей и одинацатискоростной коробки подач полностью обеспечивает выбор нормальных режимов резания при сверлении, рассверливании, зенкеровании, частично развертыванию, а также при наличии электрореверса при нарезании резьбы. Жесткость конструкции, прочность рабочих механизмов и мощность привода позволяют использовать режущий инструмент, оснащенный твердым сплавом.

Основные технические данные и характеристики.

Условный диаметр сверления, мм 35
Наибольшее допустимое усилие подачи, кг 1600

Допустимый крутящий момент Мкр на шпинделе, кг*см

4000
Мощность электродвигателя, кВт 4,5
Число оборотов электродвигателя в минуту 2870
Конус – Морзе №4
Вылет шпинделя, мм 300
Наибольшая глубина сверления при автоматической подаче, мм 225
Наибольшее вертикальное перемещение салазок шпинделя, мм 200
Число скоростей шпинделя 9
Пределы чисел оборотов шпинделя в минуту 68-1100
Число подач шпинделя 11
Пределы подач, мм/об 0,115-1,6
Электрический реверс ручной и автоматический
Наибольшее вертикальное перемещение стола, мм 325
Рабочая поверхность стола, мм 450*500
Наибольшее и наименьшее расстояние от торца шпинделя, мм:
до стола 0-750
до фундаментальной плиты 705-1130
Охлаждается от электронасоса производительностью, л/мин 22
Габарит станка, мм 1240*810*2563
Вес станка, кг 1415

1. Построение графика частот вращения шпинделя и определение

числа зубьев передач

шпиндель коробка скорость вал подшипник

1.1 Исходные данные

- число частот вращения шпинделя z=18
- коэффициент геометрической прогрессии

 и

- минимальная частота вращения шпинделя

nmin=25 об/мин

- частота вращения вала электродвигателя

nЭ.Д. = 1500 об/мин

- мощность электродвигателя N=5 кВт
- ресурс станка Т = 16000 ч

1.2 Построение графика частот вращения шпинделя

Из структурной формулы z=3*3*2 видно, что число валов в коробке скоростей 5 (число сомножителей плюс один и плюс вал электродвигателя).

Для построения графика на одинаковом расстоянии друг от друга проводим вертикальные линии, число которых равно числу валов в приводе.

На расстоянии равном lgj проводим горизонтальные линии, число которых равно числу частот вращения шпинделя плюс 2-5.

При построении графика следует учесть, что передаточные отношения понижающих передач не должны быть меньше ј, а повышающих не более 2.

1.3 Определение чисел зубьев шестерен

 – данное отношение с достаточной точностью выполняется ременной передачей со шкивами Æ140 и Æ200 мм.

Принимаем число зубьев шестерен zШ = 21


;

;

;

;

;

;

;

;

Принимаем ;

;

;

;

;

;

;

;

;


Принимаем ;

;

;

;

;

;

Таблица 1.1

i1

i2

i3

i4

i5

i6

i7

i8

i9

zШ/zK

80/150 21/67 25/63 29/59 23/73 37/59 53/43 24/76 47/53

Sz

- 88 96 100

Рис. 1.1 – График частот вращения шпинделя

1.4 Проверка выполнения частот вращения

Dn=±10(j-1)%= ±10(1,26-1)=2,6%

Действительные частоты вращения шпинделя nД находим из уравнений кинематического баланса. Результаты расчета представлены в табл. 1.2.

Таблица 1.2 – Результаты проверки отклонения действительных частот

вращения шпинделя от заданных геометрическим рядом

Ступени

Уравнение кинематического баланса

Действительное значение частот вращения nд; об/мин

Частота вращения по геометрическому ряду nГ.Р., об/мин

Отклонения частот вращения

I

24,9 25 -0,4
II

31,6 31,5 0,4
III

39,1 40 -2,25
IV

49,7 50 -0,6
V

62,9 63 -0,4
VI

70,5 71,5 -1,4
VII

78 80 -2
VIII

88,7 90 -1,4
IX

97,6 100 -2,4
X

109,9 112,5 -2,31
XI

123,6 125 -1,12
XII

139,5 142,5 -2,1
XIII

156,1 160 -2,4
XIV

176,6 180 -1,9
XV

275,2 282,5 -2,6
XVI

348,1 357,5 -2,5

Проверка показала, что отклонения всех действительных частот вращения шпинделя от частот геометрического ряда находятся в пределах допустимого.


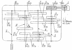
2. Разработка кинематической схемы коробки скоростей

Рис. 2.1 – Кинематическая схема коробки скоростей


3. Предварительный прочностной расчет привода

3.1 Определение расчетной частоты вращения шпинделя

;

где nmin и nmax – соответственно минимальная и максимальная частоты вращения шпинделя по геометрическому ряду.

 об/мин; принимаем np=63 об/мин

3.2 Определение мощностей и передаваемых крутящих моментов

на валах

Мощность на валах коробки скоростей определяется по формуле:

 

где NЭ.Д. – мощность электродвигателя;

h1 – КПД пары подшипников качения (h1=0,99);

h2 – КПД пары прямозубых цилиндрических колёс (h2=0,97),

 

кВт;

 кВт;

 кВт;

 кВт;

 кВт.


Крутящие моменты на валах:

 Н*м;

 Н*м;

 Н*м;

 Н*м;

 Н*м.

Результаты расчета сведены в табл. 3.1.

 

Таблица 3.1 – Мощности и крутящие моменты на валах

№ вала Частота вращения n, об/мин

Передаваемая мощность Ni, кВт

Передаваемый крутящий момент Т2, Н*м

I 1500 5,0 32,14
II 800 4,61 57,87
III 315 4,43 140,04
IV 200 4,25 215
V 63 4,08 653,8

4. Расчет модулей зубчатых передач

Модуль определяется по формуле:

;

где аwмежосевое расстояние;

åz – суммарное число зубьев проектируемой передачи.

Полученные значения модуля округляются до стандартных значений.

В данном курсовом проекте модули рассчитываются на ЭВМ. Исходные данные для расчета модулей приведены в табл. 4.1.

По результатам расчета модулей на ЭВМ (см. приложение 1) выбираем модули из стандартного ряда.

Для зубчатых передач 4…9 шестерен выбираем модули равные 2 мм, для зубчатых передач 10…15 шестерен выбираем модули равные 2,5 мм, для зубчатых передач 16…19 шестерен выбираем модули равные 3 мм.


Таблица 4.1 – Исходные данные для расчета модулей

Исходные данные

Обозначения и размерность Расчетные формулы Указания по выбору Числовые величины
1 2 3 4 5
Степень точности зубчатых передач ГОСТ 1643-81 7
Марка стали и термообработка

1) 40Х – зак-ка с нагревом

2) 12ХН3А – цем. с закалкой

3) 40ХФА – азотация

Мощность на валах кВт

NII=4.61

NIII=4.43

NIV=4.25

NV=4.08

Число зубьев шестерни (зубчатое колесо с меньшим количеством зубьев) Z

VI=25

XII=37

XVI=24

Расчетная частота вращения вала (шестерни) n, об/мин

nI=800

nI=315

nI=200

nI=63

Передаточное число зубчатой пары

i

i3=63/25=2,52

i6=59/37=1,59

i7=76/24=3,16

Отношение ширины зубчатого венца к модулю

yВ=b/m

yВ=7¼14

10

Коэффициенты:

-  Перегрузки

-  Динамичности

-  Неравномерности распределенной нагрузки

- формы зуба

кП

кД

YH

1,2

1)1,1

2)1,0

3)1,05

0,44

Общая продолжительность работы механизма

Тм, ч

16000

Суммарное число циклов нагружения зуба за Тм

NC

NC=60n Тм

7,68*108

3,02*108

1,92*108

6,05*107

Коэффициент переменности режима нагрузок

Kи реж

0,8
Длительный предел выносливости зуба при работе на изгиб

sи пр, Мпа

Для 3-х сталей

1-240

2-460

3-300

Допускаемое напряжение на изгиб

[sи ], Мпа

[sи ]= sи пр* Kи реж

Для 3-х сталей

1-192

2-368

3-240

Делительный предел контактной выносливости

sкд, Мпа

Для 3-х сталей

1-950

2-1200

3-1050

Допускаемое напряжение при расчете на контактную прочность

[sк ], Мпа

[sк ]= sкд* Kи реж

Для 3-х сталей

1-760

2-960

3-840

Коэффициент переменности режима нагрузок

Кк реж

0,8

5. Расчет диаметров валов

Диаметр вала рассчитывается по формуле:

;

где с = 1,3…1,5;

Ni – мощность на рассчитываемом валу;

ni – частота вращения рассчитываемого вала.

В данном курсовом проекте расчет диаметров валов производится на ЭВМ.

Исходные данные для расчета в даны в табл. 5.1.

По результатам расчета диаметров валов на ЭВМ принимаем следующие значения:

-  для первого вала d = 25 мм;

-  для второго вала d = 25 мм;

-  для третьего вала d = 35 мм;

-  для четвертого вала d = 45 мм;

-  для пятого вала диаметр берем с базового варианта d = 70 мм.

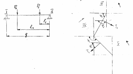
Рис. 5.1 – Общая расчетная схема


Рис. 5.2 – Расчетная схема нагружения II-го вала

Рис. 5.3 – Расчетная схема нагружения III-го вала

Рис. 5.4 – Расчетная схема нагружения IV-го вала

Таблица 5.1 – Исходные данные для расчета диаметров валов

Исходные данные и определяемые величины Обозначение и размерность Числовые величины
1 2 3
Крутящий момент на рассчитываемом валу Т, Н*см

Т2=5787; Т3=14004; Т4=21200; Т5=65380

Допускаемое напряжение на изгиб

[sи], МПа

[s2]=75; [s3]=75; [s4]=74; [s5]=70.

Начальные диаметры колес D, см

D0=107; D1=5,0; D2=107; D3=107.

D0=12,6; D1=11,1; D2=107; D3=107.

D0=7,2; D1=17,7; D2=107; D3=107.

Расстояния по расчетным схемам (рис. 5.1; рис. 5.2; рис. 5.3; рис. 5.4) g

l0

l1

l2

l3

II

19,6 0 2,5 27,6 0
III 42,0 19,9 2,75 0 0
IV 42,0 13,3 2,75 0 0
V 42,0 13,3 0 0 -
Углы действия

 рад

j0=j2=j3=0; j1=1,57;

y0=y2=y3=1,57; y1=3,14.

j2=j3=0; j0=1,57; j1=2,21;

y2=y3=1,57; y0=3,14; y1=3,78.

j2=j3=0; j0=1,16; j1=2,21;

y2=y3=1,57; y0=5,89; y1=0,93.

В приложении представлены распечатки вводы исходных данных и результаты расчета диаметра валов.


6. Расчет подшипников качения

Выбор подшипников качения ведется по динамической грузоподъемности С, определяемой по формуле:

;

где L – число оборотов за расчетный срок службы подшипников;

Р – расчетная нагрузка подшипника, Н;

С – динамическая грузоподъемность подшипника;

a – коэффициент (для подшипников a=3).

Расчетный срок службы подшипника в часах выражается зависимостью:

;

Расчетную нагрузку подшипника определяют по формуле:

;

где Fr – радиальная нагрузка, Н;

Fa – осевая нагрузка, Н;

x – коэффициент радиальной нагрузки;

y – коэффициент вращения (при вращении внутреннего кольца v=1, при вращении наружного кольца v=1,2);

kr – коэффициент безопасности (для токарных станков kr=1…1,2);

kT – безразмерный температурный коэффициент.

В коробках скоростей обычно используют прямозубые колеса, поэтому формула для определения расчетной нагрузки, без учета осевых сил примет вид:

;

величина радиальной нагрузки подсчитывается по формуле:

;

где ,  - наибольшие по величине опорные реакции, определяемые при расчете вала.

Проведем подбор подшипников для II вала. Из распечатки расчета вала выписываем наибольшие опорные реакции G(0)=979,813 H, B1(0)=690,197 и определяем

 Н;

для определения расчетной нагрузки принимаем v=1, kT=1,05, ks=1,3, тогда:

 Н;

определяем L, при известной частоте вращения n=800 об/мин (см. табл. 2.1) и задавшись Ln=16000 ч:

 млн. оборотов.

Динамическая грузоподъемность:

 Н.

Результаты расчета всех валов сведены в табл. 6.1.

 

Таблица 6.1 – Динамическая грузоподъемность подшипников

№ вала G(0), H

B1(0), H

Fr, H

P, H L, млн. об. C, H
II 979,813 690,197 1198,50 1635,95 768 14981,56
III 528,586 1150,644 1266,25 1728,43 302,4 11601,45
IV 1311,036 1621,642 2085,31 2846,45 192 16421,16

По расчетному значению С и принятым по приложению 2 диаметрам валов: dII=20 мм; dIII=35 мм; dIV=45 мм, выбираем по каталогу /3/ подшипники: №205 (С=14000); №107 (С=15900); №109 (С=21200).


7. Расчет шлицевых соединений

По каталогу /3/ производим выбор геометрических характеристик шлицевых валов. Номинальные размеры для II-го вала 6*23*28; для III-го вала 8*32*38, для IV-го вала 8*42*48. Затем производим проверочный расчет шлицевых соединений по напряжению смятия.

,

где z – число зубьев шлица;

D – наружный диаметр;

d – внутренний диаметр шлицевого соединения;

r – радиус при вершине шлицевого соединения;

l – длина шлицевого соединения;

Мкр – момент передаваемый шлицевым соединением;

[sсм] – предельное допускаемое напряжение на смятие; (для нормализованной Стали 45 [sсм]=150 МПа).

Для II-го вала:

;

Для III-го вала:

;

Для IV-го вала:

.

Выбранные нами шлицевые соединения проходят проверочный расчет по напряжению смятия.


8. Расчет шпоночных соединений

По каталогу /3/ для выбранных нами диаметров валов определяем геометрические характеристики шпоночного соединения. Длину шпонки выбираем из нормального ряда с таким расчетом, чтобы она была на 5…10 мм короче ступицы закрепляемой детали.

Проверяем шпоночное соединение на смятие по формуле:

;

где lpдлина шпонки;

к – рабочая глубина в ступице.

Для V-го вала:

.

Шпоночные соединения удовлетворяют проверочному расчету по напряжению смятия.


Литература

1.  Киреев Г.И. Комплексный расчет коробок скоростей металлорежущих станков на ЕС-ЭВМ: указания по курсовому и дипломному проектированию для студентов специальности 0501. Часть I. – Ульяновск: УлПИ, 1984. – 43 с.

2.  Шестернинов А.В., Горшков Г.М., Филиппов Д.Ю. Расчет приводов подач металлорежущих станков. Методические указания по курсовому и дипломному проектированию для студентов специальности 1201. – Ульяновск: УлПИ, 1992. – 48 с.

3.  Дунаев П.Ф., Лешков О.П. Конструирование узлов и деталей машин: Учебное пособие для техн. спец. Вузов. – 5-е изд., перераб. и доп. – М: Высш. шк., 1998. 447 с.


© 2012 Рефераты, доклады и дипломные работы, курсовые работы бесплатно.