![]() |
|||||||||||||||||||||||||||||||||||||||||||||||||||||||||||||||||||||||||||||||||||||||||||||||||||||||||||||||||||||||||||||||||||||||||||||||||||||||||||||||||||||||||||||||||||||||||||||||||||||||||||||||||||||||||||||||||||||||||||||||||||||||||||||||||||||||||||||||||||||||||||||||||||||||||||||||||||||||||||||||||||||||||||||||||||||||||||||||||||||||||||||||||||||||||||||||||||||||||||||||||||||||||||||||||||||||||
| Главная Рефераты по международному публичному праву Рефераты по международному частному праву Рефераты по международным отношениям Рефераты по культуре и искусству Рефераты по менеджменту Рефераты по металлургии Рефераты по муниципальному праву Рефераты по налогообложению Рефераты по оккультизму и уфологии Рефераты по педагогике Рефераты по политологии Рефераты по праву Биографии Рефераты по предпринимательству Рефераты по психологии Рефераты по радиоэлектронике Рефераты по риторике Рефераты по социологии Рефераты по статистике Рефераты по страхованию Рефераты по строительству Рефераты по таможенной системе Сочинения по литературе и русскому языку Рефераты по теории государства и права Рефераты по теории организации Рефераты по теплотехнике Рефераты по технологии Рефераты по товароведению Рефераты по транспорту Рефераты по трудовому праву Рефераты по туризму Рефераты по уголовному праву и процессу Рефераты по управлению |
Курсовая работа: Дослiдження способiв пiдвищення ефективності паросилових циклiвКурсовая работа: Дослiдження способiв пiдвищення ефективності паросилових циклiвМiністерство освіти і науки УкраїниОдеський нацiональний полiтехнiчний унiверситет Кафедра теоретичної, загальної та нетрадицiйної енергетики Курсова робота з дисципліни “Технiчна термодинамiка “ “Дослiдження способiв пiдвищення ефективності паросилових циклiв” Керiвник: Попова Т.М. Одесса 2011 год Зміст Призначення теплоенергетичних установок (ТЕУ) Принцип дії ПСУ Основні характеристики ідеального циклу Ренкіна і ПСУ Переваги базового циклу Ренкіна Методи підвищення ефективності Зв’язане підвищення початкової температури і тиску пари Підвищення початкового тиску пари Проміжний або повторний перегрів пари Гранична регенерація Часткова регенерація Висновки Література Призначення теплоенергетичних установок (ТЕУ) Призначення ТЕУ – перетворення теплоти палива в роботу з подальшим виробленням електричної та теплової енергії. Існують стаціонарні і транспортні ТЕУ. Серед стаціонарних найбільше поширення отримали ПСУ (паросилові установки), а серед транспортних – ДВС (двигуни внутрішнього згорання) і ГТУ (газотурбінні установки). Термодинамічну ефективність роботи ТЕУ характеризує тепломеханічний коефіцієнт ht, який дорівнює відношенню роботи до підведеної теплоти. Для підвищення термодинамічної ефективності застосовують різноманітні методи, які і розглядаються в цій роботі. У зв’язку зі складністю реальних процесів перетворення теплоти в роботу за основу розрахунку приймається ідеальний тепломеханічний цикл на водяній парі, якому відповідає базовий цикл Ренкіна, що складається з двох ізобар і двох ізоентроп. Після розрахунку цього циклу застосовуються декілька методів інтенсифікації базового циклу та проводиться порівняння нового та базового тепломеханічних коефіцієнтів.
|
||||||||||||||||||||||||||||||||||||||||||||||||||||||||||||||||||||||||||||||||||||||||||||||||||||||||||||||||||||||||||||||||||||||||||||||||||||||||||||||||||||||||||||||||||||||||||||||||||||||||||||||||||||||||||||||||||||||||||||||||||||||||||||||||||||||||||||||||||||||||||||||||||||||||||||||||||||||||||||||||||||||||||||||||||||||||||||||||||||||||||||||||||||||||||||||||||||||||||||||||||||||||||||||||||||||||
| № варіанту | N, МВт | P1, МПа |
t1, 0C |
P2, бар |
Q
|
Δ T= Δt К | ηoi |
| 9 | 1000 | 5 | 330 | 0,05 | 16 | 20 | 0.85 |
Властивості водяної пари в перехідних точках базового циклу
|
Номер точки на схемі |
Р, Бар |
t, 0C |
h, кДж/кг |
s, кДж/(кг.К) |
Стан робочого тіла |
| 1 | 50 | 330 | 3015 | 6.36 | ПП |
| 2 | 0,05 | 32.88 | 1937 | 6,36 | ВНП х2=0,743 |
| 3 | 0,05 | 32.88 | 137 | 0,47 | х3=0 |
| 4 | 50 | 32.54 | 141 | 0,47 | вода |
| 5 | 2 | 8 | 33 | 0,12 | вода |
| 6 | 2 | 28 | 117 | 0,4 | вода |

Рис.2.Цикл Ренкіна та еквівалентний йому цикл Карно в діаграмі Т-S
При Р2=0,05 Бар s`=0,47 кДж/(кг К) s``=8,4 кДж/(кг К)
h`=137.8 кДж/кг h``=2561 кДж/кг
x2 =(s-s`)/(s``-s`)=(6,336-0,47)/(8,4-0,47)=0,74
h2=x2h``+(1-x2)h`=0,74*2561+(1-0,74)*137,8=1938 кДж/кг
1. Питомий теплопідвід: q1 = h1-h4 =3015-141= 2874 кДж/кг.
2. Питомий тепловідвід: q2 = h2 – h3 =1937-137=1800 кДж/кг.
3. Питома робота, що отримується в турбіні:
lt = h1 - h2 =3015-1937= 1077 кДж/кг.
4. Питома робота, що витрачається у насосі:
|lн| = h4 - h3 =141-137= 3.2 кДж/кг.
Враховуючи, що lн << lt роботою в насосі нехтуємо.

5. Питома корисна робота в циклі Ренкіна: lt = lt – lн = 1077-3,2= 1073 кДж/кг.
6. Характеристика ефективності циклу Ренкіна, тепломеханічний коефіцієнт ТМК:
ht = lt/q1 = 1073/2874 = 0,374
7. ТМК еквівалентного циклу Карно:
T1m = q1 / (s1 - s3) = 2874/(6,36-137) = 488 K.
T2m= q2 / (s1 - s3) =1800/(6,36-137) = 305 K.
=1- (T2m/T1m) = 1-
(305/488) = 0,374
8. Витрата пари на турбіну: Д=N/(h1-h2) = 1000000/(3015-1938) = 928 кг/с.
7. Питома витрата пари: dt=Д/N = 928/1000000 = 0,000929 кг/кДж.
9. Витрата
палива: В = Д(h1 - h3)/Q
= 928(3015-137)/16000=167 кг/с.
10. Питома витрата палива: bt=B/N=167/1000000 = 0,00017 кг/кДж.
11. Витрата охолоджуючої води:
W=Д(h2 - h3)/(h6 – h5)= 928*(1938-137)/(117-33) = 19947 кг/с,
12. Кратність охолоджування:
n = W/Д = 19947/928 = 21.5
Переваги базового циклу Ренкіна
1. Процеси підведення і відведення тепла ізобарні, що полегшує інженерне здійснення циклу.
2. Повна конденсація водяної пари позитивно позначається на габаритах насоса:
Недолік циклу Ренкіна полягає в його низькій ефективності.
Методи підвищення ефективності цикла Ренкіна:
1. Зв’язане ( при одному й тому ж степені сухості пари -x2 , на виході з турбіни ) підвищення початкового тиску Р1 і t1.
2. Проміжний або повторний перегрів пари.
3. Гранична регенерація .

Цикл Ренкіна з підвищеними початковими параметрами пари.
Зв’язане підвищення початкової температури і тиску пари.
Властивості робочого тіла перехідних точках циклу з підвищеними початковими параметрами пари.
|
Номер точки на схемі |
Р, Бар |
t, 0C |
h, кДж/кг |
s, кДж/(кг.К) |
Стан робочого тіла |
| 1 | 110 | 450 | 3226 | 6.36 | ПП |
| 2 | 0,05 | 32.88 | 1937 | 6,36 | ВНП х2=0,743 |
| 3 | 0,05 | 32.88 | 138 | 0,47 | х3=0 |
| 4 | 110 | 32.54 | 147 | 0,47 | вода |
| 5 | 2 | 8 | 33 | 0,12 | вода |
| 6 | 2 | 28 | 117 | 0,4 | вода |
При Р2=0,05 Бар s`=0,47 кДж/(кг К) s``=8,4 кДж/(кг К)
h`=137.8 кДж/кг h``=2561 кДж/кг
x2 =(s-s`)/(s``-s`)=(6,336-0,47)/(8,4-0,47)=0,74
h2=x2h``+(1-x2)h`=0,74*2561+(1-0,74)*137,8=1938 кДж/кг
Характеристики циклу Ренкіна з підвищеними початковими параметрами пари.
1. Питомий теплопідвід:
q1 = h1-h4 = 3226 – 147 = 3079 кДж/кг.
2. Питомий тепловідвід:
q2 = h2t – h4 = 1937 – 147 = 1791 кДж/кг.
3. Питома робота, що отримується в турбіні:
lt = h1 - h2t = 3226 – 1937 = 1278 кДж/кг.
4. Характеристика ефективності циклу Ренкіна, тепломеханічний коефіцієнт ТМК:
ht = lt/q1 = 1284/3085 = 0,415
5. ТМК еквівалентного циклу Карно:
T1m = q1 / (s1 - s3) = 3085 / (6.36 – 0.47 ) = 522 K.
T2m= t3 + 273 = 32 + 273 = 305 K.
=1- (T2m/T1m) = 1- 305/523
= 0.415
6. Витрата пари на турбіну:
Д=N/(h1-h2t) = 1000*103/(3226 - 1938) = 776 кг/с.
7. Питома витрата пари:
dt=Д/N = 1/(h1-h2t) = 1/(3226 - 1938) = 0,000776 кг/кДж.
8. Витрата палива:
В = Д(h1 - h3)/Q
= 776*(3226 – 137)/(16*103)=150 кг/с.
9. Питома витрата палива:
bt=B/N=150/(1000*103)=0,00015 кг/кДж.
10. Витрата охолоджуючої води:
W=Д(h2t - h3)/( h6 – h5)= 776*(1938 – 137)/(117-33) = 16678 кг/с.
11. Кратність охолоджування:
n = W/Д = 16678/776 = 21,5

Підвищення початкового тиску пари
Властивості робочого тіла перехідних точках циклу з підвищеними початковими параметрами пари.
Підвищуємо тиск на 10 бар
|
Номер точки на схемі |
Р, Бар |
t, 0C |
h, кДж/кг |
s, кДж/(кг.К) |
Стан робочого тіла |
| 1 | 60 | 330 | 2985 | 6,23 | ПП |
| 2 | 0,05 | 32,88 | 1929,0 | 6,23 | ВНП х2=0,728 |
| 3 | 0,05 | 32,88 | 137,8 | 0,47 | х3=0 |
| 4 | 60 | 32,56 | 141,9 | 0,47 | вода |
| 5 | 2 | 8 | 33,8 | 0,12 | вода |
| 6 | 2 | 28 | 117,6 | 0,4 | вода |
При Р2=0,05 Бар s`=0,47 кДж/(кг К) s``=8,4 кДж/(кг К)
h`=137.8 кДж/кг h``=2561 кДж/кг
x2 =(s-s`)/(s``-s`)=(6,24-0,47)/(8,4-0,47)=0,728
h2=x2h``+(1-x2)h`=0,728*2561+(1-0,728)*138=1929 кДж/кг
Характеристики циклу Ренкіна з підвищеними початковими параметрами пари.
1. Питомий теплопідвід:
q1 = h1-h4 = 2985 – 141,9 = 2843,1 кДж/кг.
2. Питомий тепловідвід:
q2 = h2t – h4 = 1929 – 141,9 = 1761,2 кДж/кг.
3. Питома робота, що отримується в турбіні:
lt = h1 - h2t = 2985 – 1929 = 1081,9 кДж/кг.
4. Характеристика ефективності циклу Ренкіна, тепломеханічний коефіцієнт ТМК:
ht = lt/q1 = 1051,9/2843,1 = 0,381
5. ТМК еквівалентного циклу Карно:
T1m = q1 / (s1 - s3) = 2843,1/ (6,24 – 0.47 ) = 493,59 K.
T2m= q2 / (s1 - s3)= 305,76 K.
=1- (T2m/T1m) = 1- (310,43/492,72)
= 0.381
6. Витрата пари на турбіну:
Д=N/(h1-h2t) = 1000*103/(2985 - 1929) = 920 кг/с.
7. Питома витрата пари:
dt=Д/N = 1/(h1-h2t) = 1/(2985 - 1929) = 0,000921 кг/кДж.
8. Витрата палива:
В = Д(h1 - h3)/Q
= 947*(2985 – 138)/(16*103)=163 кг/с.
9. Питома витрата палива:
bt=B/N=168/(1000*103)=0,00016 кг/кДж.
10. Витрата охолоджуючої води:
W=Д(h2t - h3)/( h6 – h5)= 947*(1929 – 138)/(117-33) = 19352 кг/с.
11. Кратність охолоджування:
n = W/Д =20241/947 = 21.016
Підвищуємо тиск ще на 10 бар
|
Номер точки на схемі |
Р, Бар |
t, 0C |
h, кДж/кг |
s, кДж/(кг.К) |
Стан робочого тіла |
| 1 | 70 | 330 | 2953 | 6,126 | ПП |
| 2 | 0,05 | 32,88 | 1867,0 | 6,126 | ВНП х2=0,713 |
| 3 | 0,05 | 32,88 | 137,8 | 0,47 | х3=0 |
| 4 | 70 | 32,59 | 142,9 | 0,47 | вода |
| 5 | 2 | 8 | 33,8 | 0,12 | вода |
| 6 | 2 | 28 | 117,6 | 0,4 | вода |
При Р2=0,05 Бар s`=0,47 кДж/(кг К) s``=8,4 кДж/(кг К)
h`=137.8 кДж/кг h``=2561 кДж/кг
x2 =(s-s`)/(s``-s`)=(6,126-0,47)/(8,4-0,47)=0,713
h2=x2h``+(1-x2)h`=0,713*2561+(1-0,713)*138=1867 кДж/кг
Характеристики циклу Ренкіна з підвищеними початковими параметрами пари.
1. Питомий теплопідвід:
q1 = h1-h4 = 2953 – 142,9 = 2810,1 кДж/кг.
2. Питомий тепловідвід:
q2 = h2t – h4 = 1867 – 142,9 = 1729,2 кДж/кг.
3. Питома робота, що отримується в турбіні:
lt = h1 - h2t = 2953 – 1867 = 1080,9 кДж/кг.
4. Характеристика ефективності циклу Ренкіна, тепломеханічний коефіцієнт ТМК:
ht = lt/q1 = 1080,9/2810,1 = 0,385
5. ТМК еквівалентного циклу Карно:
T1m = q1 / (s1 - s3) = 2810,1/ (6,126 – 0.47 ) = 496,83 K.
T2m= q2 / (s1 - s3)= 305,72 K.
=1- (T2m/T1m) = 1- (305,72/496,83)
= 0.385
6. Витрата пари на турбіну:
Д=N/(h1-h2t) = 1000*103/(2963 - 1867) = 920 кг/с.
7. Питома витрата пари:
dt=Д/N = 1/(h1-h2t) = 1/(2953 - 1867) = 0,000921 кг/кДж.
8. Витрата палива:
В = Д(h1 - h3)/Q
= 947*(2953 –
138)/(16*103)=162 кг/с.
9. Питома витрата палива:
bt=B/N=162/(1000*103)=0,000162 кг/кДж.
10. Витрата охолоджуючої води:
W=Д(h2t - h3)/( h6 – h5)= 920*(1867 – 138)/(117-33) = 19000 кг/с.
11. Кратність охолоджування:
n = W/Д =20241/947 = 20,63
Підвищуємо тиск ще на 10 бар
|
Номер точки на схемі |
Р, Бар |
t, 0C |
h, кДж/кг |
s, кДж/(кг.К) |
Стан робочого тіла |
| 1 | 80 | 330 | 2918 | 6,017 | ПП |
| 2 | 0,05 | 32,88 | 1833,0 | 6,017 | ВНП х2=0,699 |
| 3 | 0,05 | 32,88 | 137,8 | 0,47 | х3=0 |
| 4 | 80 | 32,61 | 143,9 | 0,47 | вода |
| 5 | 2 | 8 | 33,8 | 0,12 | вода |
| 6 | 2 | 28 | 117,6 | 0,4 | вода |
При Р2=0,05 Бар s`=0,47 кДж/(кг К) s``=8,4 кДж/(кг К)
h`=137.8 кДж/кг h``=2561 кДж/кг
x2 =(s-s`)/(s``-s`)=(6,017-0,47)/(8,4-0,47)=0,699
h2=x2h``+(1-x2)h`=0,699*2561+(1-0,699)*138=1833 кДж/кг
Характеристики циклу Ренкіна з підвищеними початковими параметрами пари.
1. Питомий теплопідвід:
q1 = h1-h4 = 2918 – 143,9 = 2774,1 кДж/кг.
2. Питомий тепловідвід:
q2 = h2t – h4 = 1833 – 143,9 = 1695,2 кДж/кг.
3. Питома робота, що отримується в турбіні:
lt = h1 - h2t = 2918 – 1833 = 1078,9 кДж/кг.
4. Характеристика ефективності циклу Ренкіна, тепломеханічний коефіцієнт ТМК:
ht = lt/q1 = 1078,9/2774,1 = 0,389
5. ТМК еквівалентного циклу Карно:
T1m = q1 / (s1 - s3) = 2774,1 / (6,017 – 0.47 ) = 500 K.
T2m= q2 / (s1 - s3)= 305 K.
=1- (T2m/T1m) = 1-
(305/500) = 0.389
6. Витрата пари на турбіну:
Д=N/(h1-h2t) = 1000*103/(2918 - 1833) = 921 кг/с.
7. Питома витрата пари:
dt=Д/N = 1/(h1-h2t) = 1/(2918 - 1833) = 0,000922 кг/кДж.
8. Витрата палива:
В = Д(h1 - h3)/Q
= 947*(2918 –
138)/(16*103)=160 кг/с.
9. Питома витрата палива:
bt=B/N=162/(1000*103)=0,00016 кг/кДж.
10. Витрата охолоджуючої води:
W=Д(h2t - h3)/( h6 – h5)= 920*(1833 – 138)/(117-33) = 18644 кг/с.
11. Кратність охолоджування:
теплоенергетичний установка пар тиск
n = W/Д =20241/947 = 20,22
|
|
|
|
|
|
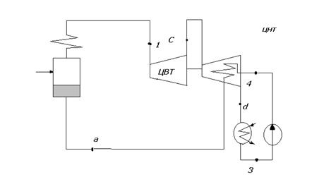
Цей спосіб виник як технологічний засіб боротьби з вогкістю пари на виході з турбіни. Як надалі з’ясувалося, при РПП=(0,15...0,25)Р1 ефективність циклу Ренкіна збільшується. Це пов’язано із збільшенням Т1m.
На рис. 4 показана схема ПСУ з повторним перегрівом пари.

Рис. 4 . Принципова схема ПСУ з повторним перегрівом пари
Процеси в циклі Ренкіна з проміжним перегрівом пари
4-1 - ізобарне підведення теплоти в парогенераторі;
1-с – ізоентропне розширення пари у ЦВТ (циліндрі високого тиску ) , процес здійснення роботи;
с-d – ізобарне підведення теплоти у повторному перегрівачі ;
d-2 – ізоентропне розширення пари у ЦНТ ( циліндрі низького тиску ), процес здійснення роботи;
2-3 – ізобарно-ізотермічний процес відведення тепла в конденсаторі;
3-4 – ізоентропне стиснення в насосі.

Властивості водяної пари в перехідних точках циклу з проміжним перегрівом пари
|
Номер Точки |
Р, Бар |
t, 0C |
h, кДж/кг |
s, кДж/(кг.К) |
Стан робочого тіла |
| 1 | 50 | 330 | 3015 | 6,36 | ПП |
| c | 10 | 180 | 2676 | 6,36 | ВНП хс=0,949 |
| d | 10 | 330 | 3116 | 7,23 | ПП |
| 2ПП | 0,05 | 32,88 | 2206 | 7,23 | ВНП х2пп=0,853 |
| 3,4 | 0,05 | 32,88 | 141 | 0,47 | Х3=0 |
При Рс=1000 кПа
Точка с s`=2,138 кДж/(кг.К) s``=6,585 кДж/(кг.К)
h`=762,7 кДж/кг h``=2777 кДж/кг
xc=(sc-s`)/(s``-s`) = (6,36 – 2,138)/(6,585 – 2,138) = 0,95
hc=xch``+(1-xc)h`=0,95*2777 + (1 -0,95)*762,7 = 2676 кДж/кг
При Pпп=5 кПа
Точка 2пп s`=0,47 кДж/(кг К) s``=8,4 кДж/(кг.К)
h`=138 кДж/кг h``=2561 кДж/кг
x2пп=(s2пп-s`)/(s``-s`)=(7,23 – 0,47)/(8,4 – 0,47) = 0,85
h2пп=x2ппh``+(1-x2пп)h`=0,85*2561 + (1 – 0,85)*138 = 2206 кДж/кг
Характеристики циклу Ренкіна з проміжним перегрівом пари
1. Питомий зовнішній теплопідвід:
q1 = (h1 - h4) + (hd - hc) = (3015 – 141) + (3116 - 2676) = 3314 кДж/кг .
2. Питомий зовнішній тепловідвід:
q2 = h2пп – h = 2206 – 141 = 2065 кДж/кг .
3.Корисна робота в циклі:
lт t = q1 – q2 = 3314 – 2065 = 1249 кДж/кг .
4.Питома робота пари в турбіні:
lт = (h1 – hc) + (hd – h2пп) = (3015 - 2676) + (3116 – 2206) = 1249 кДж/кг.
5. ТМК:
ht = lt/q1 = 1249/3314 =0,376
6.ТМК еквівалентного циклу Карно:
T′1m = q1/(s2пп – s3) = 3314/(7,23 – 0,47) = 490 K
T′2m= q2/( s2пп – s3) = 2065/(7,23 – 0,47) = 305 K
=1 - (T′2m/T′1m)=1
– 305/490 = 0,376
7. Витрата пари на турбіну:
Д=N/(h1-h2пп) = 1000*103/(3015 - 2206) = 1236 кг/с.
8. Питома витрата пари:
dt=Д/N = 1/(h1-h2пп) = 1/(3015 - 2206) = 0,00123 кг/кДж.
9. Витрата палива:
В = bt*N = 0.000166*1000000 = 166 кг/с.
10. Питома витрата палива:
bt=1/Q
*ht =1/(16000*0,376) =0,000166
кг/кДж.
11. Витрата охолоджуючої води:
W=Д(h2пп - h3)/( h6 – h5)= 1236*(2206 – 138)/(117-33) = 30430 кг/с.
12. Кратність охолоджування:
n = W/Д =30430/1236 = 24,61
Регенерація – це метод зменшення безповоротності процесу з використанням повторних енергоресурсів. Гранично регенеративним циклом Ренкіна називається гіпотетичний цикл, в якому робоче тіло H2O входить в парогенератор в стані насиченої рідини при початковому тиску Р1. Вода гріється до температури кипіння при даному тиску в результаті внутрішнього тепловідводу на інших ділянках циклу.
На рис 6 зображений гранично-регенеративний цикл Ренкіна ( при lН=0 ).

Рис.6. Цикл ПСУ з граничною регенерацією
Процеси в циклі ПСУ з граничною регенераціею
3-а - внутрішній теплопідвід;
а-1 - зовнішній теплопідвід;
1-с - ізоентропне здійснення роботи в ЦВТ;
с-d - внутрішнє відведення тепла, рівне внутрішньому теплопідводу в процесі 3-а;
d-3 - ізобарно-ізотермічне зовнішнє відведення тепла.

Рис. 7. Теоретична схема ПСУ з граничною регенерацією .
Властивості водяної пари в перехідних точках циклу з граничною регенерацією пари
|
Номер Точки |
Р, Бар |
t, 0C |
h, кДж/кг |
s, кДж/(кг.К) |
Стан робочого тіла |
| 1 | 50 | 330 | 3015 | 6,36 | ПП |
| а | 50 | 264 | 1155 | 2,921 |
НЖ Xa= 0 |
| d | 0,05 | 32,88 | 1188 | 3.909 |
ВНП xd = 0,433 |
| 3,4 | 0,05 | 32,88 | 141 | 0,47 | Х3=0 |
sd = s1 - sa + s3= 6.36 - 2.921 + 0.47 = 3.909 (кДж/(кг.К))
xd= (sd – s’) / (s’’ – s’) = (3.909 – 0.476)/(8.394 – 0.476) = 0.433
hd = xdh’’ + (1 – xd)h’ = 0.433*2561 + (1 – 0.433)*17.8 = 1188 (кДж/кг)
Характеристики циклу Ренкіна з граничною регенерацією пари.
1. Питомий зовнішній теплопідвід:
q1 = h1 - h4 = 1860 кДж/кг .
2. Питомий зовнішній тепловідвід:
q2 = hd – h3 = 1047 кДж/кг .
3.Корисна робота в циклі:
lт t = q1 – q2 = 813 кДж/кг .
4. ТМК:
ht = lt/q1 = 0.437 > hисх (hисх = 0,374)
5.ТМК еквівалентного циклу Карно:
T1m = q1/(sd – s3) = 1860/(3.909 – 0,47) = 540 K
T2m= q2/( sd – s3) = 1047/(3.909 – 0,47) = 305 K
=1 - (T2m/T1m)=1 – 305/540
= 0,435
7. Витрата пари на турбіну:
Д=N/lTt = 1000*103/813 = 1230 кг/с.
8. Питома витрата пари:
dt=Д/N = 1230/1000*103 = 0,00123 кг/кДж.
9. Витрата палива:
В = 1/Q
*ht = 1/16000*0,435= 143 кг/с.
10. Питома витрата палива:
bt=B/N=220/(1000*103)=0,00014 кг/кДж.
11. Витрата охолоджуючої води:
W=Д(hd - h3)/( h6 – h5)= 1230*(1188 – 147)/(117-33) = 15243 кг/с.
12. Кратність охолоджування:
n = W/Д =15243/1230 = 12.4
Часткова регенерація
На практиці використовується підігрівання поживної води при кінцевому числі регенеративних підігрівачів поверхневого або змішуючого типу. На малюнку зображена схема ПСУ з п'ятьма підігрівачами змішуючого типу.
![]() |
|||
![]() |
|||
Температурний натиск та розподіл температур
![]()
![]()
![]()
![]()
![]()
![]()
Властивості водяної пари в перехідних точках циклу з частковою регенерацією пари
|
Номер Точки |
Р, Бар |
t, 0C |
h, кДж/кг |
s, кДж/(кг.К) |
Стан робочого тіла |
| 1 | 50 | 330 | 3015 | 6.36 | ПП |
| О1 | 25.68 | 243.9 | 2860 | 6,36 | ПП |
|
|
25.68 | 225.38 | 968.6 | 2.568 | НЖ х=0 |
| О2 | 11.71 | 186.88 | 2705 | 6,36 | ВНП х=0,960 |
|
|
11.71 | 186.88 | 793.7 | 2.206 | НЖ х=0 |
| О3 | 4.558 | 148.38 | 2537 | 6,36 | ВНП х=0,902 |
|
|
4.558 | 148.38 | 625.3 | 1.825 | НЖ х=0 |
| О4 | 1.428 | 109.88 | 2354 | 6,36 | ВНП х=0,849 |
|
|
1.428 | 109.88 | 460.9 | 1.417 | НЖ х=0 |
| О5 | 0.3311 | 71.38 | 2155 | 6,36 | ВНП х=0,796 |
|
|
0.3311 | 71.38 | 298.8 | 0.9718 | НЖ х=0 |
| 2 | 0,05 | 32.88 | 1937 | 6,36 | ВНП, х=0,743 |
| 3,4 | 0,05 | 32.88 | 141 | 0,47 | НЖ, х=0 |
Відносні частки пара

![]()
![]()
![]()
![]()
![]()
![]()
Характеристики циклу Ренкіна з граничною регенерацією пари
1. Питомий теплопідвід: q1 = h1 – h’O1 = 3015 – 968.6 = 2046.4 кДж/кг
2. Питомий тепловідвід: q2 = (h2 – h3)∙ak = (1937 – 141)*0,659 = 1183,5 кДж/кг
3. Питома робота, що отримується в турбіні:
lt = q1 - q2 = 2046,4 – 1183,5 = 862 кДж/кг
4. Характеристика ефективності циклу Ренкіна, тепломеханічний коефіцієнт ТМК:
ηt = lt/q1 = 862/2046 = 0.421
5. Витрата пари на турбіну: Д = N/lt = 1000000/862 = 1160 кг/с
6. Питома витрата пари: dt = Д/N = 1160/1000000 = 0.00116 кг/кДж
7. Питома витрата палива: bt = 1/(QpH * ηt) = 1/(16000*0.421) = 0.000148 кг/кДж
8. Витрата палива: B = bt *N = 0,000148*1000000 = 148 кг/с
9. Витрата охолоджуючої води: W=Д*(h2 – h3)/(h6 – h5) = 1160*1796/84 = 24801 кг/с
10. Кратність охолоджування: n = W/Д = 24801/1160 = 21,38
Результати обчислень характеристик циклу зводимо у таблицю:
Таблиця 9
| Назва циклу Ренкіна | Тепломеханічний коефіцієнт | Витрати палива |
| Базовий цикл | 0,374 | 167 |
| Підвищення початкової температури і тиску пари | 0,415 | 150 |
| Підвищення початкового тиску пари | 0,389 | 160 |
| Проміжний перегрів | 0,376 | 166 |
| Гранична регенерація | 0,437 | 143 |
| Часткова регенерація | 0,421 | 148 |
Висновки
1. Збільшення ефективності у циклі Ренкіна при одночасному зв'язаному підвищенні p1 і t1 пояснюється збільшенням середньотермодинамічної температури робочого тіла у процесі підведення теплоти (T1m). Іншою перевагою цього способу є сталий ступінь сухості вологі насиченої пари на виході з турбіни.
2. Введення промперегріву додатково впливає на ефективність циклу Ренкіна тільки при оптимальному виборі проміжного тиску пари у повторному перегрівачі pпп = pc = pd = (0.15 - 0.25) p1 При цьому, крім збільшення Т1m зростає також ступінь сухості пари (Х2пп > X2), що добре впливає на експлуатаційні характеристики турбіни.
3. Серед розглянутих способів підвищення ТМК ПСУ найбільш ефективним є цикл Ренкіна з граничною регенерацією (при z -> ∞). Однак на практиці застосовується регенеративний підігрів живильної води при кінцевому числі ступенів z = 3 - 12, причому збільшення г приводить до збільшення ефективності.
4. Оптимальне число підігрівачів повинно вибиратися на основі техніко-економічного розрахунку паросилової установки, з урахуванням вартості палива, металу, експлуатації, ремонту та ін.
Література
1. Вукалович М.П., Ривкин С.Л., Александров С.А. Таблицы теплофизических свойств воды и водяного пара. - М.: Изд - во стандартов, 1969. - 408 с.
2. Кириллин В. А., Сычев В. В., Шейндлин А.В. Техническая термодинамика. -М.: Знергия, 1974. - 496 с.
3. Попова Т.М. Техническая термодинамика: Конспект лекций. - Одесса: ОГПУ, 1996. - 74 І