рефераты
Главная

Рефераты по международному публичному праву

Рефераты по международному частному праву

Рефераты по международным отношениям

Рефераты по культуре и искусству

Рефераты по менеджменту

Рефераты по металлургии

Рефераты по муниципальному праву

Рефераты по налогообложению

Рефераты по оккультизму и уфологии

Рефераты по педагогике

Рефераты по политологии

Рефераты по праву

Биографии

Рефераты по предпринимательству

Рефераты по психологии

Рефераты по радиоэлектронике

Рефераты по риторике

Рефераты по социологии

Рефераты по статистике

Рефераты по страхованию

Рефераты по строительству

Рефераты по таможенной системе

Сочинения по литературе и русскому языку

Рефераты по теории государства и права

Рефераты по теории организации

Рефераты по теплотехнике

Рефераты по технологии

Рефераты по товароведению

Рефераты по транспорту

Рефераты по трудовому праву

Рефераты по туризму

Рефераты по уголовному праву и процессу

Рефераты по управлению

Реферат: Новые конструкции станций метрополитена на линиях мелкого заложения

Реферат: Новые конструкции станций метрополитена на линиях мелкого заложения

Петербургский Государственный Университет

Путей Сообщений

Реферат

Новая концепция строительства станций метрополитена

на линиях мелкого заложения

Выполнил:

студент VI-МТ

Совершаев И.В.

Петербург

2002
1. Введение

Развитие современного города, наряду с решением архитек­турно-планировочных задач и проблем инженерного обустройст­ва осваиваемых территорий, предполагает также совершенствова­ние внутригородской транспортной системы, и в первую очередь той ее части, которая относится к пассажирским перевозкам. Рост пассажирооборота, увеличение дальности передвижений, необ­ходимость сокращения времени на поездки требует увеличения скорости сообщения с одновременным повышением надежности, безопасности и комфортности пассажирских перевозок. В усло­виях современного крупного города, когда необходимо обеспе­чить сохранность базовой капитальной застройки и сооружений, представляющих историческую ценность, эти транспортные про­блемы решаются с помощью подземных линий метрополитена.

Необходимость развития транспортной системы города зави­сит от его величины, которую по современной классификации устанавливают по численности жителей: крупные — 250-500, крупнейшие — более 500 тыс. человек. В последние годы в самостоятельную группу выделяют города с населением более 1 млн. человек. По данным статистики, на территории России насчитывается 13 городов, которые могут быть отнесены к этой группе. Ввиду особой сложности транспортных проблем в таких городах в настоящее время и 11 из них строятся или проектиру­ются метрополитены. В Москве, Санкт-Петербурге, Нижнем Новгороде. Новосибирске, Самаре, Екатеринбурге метрополите­ны действуют и продолжают развиваться. Общая протяженность линий, действующих в этих городах, приближается к 350 км. Ведется строительство метрополитена в Омске, Челябинске и Красноярске, обоснована необходимость метрополитена в ком­плексных планах развития городского пассажирского транспорта Ростова-на-Дону, Уфы и Казани.

В центральной части крупнейших городов в условиях плотной застройки, при наличии архитектурных, исторических памятников и разного рода охранных зон, при необходимости пересечений значительных по глубине и ширине водотоков, как правило, строят линии метрополитена глубокого заложения, несмотря на высокую стоимость и значительные трудозатраты. Большинство же перспективных линий в таких городах проектируют на мелком заложении (на глубине до 15 м от уровня земной поверхности). Предпочтение линиям мелкого заложения отдают и при проектировании вновь строящихся метрополитенов в городах, рельефные и градостроительные особенности центральной части которых не отмечены перечисленными выше условиями.

Тенденция роста протяженности линий мелкого заложения на сети отечественных и зарубежных метрополитенов обусловлена их определенными преимуществами по сравнению с линиями глубокого заложения. Так, стоимость линий мелкого заложения в относительно благоприятных гидрогеологических условиях в среднем в два раза меньше, чем линий глубокого заложения. В условиях Санкт-Петербурга строительная стоимость только эска­латорного комплекса с чугунной обделкой тоннеля, пройденного с предварительным замораживанием грунта на глубину 40-50 м, сравнима со строительной стоимостью целого станционного комплекса на линии мелкого заложения. Существенно отличаются и трудовые затраты на сооружение 1 п.м. перегонного тоннеля. Например, в московских условиях при проходке щитовым спосо­бам они составляют для глубокого заложения 170-190 чел.-ч, тогда как мелкого — 100-120 чел.-ч.


Кроме того, сооружение тоннелей мелкого заложения исклю­чает кессонный способ проходки, а также замораживание грунта в больших объемах, т.к. встречающийся избыток грунтовых вод на отдельных участках снимается предварительным водопонижением. Отказ от этих специальных методов работ трудно переоценить. Здесь и экономия больших средств и, что еще более важно, исключение вредных для здоровья условий труда. Локальные препятствия на трассе в виде фундаментов отдельных зданий и сооружений, небольших водотоков, железнодорожных путей и т.п. не должны служить доводом в пользу переноса трассы на глубокое заложение. Отечественный и зарубежный опыт показывает, что препятствия преодолеваются с использованием известных  отработанных приемов — укрепления фундаментов, продавливания, поверхностного замораживания дна водотоков и т.п.

Из многолетнего опыта эксплуатации линий метрополитена мелкого заложения следует, что они более удобны для пассажиров, чем линии глубокого заложения. Незначительная глубина заложения и наличие двух входов на станцию экономят время движения пассажира от входа до посадочной платформы. Два входа на станцию способствуют более равномерному заполнению вагонов, ускоряют выход пассажиров с платформы на поверхность. Сокращение времени следования до платформы привлека­ет большее число пассажиров на станцию, поскольку метрополи­теном пользуются и те, кто следует на короткие расстояния (1-2 перегона).

Эксплуатационные расходы, отнесенные к одному километру линии мелкого заложения, на 18-20% ниже, чем глубокого.

Отметим также, что сооружение станционного комплекса открытым способом в углубленных котлованах позволяет одно­временно со строительством метро эффективно использовать надтоннельное пространство, располагая под землей торговые залы, автостоянки, складские помещения и т.п.

Технико-экономические преимущества линий мелкого зало­жения и большие удобства в эксплуатации открывают широкую перспективу их развития в сети как существующих, так и вновь строящихся метрополитенов. Анализ опыта строительства метро­политенов помазывает, что доля линий мелкого заложения в общей протяженности подземных транспортных магистралей подавляющего большинства городов существенно увеличивается. Эта тенденция усилилась в последние годы, поскольку из центра крупнейших городов метрополитен, развиваясь, перемещается в периферийные районы. Так, к настоящему времени больше половины суммарной длины линий Московского метрополитена расположено на мелком заложении. Во многих городах, где строительство метро началось сравнительно недавно, линии рас­положены только на мелком заложении (Ташкент, Минск, Ново­сибирск, Нижний Новгород, Самара, Омск). Такая же ситуация складывается на метрополитенах большинства городов мира.

В связи с постоянно развивающимися объемом и географией метростроения весьма актуальными становится задачи строитель­ства линий мелкого заложения по наиболее прогрессивным проектам, которые дают возможность увеличить темпы работ при минимальном нарушении сложившихся условий жизни города и особенно его наземной транспортной системы.


2. Новая концепция строительства метрополитена на линиях мелкого заложения

2.1. Сущность метода и эффективность его применения

 Анализ опыта строительства метрополитенов в стране показывает, что росту протяженности линий мелкого заложения способствуют не только определенные технико-экономические преимущества строительства и эксплуатации таких линий, но и широкое распространение закрытого способа проходки перегонных тоннелей, что существенно снижает негативное влияние строительных работ на нормальные условия жизни города.  Сооружение перегонных тоннелей метрополитена преимущественно закрытым способом, а станционных комплексов — в открытых котлованах достаточно полно отвечает современным требованиям строительного производства. Благодаря развитой производственно-технической базе и использованию щитовых механизированных комплексов достигнуты высокая производительность труда и большие скорости проходки перегонных тоннелей. Так, темпы щитовой проходки даже к слабых неустойчивых грунтах составляют 100 м/мес. и более, а  рекордные на Мосметрострое — 250-400 м/мес. Сооружая станции в открытых котлованах, строители практически неограниченно используют высокопроизводительные машины и оборудование, широко внедряют крупноблочные железобетонные конструкции и обделку из монолитного железобетона, применяя современное бетоноукладочное оборудование, самоходные опалубки, армокаркасы и армоблоки заводского изготовления.  Однако оценка накопленного опыта строительства метрополитенов на линиях мелкого заложения не будет объективной, если наряду с отмеченными положительными сторонами традиционных конструктивно-технологических решений не вы­разить присущие им недостатки.

В первую очередь отметим, что высокая производительность труда на строительстве линии достигается только по отдельным видам работ и, главным образом, при проходке перегонных тоннелей. В целом же на пусковом участке строящейся линии этот показатель остается низким. Темпы сдерживаются отсутствием задела на новом объекте к моменту завершения работ на предыдущем, а также сложностями организации непрерывного и равномерного строительного производства, такого, где оперативно решался бы вопрос о соотношении подготовительных работ на одних участках, о развороте их на других и завершении на третьих. Непроизводительны затраты времени на периодический монтаж и демонтаж щитовых комплексов.                                            

К недостаткам традиционной схемы организации строительного процесса, при котором все станционные комплексы возводятся одновременно, следует отнести и характерную для экстенсивной технологии потребность в значительных единовременных материальных и людских ресурсах, большом количестве машин, механизмов и оборудования. К сказанному следует добавить, что одновременное сооружение всех станций в котлованах больших размеров существенно осложняет работу наземного транспорта. Так как в этом случае узлы важнейших магистралей города перекрываются одновременно и, как правило, на длительный срок.

Проведенный анализ показывает, что многих недостатков традиционного метода сооружения метрополитена на линиях мелкого заложения можно избежать, если работы на перегонах и на станционных комплексах пускового участка линии объединить в единый технологический процесс. Решить эту задачу можно на основе  поточного  метода организации работ  на  всем  пусковом участке строящейся линии.

Суть новой концепции заключается в беспрерывной (сквоз­ной) проходке перегонных тоннелей на всем протяжении пуско­вого участка строящейся линии (3-4 км) и последовательном сооружении каждого станционного комплекса по мере продвиже­ния через него проходческих щитов.

Работы по сооружению всех станций на новом пусковом участке выполняет одно специализированное подразделение. К строительству очередной станции приступают только после того, как перегонные щитовые комплексы пройдут часть трассы в пределах этой станции.

Очевидно, что последовательная схема возведения станций на пусковом участке увеличивает общие сроки строительства этого участка в сравнении с параллельной схемой и может дать эффект только при значительном ускорении строительных работ на каждом станционном сооружении. С этой целью в развитие новой кон­цепции разработаны принципиально новые конструктивные решения станций и соответствующие способы их сооружения, которые отвечают поставленным требованиям. В отличии от традиционных конструктивных схем, в состав станционной обделки входят элементы обделки тоннелей, пройденных перегонными щитовыми комплексами. Таким образом, станции сооружают с использованием приемов как закрытого, так и открытого способа работ.

Именно эта особенность способствует сокращению сроков сооружения объекта в открытом котловане сравнительно небольших размеров.

Предложенные конструктивные схемы станций и технология сооружения полузакрытым способом позволяют, не прекращая технологического процесса проходки перегонов на линии, значительно сократить трудоемкость работ и строительные сроки за счет уменьшения объема разработки грунта и отказа от свайного крепления стен котлована. Эффект достигается также за счет снижения объема работ по монтажу конструкций, выполняемых только в пределах платформенного зала.

Сужение котлована до размеров посадочной платформы открывает возможность возведения станций в условиях плотной городской застройки, уменьшения количества подлежащих выносу подземных коммуникаций. При полузакрытом способе сооружения станций сокращается время от  начала  разработки  котлована до обратной  засыпки конструкций, что дает возможность быстро восстановить движение транспорта над станцией. Снижению негативного воздействия строящегося метрополитена на работу наземного транспорту способствует и поочередное строительство станций на трассе, что исключает одновременное закрытие важнейших транспортных магистралей города.

Последовательное   сооружение   станций   одним   специа­лизированным  подразделением дает существенную экономик ресурсов, обеспечивает значительный рост производительности труда  (в   1,5-2 раза),  повышает эффективность использования строительных   машин   и   оборудования.   Поточный   метод организации работ позволяет осуществить задел на новом пусковом участке к моменту завершения работ на предыдущем. Возможности предлагаемого метода будут использованы более полно, если предусмотреть (продиктованное местными условиям строительства и особенностями трассы) сочетание участков линий, строящихся по поточному методу, с участками станционных комплексов, где параллельно будут вестись работы традиционными методами. Это позволит обеспечить непрерывный и равномерный строительный процесс. В таких условиях создается режим наибольшего благоприятствования основному производственному звену — строительно-монтажному управлению, расширяется хозяйственная самостоятельность,  предоставляются  необходимые возможности для производственного маневра при сохранении полной ответственности за конечный результат деятельности. Реализация поточной технологии на всем пусковом участке линии потребует наладить дисциплину поставок, резко повысив культуру производства и качество работ, улучшить оперативный контроль за выполнением  графика и осуществить крупные организационно-технические преобразования, включая структурную перестройку и новые формы хозяйствования.

2.2. Конструкция станций полузакрытого способа работ и технология их сооружения

Наличие перегонных тоннелей, пройденных закрытым спосо­бом до начала строительства станции, однозначно определяет и проектном решении использование этих тоннелей в качестве основных или вспомогательных элементов будущей станции. Это послужило поводом к поиску новых подходов и нестандартных решений, отвечающих поставленным требованиям.


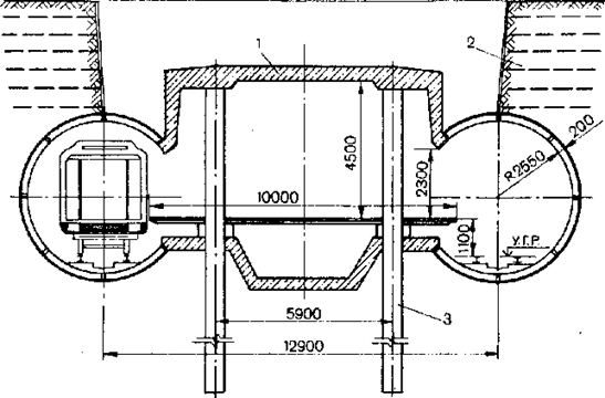
На рис. 2.1. показано возможное конструктивное решение платформенного участка станции колонного типа с обделкой из сборного железобетона. Размеры, определяющие поперечное сечение станции, назначены исходя из габаритов приближения строений и требований действующих норм проектирования метрополитенов, с учетом существующих типовых решений ко­лонных станций открытого способа работ и сборных обделок перегонных тоннелей метрополитена, сооружаемых закрытым способом.

рис.2.1. Конструкция станции колонного типа с плоским консольным перекрытием:

1– обделка путевого тоннеля;

2– консольные плиты сборного перекрытия;

3 – узлы омоноличивания;

4 – стержневая крепь котлована.

 
            Путевые тоннели станции кругового очертания с железобе­тонной тюбинговой обделкой (внутренний диаметр 5,1 м) предназначены только для размещения в них подвижного состава. Поэтому обделка путевых тоннелей разомкнута к оси станции в уровне верхней линии стены вагона на высоте 2,3 м от пола платформы. Кольца обделки имеют частичную перевязку швов за счет включения в обделку тюбингов, длина дуги которых в два раза меньше, чем у обычных. Это позволяет замковые тюбинги расположить по одной линии и использовать их в качестве элемента сопряжения консольной части плиты перекрытия с обделкой путевых тоннелей. В верхней части обделка опирается на консольную часть перекрытия корытообразной формы, а в нижней — в торец лотковой плиты.

Расстояние между осями путевых тоннелей, равное 12,9 м, соответствует принятой в стране ширине междупутья для станций мелкого заложения с 10-метровой платформой. Для сокращения длины консольной части плиты перекрытия колонны расположены в поперечном сечении станции на минимально допустимом расстоянии от края платформы — 1,7 м.

Консольное перекрытие станции может быть выполнено как в сборном, так и в монолитном исполнении. С уче­том   значительных размеров  и   массы сборной консольной плиты перекрытия, ее можно выполнить из двух симметричных элементов, состыкованных по оси станции. В сборном исполнении плиту перекрытия укладывают на ригели, а монолитное  безбалочное перекрытие устраивают непосредственно по колоннам.

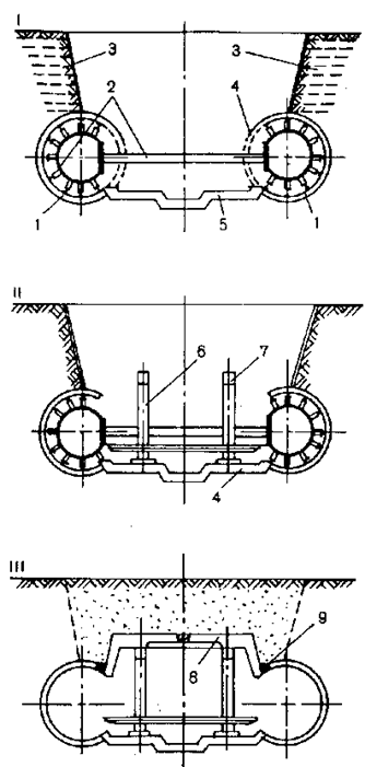
Последовательность   выполнения работ по сооружению станции показана на рис. 2.2. Путевые тоннели   станции   сооружают проходческими щитовыми комплексами   перегонных тоннелей. Затем в этих тоннелях устанавливают   временное подкрепление в виде рам или специального   распорного устройства, после чего приступают к сооружению платформенной   части станции.  Для  этого между тоннелями разрабатывают котлован со стержневым креплением откоса, демонтируют тюбинги временного заполнения обделки путевых тоннелей и устраивают плиту основания.

На подготовленное ос­нование устанавливают два ряда колонн с ригелями, на которые укладывают элементы перекрытия. Их омоноличипают между со­бой, сваривая выпуски арматуры и укладывая бе­тонную смесь в стыки. После набора бетоном омоноличивания проект­ной прочности бетонируют зазор между обделкой пу­тевых тоннелей и консоль­ными выступами плиты перекрытия. Образован­ные таким способом продольные распредели­тельные балки обеспечи­вают плотное опирание разомкнутой обделки на плиты перекрытия и рав­номерную передачу на­грузки. Для обеспечения устойчивости конструкции станции распорную систему снимают после устройства гидроизоляции и обратной засыпки станции грунтом.

Полузакрытый способ работ при сооружении колонной станции обусловливает различные приемы для обеспечения ее водонепроницаемости. Гидроизоляция путевых тоннелей осу­ществляется в соответствии с методами, предусмотренными для сборных железобетонных обделок перегонных тоннелей Метрополитена, а по перекрытию станции и лотковой плите устраивается оклеечная гидроизоляция в соответствии с приемами, разработанными для конструкций открытого спосо­ба работ.


рис.2.2. Последовательность сооружения колонной станции полузакрытым способом

1-    путевые тоннели;

2-    распорные устройства;

3-    стержневая крепь котлована;

4-    тюбинги временного заполнения;

5-    плита основания;

6-    колонны;

7-    ригели;

8-    элементы перекрытия;

9-    продольные распределительные балки;


Рассматриваемый способ сооружении станции включает специальные мероприятия, которые признаны обеспечить устойчивость откоса в верхней части котлована и исключить деформаций и его основании. Учитывая небольшую высоту откоса котлована над обделкой путевого тоннеля, для   закреплении откоса рекомендуется использовать армогрунтовую конструкцию в виде стержневой крепи. Чтобы исключить деформацию обделки путевого  тоннеля   в  слабых   грунтах,   необходимо   предусмотрев распорную систему как внутри тоннели, так и между тоннелями.

Избежать сложной распорной системы подкрепления путевых тоннелей позволяет конструкция станции, показанная на рис.2.3. Ее конструктивная форма мало отличается от рассмотренные выше, но особенность производства работ при сооружении этой станции позволяет обойтись без сложной системы временах подкрепления путевых тоннелей. Колоннами такой станции служат буронабивные сваи, основание которых заглубляют ниже лотковой плиты. Величину заглубления определяют из расчета несущей способности буронабивной сваи в данных инженерно геологических условиях. На сваи-колонны опирается перекрытие, консольные выступы которой омоноличены с обделкой путевого тоннеля через специальные элементы, входящие кольца обделки путевых тоннелей. Таким элементом может служить замковый тюбинг железобетонной обделки, выполненный без спинки, или специально изготовленный стальной элемент, наружные размеры которого соответствуют стандартному замковому тюбингу обделки путевого тоннеля. Жесткую связь обделки с консолью плиты перекрытия обеспечивает арматура плиты, пропускаемая внутрь замкового тюбинга, который затем заполняют бетонной смесью.

Рис. 2. 3. Конструкции станции с буронабивными сваями-колоннами:

1 — монолитный железобетон;

2 — стержневая крепь;

3 — буронабивные сваи;


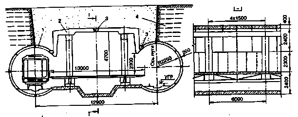
Сооружение станции ведут в следующем порядке (рис. 2.4).   Сначала  про­ходят   путевые   тоннели станции, в кольца обделки которых по одной линии вмонтированы   замковые элементы.  Затем   присту­пают к разработке котло­вана между ними до отметки, соответ­ствующей  низу  перекры­тия  станции.  С этой отметки бурят скважины  и бетонируют сваи-колонны. После   устройства   буронабивных свай по краям котлована вдоль станции разрабатывают дне тран­шеи до обделки путевых тоннелей и приступают к бетонированию монолит­ного   железобетонного перекрытия.

Рис. 2. 4. Последовательность со­оружения станции с буронабивными сваями-колоннами (I-III эта­пы):

1 — путевые тоннели; 2 — замко­вые элементы обделки; 3 — отметка, соответствующая низу перекрытия станции; 4 — сваи-колонны;

5 — монолитное железобетонное перекрытие; 6 — элементы временного заполнения;


            После того,   как  бетон   перекрытия   достигнет   проектной прочности,   устраивают  гидроизоляцию,   производят  обратную засыпку   конструкции   грунтом,   восстанавливают   дорожное покрытие   над  строящейся   станцией   и  открывают  движение юродскою транспорта. Дальнейшую разработку грунта в объеме платформенного чала станции, демонтаж элементов временного заполнения   обделки   путевых  тоннелей,   устройство  лотковой плиты и платформы производят под защитой перекрытия заходками из открытой поперечной камеры, расположенной в торце станционного комплекса,  где установлено необходимое оборудование для обеспечения проходческих и монтажных работ. Достоинство   предложенных   вариантов   конструктивных решений заключается в том, что обделка перегонных тоннелей, возведенная на протяжении станции, является конструктивным элементом всех сооружений станционного комплекса, что позволяет не  прекращать технологический процесс по сооружению перегонных тоннелей на линии. Кроме того, это существенно сокращает трудоемкость работ и сроки сооружения станции за счет уменьшения объема работ прежде всего по разработке грунта и креплению незначительных по высоте стен котлована, а также по устройству в этом  котловане лишь «недостающих» частей станционных сооружений. Предварительные расчеты показывают, что сооружение станции с путевыми тоннелями кругового очертания по сравнению с типовым проектом колонной станций (ТС-109) позволит получить экономический эффект 20-25%.

Уменьшение ширины котлована до размеров  посадочной  плата формы   станции  дает возможность сооружать станцию в условий плотной городской застройки, а также осуществлять  строительство станции  на действующей линии  метрополитена мелкого заложения. В последней случае в обделке участке перегонных тоннелей,  где в перспективе намечено строительство станции, необходимо предусмотреть элементы, позволяющие разомкнуть кольца при сооружении среднего зала по указанной выше схеме.

Опыт строительства метрополитена показывает, что на строящейся линии целесообразно варьирование несколькими конструктивными схемами станций. Не изменяя принципиально приведенные выше конструкции станций, эту задачу можно решить, если придать перекрытию сводчатое очертание (рис. 2.5). Помимо улучшения архитектурных форм станции (при неизмен­ной высоте колонн увеличивается высота среднего зала) в свод­чатом консольном перекрытии достигается более удачное распределение усилий, а консольные его части работают практически исключительно на изгиб.

Примером иного конструктивного решения станции, которое позволяет сохранить принцип поточной технологии работ, основанной на транзитной проходке перегонных тоннелей, может служить полносборная железобетонная станция распорно-рамными конструкциями (рис. 2.6).

Путевые тоннели станции предназначены только для размещения подвижного состава. Обделка этих тоннелей внутренним диаметром 5,1 м включает опорные тюбинги, которые имеют на половине длины срезанные борта и образуют сверчу снизу проема продольные пазы на всем протяжении путевого тоннеля. В пазах расположены продольные балки-перемычки, которые воспринимают нагрузку от разомкнутых колец. Опорами для этих балок-перемычек служат консольные выступы жестко замкнутых рам.



Рис.2.5. Конструкция станции со сводчатым консольным перекрытием

1-    стержневая крепь;

2-    буронабивные сваи колонны;


Рис.2.6. Станция распорно-рамной конструкции

1 – обделка путевых тоннелей

2 – опорные тюбинги;

3 – продольные балки-перемычки;

4 – замкнутая рама с консольными выступами;

5 – стержневая крепь;


Распорно-рамная конструкция станции обеспечивает устойчивость обделки путевых тоннелей в процессе производства работ без каких-либо специальных вспомогательных устройств оборудования.

 К разработке котлована под платформенный зал станции приступают после тога, как бетон омоноличивания сборных и монолитных железобетонных балок достигнет проектной прочности.

Котлован между тоннелями разрабатывают вдоль оси станции захватками по 20-30 м. На этих участках по мере углублен котлована демонтируют тюбинги временного заполнения кольца, в створе с которым будут расположены жесткие замкнутые рамы. Дойдя до отметки лотка станции, бетонируется обратный свод. Затем поперек станции устанав­ливают жесткие  замкну­тые рамы так, чтобы кон­сольные части ригелей за­шли в прорези, образовав­шиеся при демонтаже ко­лец, под балки-перемычки. Стыки элементов рам омоноличивают.   По   рамам укладывают плиты  пере­крытия   и   производят обратную засыпку. Только после  обратной   засыпки демонтируют оставленные между   рамами   тюбинги временного   заполнения обделки путевых тоннелей. Новые   возможности для выбора оптимальных конструктивных и техно­логических решений при полузакрытом   способе сооружения  станции  от­крываются при использо­вании конструктивной схе­мы односводчатой  стан­ции,   обделка   которой представляет  собой  по­логие верхний и обратный своды,   опирающиеся   на массивные опоры круго­вого      очертания. В определенных условиях обратный свод может быть заменен лотковой плитой. Полые опоры свода вы­полнены из монолитного бетона     в     тоннелях, пройденных перегонными щитовыми комплексами. На рис. 2.7 представлены варианты   такой   кон­струкции с  монолитным (а) и сборным (б) исполне­нием верхнего свода.


рис.2.7. Конструкция односводчатой станции


Технология сооружения такой станции чрезвычайно проста (рис. 2.8,а). После проходки опорных тоннелей и бетонирования опор разрабатывают котлован, устраивают обратный свод и платформу. На следующем этапе с помощью передвижной самоходной опалубки бетонируют свод станции монтируют его из двух железобетонных полуарок и производя обратную засыпку.

В  отличие  от традиционных  конструкций  односводчатой станций,  сооружаемых   из   монолитного  железобетона, рассмотренных вариантах значительно снижен расход арматурной стали за счет замены густоармированных стен опорами из монолитного бетона.   Кроме того,  массивные опоры существенно снижают степень воздействия вибрации и шума на расположенные вблизи станции здания и сооружения. Наличие полостей в опорах позволяет использовать их для эффективной вентиляции. Наиболее   важными  являются технологические  преимущества конструкции, обеспечивающие в сжатые сроки выполнение сложных и однотипных работ на всем протяжении станционного комплекса (при размещении под единым сводом всех сооружений комплекса, включая оборотные тупики) и открывающие возможность организации работ по гибкой технологии с учетом конкретных условий строительства.

Так, при необходимости быстро восстановить проезжую часть над станцией в условиях интенсивного транспортного потока, целесообразна организация работ по схеме, показанной рис. 2.8,6. После бетонирования опор котлованы разрабатывает только до уровня опорных тоннелей, демонтируют верхнюю час их обделки, сооружают свод и производят обратную засыпку восстанавливая движение городского транспорта над строящейся станцией. Затем под прикрытием свода ведут разработку грунта в сечении станции, устраивают обратный свод и монтируют платформу. Выдачу грунта, доставку материалов и элементов конструкций производят через поперечные траншеи в торце станции, которые были разработаны ранее.

 В указанной последовательности могут быть выполнены работы и на отдельных участках строительства односводчатой станции местах пересечения ее городскими транспортными магистралям где через котлован в сжатые сроки будут возведены своеобразии арочные мосты, представляющие собой своды перекрытия станции.

И все же расположение станций на пересечении основным магистралей города, в условиях густой сети подземных коммуникаций и плотной застройки требует проведения продолжительных трудоемких подготовительных работ, серьезно нарушаем нормальные условия жизни города. Поэтому в таких условия может оказаться технически целесообразным и экономическим эффективным сооружение участка односводчатой станции не вскрывая земной поверхности. Однако выполнять эти работы на мелком заложении в неустойчивых грунтах (в связи с очевидной опасностью обрушения кровли при раскрытии выработки большого сечения) практически невозможно без применение дорогостоящих и трудоемких специальных способов работ закреплению грунта, продавливанию или устройству защитного экрана из труб.



рис.2.8. Последовательность сооружения односводчатой станции

а, б – полузакрытым способом;

в – закрытым способом;


Не прибегая к специальным методам работ, указанной цели можно достичь, если на участке односводчатой станции с поверхности земли устроить систему тяжей, вдавливая их в слабых грунты или опуская в предварительно пробуренные скважин прочных грунтах так, чтобы их нижние концы входили в проектируемый контур свода (рис. 2.8,в). Верхние концы тяжей закрепляют бетонном покрытии проезжей части. Далее начинают проходку калотты, разрабатывая грунт небольшими заходками от центрами опорным тоннелям. К обнажающимся по мере разработки грунта и выступающим вовнутрь выработки концам тяжей подвешенными элементы временной крепи. Наилучшим вариантом временной крепи в этом случае является набрызг-бетонная крепь в сочетании с решетчатыми арматурными арками, которые до омоноличивания будут крепиться к концам тяжей.

После того как калотгная прорезь будет пройдена на всю участка, приступают к монтажу сборного или бетонирования монолитного   свода   станции.   На   заключительном этапе разрабатывают грунт ядра станции, разбирают временные элементы обделки опорных тоннелей и возводят обратный свод.

Таким образом, предложены новые эффективные конструкции станций на линиях метрополитена мелкого заложения, которые позволяют избегать многих недостатков, присущим традиционным классическим станциям.


Литература

1.    Фролов Ю.С., Крук Ю.А. Метрополитены на линиях мелкого заложения. Новая концепция строительства. Москва, 1994.

2.    Фролов Ю.С. Конструкция и сооружение станций метрополитена. ЛИИЖТ, 1984.

3.    Маковский Л.В. Экономичные способы строительства тоннелей мелкого заложения. Метрострой, 1989, №4, с.30-32.


© 2012 Рефераты, доклады и дипломные работы, курсовые работы бесплатно.