![]() |
||||||||||||||||||||||||||||||||||||||||||||||||||||||||||||||||||||||||||||||||||||||||||||||||||||||||||||||||||||||||||||||||||||||||||||||||||||||||||||||||||||||||||||||||||||||||||||||||||||||||||||||||||||||||||||||||||||||||||||||||||||||||||||||||||||||||||||||||||||||||||||||||||||||||||||||||||||||||||||||||||||||||||||||||||||||||||||||||||||||||||||||||||||||||||||||||||||||||||||||||||||||||||||||||||||||||||||
| Главная Рефераты по международному публичному праву Рефераты по международному частному праву Рефераты по международным отношениям Рефераты по культуре и искусству Рефераты по менеджменту Рефераты по металлургии Рефераты по муниципальному праву Рефераты по налогообложению Рефераты по оккультизму и уфологии Рефераты по педагогике Рефераты по политологии Рефераты по праву Биографии Рефераты по предпринимательству Рефераты по психологии Рефераты по радиоэлектронике Рефераты по риторике Рефераты по социологии Рефераты по статистике Рефераты по страхованию Рефераты по строительству Рефераты по таможенной системе Сочинения по литературе и русскому языку Рефераты по теории государства и права Рефераты по теории организации Рефераты по теплотехнике Рефераты по технологии Рефераты по товароведению Рефераты по транспорту Рефераты по трудовому праву Рефераты по туризму Рефераты по уголовному праву и процессу Рефераты по управлению |
Учебное пособие: ТелевидениеУчебное пособие: ТелевидениеГОСУДАРСТВЕННАЯ АКАДЕМИЯ СФЕРЫ БЫТА И УСЛУГИНСТИТУТ ТЕХНИКИ СЕРВИСА Б. С. РОЗОВТ Е Л Е В И Д Е Н И Е Учебное пособиеМосква, 1997Рецензенты: Волков Ю.А., д.т.н., зав. кафедрой электроники МИФИ; ПетраковА.В., д.т.н., зав. кафедрой автоматизации почтовых операций Московского технического университета связи и информатики (МТУСИ). Розов Б.С. Телевидение: Учебное пособие, ГАСБУ. М., 1997. В настоящем учебном пособии достаточно ярко изложены вопросы теории телевизионных систем. Работа предназначена для студентов, изучающих курс «Телевидение». Лицензия ЛР № 020362 от 14.01.1997 г. Государственная академия сферы быта и услуг, 1997 год. 1. ПРИНЦИПЫ ТЕЛЕВИДЕНИЯ
Окружающие нас предметы в той или иной степени отражают световой поток – либо за счет диффузного (в основном), либо зеркального отражения. Эта способность отражать илиизлучать (самосветящиеся объекты) свет определяет оптические свойства объекта, а световой поток от предметов и их деталей несет зрительную (визуальную) информацию. Если падающий на объект световой поток равен F(), то отраженный поток Fо() зависит от коэффициента отражения (), который так и определяется:
Визуальная информация содержится в световом потоке, поскольку этот световой поток неоднороден в пространстве – и не только за счет разного (). Разной является освещенность деталей объекта, хотя весь он может иметь один и тот же коэффициент (), например, гипсовая скульптура. Зрительная информация переносится световой энергией, попадающей к наблюдателю от точек объекта. Интенсивность и спектральный состав потока от каждой такой точки характеризуют яркость (светлоту) и цвет точки, а направление потока определяют ее пространственное положение. Наблюдатель воспринимает одновременно некоторую часть пространства, ограниченную углом зрения. При этом существует наименьшая пространственная деталь, которую он еще различает, но в ее геометрических пределах уже не различает яркостные или цветовые различия. Размеры этой детали определяют минимальный угол разрешения . Две этих величины – угол зрения и угол разрешения – определяют счетное (т.е. конечное) множество элементов изображения N, т.е. площадок различной яркости или цветности. Элемент изображения – это та часть изображения, в пределах которой все оптические характеристики (яркость, цветность) принимаются одинаковыми, т.е. они могут меняться только во времени. В принципе элемент изображения может быть и гораздо большим, чем следует из разрешающей способности глаза – это зависит от разрешения аппаратуры, а также от желания получить специальные эффекты – например, размывание картинки за счет последовательного уменьшения количества элементов в изображении. Изображение, образованное совокупностью всех элементов изображения, называется кадром. Подход, основанный на принципиально ограниченном количестве элементов изображения, давно используется в полиграфии. Чем выше должна быть четкость (детальность) воспроизводимого изображения, тем больше должно быть элементов n на единицу поверхности. Итак, плоское оптическое изображение может быть представлено множеством интегральных источников, количество которых достигает N5105 (полмиллиона). В каждом из таких световых элементов световое поле характеризуется амплитудой , фазой углами плоскостей поляризации. И все это для пяти аргументов (x, y, z, , t): (x,y,z,,t), (x,y,z,,t), 1 (x,y,z,,t), 2 (x,y,z,,t), 3 (x,y,z,,t) Это и есть наиболее полная математическая модель изображения (М=25). Это означает, что для N элементов дискретного изображения необходимо передавать MN информационных сообщений, где М=25. При передаче данных о состоянии каждого элемента по независимому каналу надо иметь 25 5 105 = 1,25 107 каналов. Это практически невозможно. Полную модель светового поля можно упростить. Для создания оптических изображений используются некогерентные и неполяризованные источники, поэтому функции и 1 можно не учитывать. Даже если источники когерентные и поляризованные, то используемые ныне преобразователи свет-сигнал (также как и человеческий глаз) нечувствительны к фазе и плоскости поляризации. С учетом этого, а также учитывая двумерность изображения, остается модель в виде (x,y,,t) – для цветного изображения. Черное изображение имеет разделяющиеся переменные (x,y,,t)=1(x,y,t)2() = L(x,y,t), т.к. преобразователь свет-сигнал реагирует только на мощность излучения, которая находится путем интегрирования в пределах видимого диапазона произведения ()S(), где S() – спектральная чувствительность преобразователя. Таким образом, каждый элемент изображения описывается функцией Li(x,y,t), а изображение в целом – совокупностью таких функций:
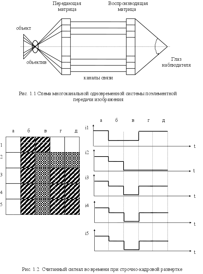
Если принять идею многоканальной телевизионной системы, т.е. системы, обеспечивающей самостоятельный канал связи для каждого элемента изображения на передающей и приемной стороне (рис. 1.1), то координаты (x,y) каждого элемента однозначно определяются каналом связи, поэтому при общем количестве каналов N по каждому из них должно передаваться значение яркости (черно-белое изображение). Для цветного изображения необходимо передавать также значение цвета. Очевидно, что даже такая упрощенная многоканальная телевизионная система нереальна. Реальным телевидение, т.е. передача изображений на расстоянии, стало после появления идеи последовательной передачи световых параметров каждого элемента («точки») кадра в определенном порядке. Такая последовательная передача значений яркости элементов изображения называется «разверткой» изображения во времени. На приемной стороне одновременно с этим происходит процесс «свертки» – в том же порядке производится обход всех площадок кадра и каждая из них засвечивается в соответствии с текущим значением сигнала яркости. Если цикл развертка-свертка повторяется много раз в секунду, то глаз человека в силу своей инерционности воссоздает оптическое изображение как сплошное. Главное преимущество временной развертки изображения заключается в том, что по одной физической линии связи (пара проводов, радиоканал) за счет временного разделения передаются значения яркости всех элементов. Адрес элемента, т.е. его координаты x и y обычно пропорциональны времени t, прошедшему от начала цикла развертки, т.е.: x = k1t, y = k2t В этом случае координаты x,y линейно растут со временем, так что передается только совокупность сигналов Li(t), принадлежащих разным элементам. Очевидным условием временной развертки являются одинаковые моменты начала развертки и ее постоянная скорость во времени (строго говоря, скорость развертки может быть и не постоянной, но развертка на передающий и приемной стороне телевизионной системы должна иметь один и тот же закон изменения во времени). Структура поля изображения, образованного в процессе развертки, называется телевизионным растром. Другими словами, растр – это траектория обхода элементов разворачиваемого изображения. В современных системах телевизионного вещания принята прогрессивная линейно-строчная и линейная кадровая развертки, т.е. последовательная передача элементов изображения с постоянной скоростью и одним и тем же направлением строчной и кадровой разверток. В телевизионных системах специального назначения используются и другие виды разверток (двусторонняя строчная, спиральные и др.). Строки и кадры синхронизируются. Точность синхронизации (синхронность) и постоянство скорости разверток (синфазность) – необходимое (хотя и не достаточное) условие геометрической точности передаваемого изображения. При линейно-строчной развертке телевизионную систему характеризуют числом строк в кадре z и числом кадров nk в секунду (параметры разложения). Получение сигнала изображения при последовательной передаче показано на рисунке 1.2. Видно, что сущность телевизионного анализа изображения сводится к тому, что двумерная функция распределения яркости (освещенности) преобразуется в одномерную функцию времени: L(x,y)u(t) или E(x,y)u(t) Сигнал u(t) (или i(t) мал, поэтому он усиливается, в него замешиваются другие, служебные сигналы (синхронизации, гашения и др.). Для передачи сигнала используют разные виды модуляции – амплитудная, фазовая и др. Применяют также цифровые методы передачи. В приемной части системы полный сигнал изображения подвергается демодуляции и усилению, а затем осуществляется синтез изображения. При синтезе электрические сигналы изображения преобразуются в яркость (или и цвет) элементов изображения, так что одномерная функция сигнала изображения возвращается к двумерной функции распределения яркости на экране. Основная функция синтезатора заключается в объединении процессов декодирования и электронно-оптического преобразования. Обычно для этого используется явление катодолюминесценции – свечение экрана при бомбардировке его сфокусированным электронным пучком. Развертывающим элементом является электронный пучок, интенсивность которого управляется сигналом, пропорциональным Ясно, что синтез изображения возможен тоже лишь при наличии развертки, которая должна быть синфазной с разверткой передающей части (анализатора). В процессе синтеза надо обеспечить геометрическое и светотехническое подобие между оптическим (первичным) и выходным (репродукцией) изображениями. При этом за основу принимается физиологическая точность воспроизведения – когда входное и выходное изображения при наблюдении в одинаковых условиях различаются мало.
Использование понятия «элемент изображения» означает замену непрерывной функции яркости по координатам x и y дискретной функцией яркости по полю изображения (рис. 1.3). Для некоторой строки с координатой yi яркость выражается в виде L(kx,yi), которая отличается от истинной яркости L(x,y), поскольку внутри элемента изображения по любой координате L=const=Lcp. После оптического изображения может быть разложено в ряды Фурье по обеим координатам. В качестве пространственного периода первой гармоники разложения удобно выбирать геометрические размеры изображения: “b” по оси абсцисс и “h” по оси ординат. Очевидно, что при этом всегда присутствует нулевая составляющая яркости (или освещенности, что практически, как будет показано в гл.2, одно и то же), а также некоторый набор гармоник первой пространственной частоты. Непосредственный интерес представляет верхняя пространственная частота вгр, определяемая как обычно через минимальный пространственный период (длину волны) нгр:
вгр
=
Минимальная пространственная длина волны нгр определяется, в свою очередь, как период наиболее мелкой пространственной решетки (рис. 1.4).
нгр
= 2x
, так что
вгр
=
В направлении x изображение состоит из Nx элементов:
Nx
=
А в направлении y , соответственно
Ny
=
Если принять x = y (одинаковое разрешение в горизонтальном и вертикальном направлении), то общее количество элементов изображения N составит:
N = Nx
Ny
=
Отсюда:
В ряде случаев (требования к зернистости люминофора и т.п.) представляет интерес обратная зависимость: N = 4bh2вгрПространственная частота поля изображения и скорость формирования растра (скорость сканирования) определяют, как будет показано позже (гл. 6), требования к полосе частот (временных) аппаратуры телевизионной системы. 1.3. Преобразование изображения в электрический сигнал Для черно-белого телевидения каждый элемент характеризуется мгновенным значением яркости; поэтому при поэлементной развертке образуется сигнал яркости как функция времени. Необходимо преобразовать лучистую энергию в электрический сигнал. Для этого используются фотоэлектрические преобразователи – с внешним и внутренним фотоэффектом. Внешний фотоэффект (А.Г. Столетов, 1890) – появление электронной эмиссии с освещаемой поверхности некоторых металлов и их окислов. Внутренний фотоэффект – изменение проводимости некоторых веществ при их освещении. Пусть в плоскости фотокатода (тонкая полупрозрачная пленка из металла с внешним фотоэффектом) сформировано оптическое изображение, так что энергетическое состояние каждого элемента фотокатода определено освещенностью Ei и его спектральным составом. Значит, с каждого элемента фотокатода эмиттируют электроны, плотность которых j вблизи поверхности пропорциональна освещенности: ji Ei , а поле электронов отображает освещенность элемента изображения. Если теперь полностью отбирать ток электронов, то он тоже пропорционален средней освещенности: ii Ei Если осуществляется поочередная выборка элементов электронного изображения (временная развертка), то получается сигнал изображения i(t), величина которого в каждый момент пропорциональна освещенности разворачиваемого элемента изображения. Каким образом осуществить развертку изображения? В качестве примера рассмотрим механическую систему, позволяющую осуществить последовательное освещение фотокатода с помощью подвижной диафрагмы, равной по площади одному элементу изображения (диск Нипкова). Диафрагмы в виде прозрачных отверстий в непрозрачном диске перемещаются в плоскости оптического изображения, а фоточувствительный элемент (один!) располагается за диском (рис. 1.5). Отверстия в диске размещены по спирали так, чтобы была сплошная развертка (смещены по радиусу на свой диаметр). Диск Нипкова представляет собой оптический коммутатор. В телевизионной системе этого типа (в Москве, 1931 г.) было 30 строк (z=30), частота кадров – 12,5 Гц. Частота кадров равна ¼ частоты сети, что удобно для синхронизации. Полоса частот была малой, что позволяло передавать сигнал по радиовещательному каналу. Второй способ осуществления временной развертки изображения – это перемещение электронного изображения относительно диафрагмы – ловушки по определенному закону. И в этом случае, как и системе с диском Нипкова, в образовании фототока принимает участие только та часть света от данного элемента изображения, которая в этот момент развертывается. Если полный световой поток изображения Fo (отраженный световой поток от объекта), то средний поток одного элемента составит:
F`o
=
а
средний ток
электрического
сигнала i
= iср
= E F`o
= E
Если N
= kz2,
где k
– формат кадра
(k =
i2
= E
Такие системы
называются
системами
мгновенного
действия.
Чувствительность
этих систем
обратно пропорциональна
квадрату числа
строк разложения,
это их главный
недостаток.
Количество
света (экспозиция)
В силу малости сигнала, представляют интерес способы его увеличения. Известны и используются два таких способа.
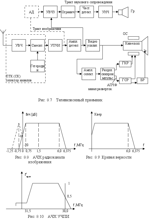
1.4. Обобщенная структурная схема телевизионной системы Телевизионная система (ТВС) – комплекс технических средств, обеспечивающих передачу визуальной информации путем ее прямого и обратного преобразования через электрические сигналы. Обобщенные, обязательные для любой системы устройства и их функциональная взаимосвязь показаны на рис. 1.6. С помощью объектива формируется плоское оптическое изображение на фотокатоде преобразователя свет-электрический сигнал (ПСС). В ПСС лучистая энергия преобразуется в электрическую в ходе развертки изображения, так что на выходе ПСС получается временной сигнал, называемый исходным сигналом яркости Ec, мгновенные значения которого пропорциональны значениям яркости передаваемого в данный момент элемента изображения. Сигнал с выхода ПСС усиливается, и в него вводятся дополнительные (служебные) импульсные сигналы, предназначенные для запирания обратного преобразователя сигнал-свет в перерывах между разверткой строк и кадров (сигналы гашения). Исходный сигнал вместе с сигналом гашения называется сигналом яркости. Для обеспечения синхронности и синфазности используется принудительная синхронизация – 1 раз на период строки и 1 раз на период кадра с помощью специальных сигналов синхронизации, подмешиваемых в сигнал во время передачи гасящих импульсов. Строчные и кадровые синхроимпульсы больше по амплитуде, чем гасящие импульсы, поэтому они выделяются из полного телевизионного сигнала с помощью амплитудных селекторов. Между собой строчные и кадровые синхроимпульсы различаются по длительности. Сигнал, состоящий из сигналов яркости вместе с синхронизацией, называется полным телевизионным сигналом. Полный ТВ сигнал далее поступает в канал связи. Это может быть кабельная, радиорелейная, вещательная, волноводная, спутниковая линия связи, удовлетворяющая требованиям неискаженной передачи ТВ сигнала. В канале связи сигнал может неоднократно подвергаться различным преобразованиям, но на выходе должен восстанавливаться исходный сигнал, который и поступает на усилитель-селектор. Усилитель обеспечивает уровень сигнала, необходимый для управления обратным преобразователем сигнал-свет. В селекторе выделяются синхронизирующие импульсы, которые подаются на управление разверткой ТВ-приемника (синтезатора изображения). Качество ТВ изображения определяется параметрами и характеристиками ТВ системы. Воспроизведение мелких деталей и резких границ участков изображения с разной яркостью (контуров изображения) определяется в первую очередь количеством строк разложения, т.е. количеством элементов изображения. Слитность восприятия импульсных по своей природе сигналов яркости и плавность движений определяются количеством кадров в единицу времени. Число воспроизводимых градаций яркости зависит от динамического диапазона системы. Геометрическое подобие передаваемого и воспроизводимого изображений зависит от точности синхронизации, а также от дифференциального подобия разверток передающей и приемной сторон ТВ системы. Таким образом, выбор параметров системы зависит от качества изображения. С другой стороны, повышение качества влечет за собой усложнение и удорожание системы. Поскольку вещательная ТВ система сделана для зрителя, получателя информации, то ее показатели должны быть компромиссом между приемлемым качеством и приемлемой стоимостью. Еще лучше, если есть выбор из нескольких возможностей, хотя этого в телевидении пока нет (в отличие от радиоприема, где качество звучания и приема в основном зависит от качества приемника, а в эфир «выпускается» сигнал очень высокого качества). Для дальнейшего грамотного, осознанного рассмотрения телевизионных систем необходимо обратиться прежде всего к зрительной системе человека.
Глаз – один из сложнейших органов человека, «световое окно» в мозг. Глаз вместе с мозгом образуют зрительную систему, через которую поступает по разным оценкам от 70 до 90% всей информации из внешнего мира к человеку. Блоки зрительной системы (рис. 2.1) охвачены прямыми и обратными связями, которые создают возможность адаптивной перестройки оптической системы и светочувствительного блока. Оптическая система глаза показана на рис. 2.2. Диаметр глаза составляет 25 мм. Зрачок может менять свой диаметр от 2 до 8 мм (адаптация), что позволяет приспосабливаться в широких пределах световых потоков. Роговица образует переднюю камеру, которая заполнена влагой. Передняя камера и хрусталик образуют оптическую систему с аккомодацией, образующей действительное перевернутое изображение на сетчатке. Плотность хрусталика немного больше плотности воды. Хрусталик состоит из нескольких слоев и может менять свою форму (кривизну передней поверхности), так что меняется действующее фокусное расстояние глаза как оптической системы от 22,8 до 18,9 мм, т.е. глаз обладает способностью менять свою оптическую силу от 60 диоптрий при рассматривании удаленных объектов до 70 диоптрий (близкие предметы). Сетчатая оболочка (ретина) – переплетение волокон зрительного нерва (8105 волокон), которые заканчиваются палочками и колбочками. Количество колбочек - 7106, палочек – 130106; те и другие объединяются в группы и узлы, а потом уже присоединяются к нервным волокнам. В палочках происходят фотохимические реакции на органическом пигменте – родопсине (зрительный пурпур), который поглощает кванты лучистой энергии и создает импульсы в нервном волокне. В темноте пурпур восстанавливается. В колбочках процесс фотохимии не совсем известен. Абсолютный порог чувствительности глаза определяется палочковыми рецепторами (сумеречное, скотопическое зрение) – при больших углах зрения и длительном наблюдении в условиях почти полной темноты глаз чувствует энергию, эквивалентную 1 фотону на 5000 палочек в 1 сек. (1 фотон (=507нм)=3,9210-19Дж). В ряде случаев глаз регистрирует единичные фотоны («поющие электроны», черенковское излучение). Палочки расположены с уменьшением концентрации от зоны максимальной чувствительности (1,7105 1/мм2) к периферии и к центру. Зона максимальной чувствительности находится на расстоянии (10-12)0 от оси глаза. Колбочки имеют диаметр 13 мкм. Это рецептор дневного (фотопического) зрения. Наиболее плотно они располагаются в центральном участке ретины – в желтом пятне, имеющем овальную форму. В центре желтого пятна есть углубление – центральная ямка (фовеа), диаметром 0,4 мм. В фовея есть только колбочки, и плотность их максимальна. Поэтому это место сетчатки образует наиболее чувствительную по остроте зону, там плотность 1,5105 колб/мм2. Колбочковый аппарат имеет цветовую чувствительность, а палочковый аппарат такой чувствительности не имеет.
Зрительная система человека возбуждается колебаниями в диапазоне 41014Гц 8,51014Гц, т.е. волны длиной от 350 до 780 нм и вызывают ощущение света (рис. 2.3). Если есть световой поток, имеющий равномерный спектр (одинаковую спектральную плотность) по мощности в диапазоне 380770 (400-700) нм, то глаз ощущает белый (серый) цвет. Во всех остальных случаях получаются различные ощущения цвета. Как всякое поле излучения, электромагнитное излучение можно характеризовать количественными параметрами. Вопросами метрологии электромагнитного излучения в целом занимается радиометрия. Естественно, что радиометрия покрывает и область видимого света, и ее единую методологию можно было бы использовать и для световых измерений. Однако, исторически сложилось так (именно в силу восприятия человеком области света), что вначале зародилась метрология только в области света, которая получила название фотометрия. Основой фотометрии является свойства статистически среднего глаза человека. Вначале расскажем о радиометрических единицах. В основе их лежат радиометрические единицы – эрги, джоули и др.
Энергия 1
фотона
Величину h удобно использовать в виде: 6,6210-34 Джс
Можно записать:
Для желто-зеленого
(
= 556 нм = 55610-9
м = 55610-7
см) света
Для 1 Вт Nзел = 2,81018 фот/с
Для фотонов
любой длины
волны:
Нужно сказать, что радиометрия и ее единицы используются применительно к световому диапазону практически только в случаях, когда световые потоки используются в технологических целях (нагрев, закалка, резка лазером и т.п.). Во всех остальных случаях преимущественно используется фотометрия. Основная особенность человеческого глаза – различная чувствительность к длине волны света. Экспериментально установлено, сто глаз не только не видит вне диапазона (400-700) нм, но и внутри этого диапазона его чувствительность неодинакова. Максимальная чувствительность среднего глаза находится около 555 нм (зеленый свет), а слева и справа чувствительность падает. Функция чувствительности глаза от длины волны называется функцией видности (спектральная плотность света, т.е. мощность в диапазоне , постоянна). Если глаз освещать одинаковым по мощности световым потоком, но разной длины волны, то ощущение яркости выглядит так, как это показано на рис. 2.4. Здесь речь идет именно об ощущении яркости (светлоты), а не цвета. Кривая чувствительности глаза в логарифмическом масштабе (чтобы лучше ориентироваться в области малых значений чувствительности) приведена на рис. 2.5. Если брать абсолютные значения светового потока, то кривая видности примет вид, изображенный на рис. 2.6. В максимуме кривой видности (для зеленого цвета = 555 нм) 1 Вт световой энергии эквивалентен 683 люменам светового потока. Поэтому считают, что 1/683 Вт/лм – это механический эквивалент света. Считают также, что 683 лм составляют 1 световатт (для любой длины волны). 2.3. Светотехнические единицы Обычно в качестве основной величины для светотехнических расчетов выбирают световой поток P (или F), т.е. мощность потока лучистой энергии, которая измеряется в Вт, фотон/с, свВт или лм. Как говорилось выше, при = 555 нм световой поток мощностью 1 Вт создает световое ощущение в 683 лм. Это световое ощущение и называется 1 свВт (световатт). Для других длин волн мощность в свВт всегда меньше мощности, выраженной в Вт, потому что РсвВт = РВт, где – коэффициент видности, меньший 1 для всех длин волн, кроме = 555 нм, когда он равен 1. Для практической ориентации упомянем, что электрическая лампа накаливания с вольфрамовой нитью мощностью 100 Вт создает световой поток F = 1200 лм, т.е. дает световое ощущение, равное 1,76 свВт. В реальной светопроекционной системе 35-мм киноаппарата на экран попадает уже только 100 лм (т.е. 0,15 свВт), а для 16-мм проектора световой поток на экране составляет только 25 лм (0,04 свВт). Сила света определяется как величина светового потока F в единичном телесном угле , т.е. это плотность светового потока в пространстве.
Сила света в радиометрии измеряется в Вт/стер. В фотометрии сила света измеряется в кенделах: 1 кд = 1 лм/1 стер. Упоминавшаяся 100 Вт лампа накаливания, если ее считать изотропным источником, имеет силу света I = 1200 лм/4 = 95,5 кд. Хотя в качестве исходной фотометрической величины логично выбирать (как мы и сделали) световой поток F, однако за исходную (основную) величину в фотометрии в действительности была выбрана сила света. Кендела определяется как 1/60 фотометрической силы света с 1 см2 поверхности абсолютно черного тела при температуре затвердевания платины (2042 К) и наблюдении излучения в направлении нормали к излучающей поверхности. 2042 К называется фотометрической стандартной цветовой температурой. В качестве вторичного стандарта используют вольфрамовые лампы накаливания. Таким образом, изотропный источник излучения с силой света в 1 кд дает световой поток 4 лм (4 12,56). В действительности изотропных излучателей нет, все они анизотропны. Поэтому надо выражаться достаточно аккуратно, и имеется в виду не просто сила света, а сила света в данном направлении. Поскольку излучатели анизотропны, в том числе лампы накаливания, для их фотометрии берут интегрирующую сферу, у которой коэффициент отражения практически равен 1, а затем измерения ведут через небольшое окно в этой сфере. Полный световой поток сравнивается с известным стандартом (эталоном). Яркость – отношение силы света к излучающей поверхности в нормальном направлении. Т.е. яркость – это сила света с единицы поверхности (обозначают В или L):
где S – площадь светящейся поверхности.
Если направление
наблюдения
составляет
с нормалью угол
,
то Sэфф
= Scos,
поэтому I
= BSэфф
= BScos.
Для неравномерной
(неизотропной)
яркости:
Освещенность
(светимость
– если поверхность
светится) –
поверхностная
плотность
падающего
(освещающего)
потока:
Для изотропного излучателя:
F = I
,
поэтому
т.е. освещенность сферы с радиусом R.
Если направление
наблюдения
составляет
с нормалью к
площадке угол
,
то Sэфф=Scos,
поэтому I
= BSэфф
= BScos.
Можно написать:
Это условие соблюдается для ламбертова излучателя, т.е. излучателя в виде равномерно рассеивающей поверхности, излучающей свет с силой, пропорциональной косинусу угла между направлением излучения и нормалью. К ламбертову излучателю близки обычные диффузные отражатели (белая бумага). Поскольку освещенность и светимость зачастую для внешнего наблюдателя неразличимы (например, свет от Луны), представляет интерес связь между Е и В. Рассмотрим сферу радиуса r, в центре которой находится площадка S, освещенная потоком Fвх и излучающая во все стороны поток Fвых (рис. 2.7). Тогда dFвых = I d, где I = BScos – сила света в направлении ; В – яркость площадки S; d - элемент пространственного угла («угловая щель»);
Sсф = 2r sin r d , тогда d = 2 sin . Так что: dFвых = B S cos 2 sin. Весь выходной поток:
с другой стороны: Fвх = E S, а Fвых = Fвх = E S Приравнивая Fвых и Fвых, получим:
Если = 1, то В и Е – это одно и то же с точностью до множителя .
Или:
В = Е, где Е = фут-ламберт; В = Е/, где Е = люкс, т.е. кд/м2.
Посмотрим,
как связана
освещенность
задней стенки
глаза (сетчатки)
с яркостью
соответствующего
объекта. Заменим
глаз одной
линзой на месте
роговицы (рис.
2.8), которая проецирует
объект площадью
S и
яркостью L,
находящийся
на расстоянии
R
от центра линзы.
На сетчатке
изображение
объекта имеет
площадь .
Сила света от
объекта I
= L
S, а освещенность
в плоскости
зрачка составит
Световой поток F, попадающий в глаз:
q гл – площадь входного отверстия (зрачка) глаза, гл – коэффициент пропускания глаза. Этот световой поток F создает на ретине освещенность Е гл:
Отношение
Для нас существенно отметить, что освещенность участка ретины определяется яркостью объекта, который проецируется на этот участок. Обращает на себя внимание тот факт, что светотехнические единицы обычно слабо понимаются и запоминаются. Частично это объясняется дуализмом подхода (энергетический и фотометрический, т.е. физиологический), а также использованием большого количества названий светотехнических единиц, хотя многие из них связаны постоянными коэффициентами. Поэтому полезно некоторые из этих понятий и единиц собрать воедино и представить в виде таблиц.
Достаточно очевидно, что люмен (лм) = 1/683 светового потока мощностью 1 Вт при длине волны = 555 нм. Кандела (свеча) (кд) = 1 лм внутри телесного угла, равного одному стерадиану (ср). Единицей яркости, кроме нита кд/м2, служит стильб (сб), который равен кд/см2. Единицы яркости (в том числе и несамосветящихся объектов):
Некоторые единицы в отечественной литературе не используются, однако еще имеют употребление в англоязычных материалах. Подобная таблица полезна также для единиц освещенности:
Иногда употребляют также такую единицу освещенности, как фотон, которая определяет освещенность сетчатки глаза при наблюдении поверхности с яркостью 1 кд/м2 и площади зрачка 1 мм2. Для практической ориентации проведем значения яркости некоторых объектов в нит: Поверхность Солнца – 1,6 109 Наиболее яркая точка 60-Вт лампы накаливания с матовым стеклом – 120000 Наиболее яркие кучевые облака – 40000 Белая бумага под прямыми лучами Солнца – 30000 Ясное безоблачное небо – 7000 Яркие участки Луны – 7000 Белая бумага на столе – 85 Телевизионный растр – 70 Белая бумага при свете Луны – 0,03. 2.4. Энергетические характеристики зрения Энергетические характеристики зрения позволяют говорить об абсолютных значения световых величин, при которых глаз нормально функционирует. Не говоря о цветовых ощущениях (это будет позже), остановимся только на восприятии яркости оптического изображения. Яркостный диапазон глаза очень велик благодаря наличию двух типов рецепторов. Палочковый аппарат реагирует от 10-6кд/м2, глаз реагирует даже на единичные фотоны. При яркостях 10кд/м2 палочковый аппарат ослепляется, но уже с 1кд/м2 вступает в действие колбочковый аппарат, который работает до 104кд/м2. Глаз не может одновременно воспринимать свет во всем диапазоне и поэтому существует механизм адаптации, способный в 100 раз изменить освещенность сетчатки за счет расширения и сужения зрачка («настройка на диапазон»). Это быстрая адаптация. Кроме того, есть медленная адаптация – за счет выработки глазного пурпура – нейтрального поглощающего фильтра – на поверхности сетчатки (инерционная адаптация). Яркостный диапазон называют также интервалом яркостей:
Следует различать восприятие абсолютного значения яркости (абсолютный порог восприятия яркости) и восприятие изменений яркости. Абсолютный порог яркости – минимальное значение яркости, которое обнаруживает (фиксирует) глаз на черном фоне при полной адаптации. Как уже говорилось, глаз в принципе может ощутить даже единичные фотоны. Говоря об абсолютной чувствительности, следует также иметь в виду, что кривая видности глаза зависит от абсолютной яркости (явление Пуркинье). При низких уровнях освещенности визуальные фотометры не согласуются с теми фотометрами, которые соответствуют фотопической кривой видности. А именно – при меньших яркостях (кривая 2, рис. 2.9) смещается в сторону более коротких волн, т.е. чувствительность к синим лучам растет и падает к красным. Восприятие глазом изменений яркости. В общем случае яркость наблюдаемого изображения может меняться плавно или скачкообразно. В последнем случае можно говорить о яркостных (т.е. и пространственных и временных) границах изображения. Естественно, что «скачкообразно» означает тот факт, что глаз уже различает величину изменения яркости на границе (т.е. при скачке яркости), в противном случае мы имеем плавное изменение яркости. Если имеется скачкообразное изменение яркости, то вводят понятие контраста яркостной границы (контраста яркости):
где L1 – яркость 1 части изображения; L2 – яркость 2 (последующей) части изображения. Это выражение характеризует контраст перехода. Можно говорить о контрасте изображения, состоящего из двух полей, если величину (L1-L2) относить к средней яркости этих полей:
Если количество яркостных полей больше, чем 2, то средняя яркость по-прежнему получается усреднением всех полей. Можно говорить о яркости (средней) ТВ экрана по отношению к фону (ТВ и фоновая засветка).
Средняя
яркость особенно
оправдана,
когда геометрические
размеры полей
изображения
близки друг
к другу. Если
при этом близки
и яркости этих
полей, т.е. L1L2,
то: Lср
L1
L2,
и контраст
Максимальный
контраст изображения:
В этом случае определяющую роль в величине контраста начинает играть L=L1-L2. Когда величину L глаз перестает замечать, то пропадает и сама яркостная граница. Тем не менее, при «накоплении» изменения яркости можем говорить об изменении L на некоторую предельную малую величину L. Естественно, что если яркость плавно меняется с геометрической координатой X, то заметному для глаза изменению L будет соответствовать достаточно протяженная величина X, т.е. само понятие «геометрическая граница» тоже меняется – она становится неопределенной, размытой в пределах X. Экспериментально обнаружено, что величина L, которая замечается глазом, не является постоянной величиной – она меняется в зависимости от той яркости, на фоне которой она появляется – она мала при небольших L, и наоборот – при больших L глаз замечает только большие абсолютные изменения яркости.
Было найдено,
что минимальное
заметное приращение
ощущения
пропорционально
относительному
разностному
порогу
Эта дифференциальная зависимость называется законом Вебера-Фехнера. Решим это уравнение: = klnL+D Если LLmin, то = 0 (глаз не чувствует). Тогда: = klnLmin+D, отсюда D=-k lnLmin.
В результате
получим закон
Вебера-Фехнера
в интегральном
виде:
Видно, что
ощущение яркости
пропорционально
логарифму
отношения
яркости к минимальной
яркости. Этот
закон справедлив
в диапазоне
яркостей от
десятых долей
кд/м2
до103
кд/м2
(область
«а» на рис. 2.10),
где
Оценим в области действия закона Вебера-Фехнера (область а) количество градаций яркости, которые может заметить глаз. Пусть «нулевой» уровень яркости равен Lmin (чуть ниже того, что глаз уже замечает). L0 = Lmin.
Первый замечаемый
уровень: L1
= Lmin
+ L
=
Второй: L2
= L1
+ L
=
Отсюда
После логарифмирования:
Отношение
Как видно из выражения для n, количество градаций n зависит от порога n и контраста наблюдаемого изображения (рис. 2.11). Рассмотренная зависимость числа градаций от n и С позволяет оценить требования к динамическому диапазону яркости и контрастности изображения на экране телевизора. Реально контраст на экране лежит в диапазоне от 30 до 100. 2.5. Временные характеристики зрения Пороговая энергия, которую ощущает глаз, определяется той суммарной энергией, которая попадает на глаз за время его засветки (экспозиции) tп. Эта величина постоянная и определяется в некотором диапазоне длительности светового импульса и частоты повторения: Ftп = const.
Если поток
F в
течение экспозиции
непостоянен,
то глаз реагирует
на величину
Как быстро глаз реагирует на изменение яркости? Эта экспериментальная зависимость также определяется перепадом яркости (рис. 2.12). Из рисунка видно, что постоянная времени реакции p не менее 0,1с. При прекращении раздражения глаза светом (или спадом интенсивности облучения) зрительное ощущение также пропадает не мгновенно, а в течение определенного времени. Можно, таким образом, говорить об инерционности зрения, которая определяется конечной скоростью протекания фотохимических реакций в рецепторах сетчатки, конечной скоростью передачи сигнала в мозг и его последующей обработки. На инерционность зрения оказывает влияние также изменение положения объекта в пространстве. Практически очень важным случаем является периодическое воздействие на глаз светового потока. В этом случае можно построить визуальное восприятие яркости L в зависимости от истинной яркости В (рис. 2.13). Видно, что L меняется по закону, близкому к экспонециальному с постоянной времени , равной (0,1 0,15)с. Интересно отметить, что ощущение звука имеет = 0,16с. Поскольку глаз инерционен, то при увеличении частоты следования световых импульсов видимый (ощущаемый) перепад яркости уменьшается, а затем при некоторой критической частоте пульсации яркости становится незаметным. Эта критическая частота (рис. 2.14.): fkp = a lgL + b, где a и b – постоянные коэффициенты, зависящие от скважности импульсов, их формы и спектрального состава света. Для L = 30 кд/м2 (белый свет), скважности 2 (a = 9,6; b = 65) критическая частота: fкр = 41 Гц. Именно fкр определяет частоту смены кадров в кино и ТВ. (Кстати, у насекомых fкр200 Гц).
Если частоты
мельканий выше
fкр,
то яркость
воспринимается
как постоянная
величина, равная:
Это закон Тальбота. Можно утверждать, что современное кино и телевидение зиждятся на инерционности зрения. Можно напомнить, что слитность движений наступает уже при 16 Гц. 2.6. Пространственные характеристики зрения (рис. 2.15) Угол зрения одного глаза составляет 140-160о, двух глаз – более 200о. В этом случае говорят также о поле бинокулярного зрения, которое образуется взаимопересечением конических фигур с вершинами в каждом глазу и ограничениями из-за деталей лица (нос, брови, скулы). На поле зрения выделяют области, достаточно резко различающиеся между собой: Центральное зрение (4о), ясное зрение (до 35о по горизонтали, до 22о по вертикали), периферическое (боковое) зрение (75-90о). Из диапазона ясного зрения следует формат 3:4, который обычно и используется в ТВ и в кино. Поле ясного зрения увеличивается, а также пропадают «провалы» (напр., слепое пятно) за счет почти непрерывного движения («дрожания») глаз. Эти движения синхронны для обоих глаз и называются саккадическими движениями. При расстоянии до объекта 30 см (чтение текста) саккадические движения позволяют просмотреть пространство в 5 букв за 15-20 мс. Для других значений угловых перемещений требуются большие времена:
Оба глаза фокусируются на объекте одновременно, при этом обе зрительные оси сходятся в общей точке. Процесс сведения осей называется конвергенцией и происходит за 165 мс. Угловая разрешающая способность глаза оценивается минимальным углом зрения min под которым видны две рядом расположенные детали изображения, разделенные промежутком, имеющим яркость, отличную от яркости этих деталей (рис. 2.16). Величина min зависит от следующих факторов. 1. Дифракция света на зрачке. Свет проходит через зрачок диаметром dзр ( 8 мм). По принципу Гюйгенса, каждая точка зрачка излучает (рис. 2.17). Если расстояние от центра зрачка до точки a равно f, то при некотором r освещенность становится равной нулю, потому что лучи 1 и 2, 2 и 3 и т.д. различаются на /2. При разности хода лучей в /2 получаем:
При учете того факта, что интерференция происходит не на отрезке dзр, а на диске диаметром dзр, получим:
Диаметр первого кружка рассеяния интерференционной картины можно определить в зависимости от критерия выбора его границы. Если взять критерий Рэлея, когда максимум изображения одной точки совпадает с первым минимумом второй точки (рис. 2.18), т.е. провал интенсивности составляет 27%, тогда:
Для = 500 нм, dзр = 5 мм, min = 0,03. Это теоретический предел разрешающей способности глаза за счет дифракции. 2. Дискретность структуры чувствительного поля глаза. Для различения двух точек изображения надо, чтобы между двумя возбужденными рецепторами был хотя бы один невозбужденный. В желтом пятне расстояние между центрами смежных колбочек составляет 2 мкм, т.е. расстояние между возбужденными рецепторами r0 должно быть не менее 4 мкм, что составляет min 0,06. 3. Другие причины ограниченного разрешения – хроматическая аберрация в хрусталике и др. Особенно сильно сказывается уменьшение яркости – за счет увеличения размеров рецептивных полей. Оценивая разрешение глаза в целом, можно сказать, что при яркости 100 кд/м2 и предельном контрасте ( 100) наименьший угол зрения составит около одной угловой минуты. Отсюда, зная яркость изображения, размеры изображения и расстояние до экрана, можно определить максимальное число элементов разложения. Однако выше речь шла о предельных значениях, т.е. о предельно большом количестве элементов разложения. А сильно ли сказывается зрительно уменьшение числа элементов разложения от предельно большого, определяемого разрешающей способностью глаза? Эксперимент (Рыфтин, 1933) показал, что кажущееся изменение четкости G пропорционально относительному изменению числа элементов разложения N изображения:
Или:
Отсюда: G = lnN + C При N = 1, G= 0 (нулевая четкость), т.е. С = 0.
При G
= 1, N = Nmax,
т.е.
Итак:
G принимается равным 1 при любом N, выбранном как Nmax, а затем идет ухудшение четкости G при уменьшении их общего количества до N. Если Nmax = 85104 (800 строк, формат 4/3), то графически (рис. 2.19) видно, что изменение числа элементов изображения вдвое уменьшает кажущуюся четкость изображения на 5,1%, но при малом Nmax четкость G падает очень сильно.
3.1. Согласование параметров телевизионного изображения (ТВИ) с характеристиками зрительной системы человека ТВИ – вторичное оптическое изображение, которое должно по своим характеристикам удовлетворять зрителя. Среди них: геометрические формы и относительные размеры, различимость деталей, распределение яркости, передача относительного движения предметов, цветность и др. Особенности прикладного ТВ – отдельные свойства могут быть другими по сравнению с вещательным ТВ, где получателем визуальной информации является зрительная система человека. Поэтому для вещательного телевидения параметры ТВИ должны быть статистически согласованы с параметрами зрительной системы. Согласованию подлежат масштабные, яркостные и цветовые параметры ТВИ. В литературе приняты три понятия точности воспроизведения:
Физическую точность получить трудно и даже невозможно из-за ограниченных возможностей технических средств. Часто в этом и нет необходимости, т.к. вступают в действие ограничения зрительно-анализирующей системы. Поэтому в вещательном телевидении к физической точности не стремятся, ограничиваясь физиологической и (или) психологической точностью. Физиологическая точность требует объективных методов контроля (измерение яркости, координат цветности в первичном и телевизионном изображениях), а психологическая точность определяется путем субъективных методов (экспертные оценки качества изображения). В общем случае ТВИ характеризуется многими параметрами: размерами, форматом, четкостью, степенью геометрических искажений, наличием окантовок; яркостью, контрастом, количеством градаций яркости, цветовыми параметрами и др. Часть из них определяется только приемником, основная же часть определяется выбранными параметрами системы – числом строк разложения, количеством кадров в секунду, формой амплитудно- и фазо-частотных характеристик тракта, отношением сигнал/шум. Почти все они могут быть по отдельности измерены, однако в целом качество ТВИ производится путем субъективных экспертиз. Применяют 5-балльные шкалы оценок:
В начале эксперимента показывается «опорное» (исходное) изображение, а потом вводятся всякие новации и дается оценка.
К ним относятся размер изображения, геометрическое подобие, способность воспроизведения мелких деталей. Размер. Наилучшим условием восприятия плоского изображения является удаление его от глаз на расстояние А, равное 46 высотам изображения h – в этом случае все изображение остается в поле ясного зрения. С этого расстояния зритель перестает различать линейчатую структуру изображения, если число строк составляет (500600). Отсюда: h 0,2А. Для жилой комнаты А = (2,02,5) м , тогда h = (0,40,5) м. Для большого зала, рассчитанного на большое количество зрителей, должен расти размер экрана. Формат кадра – отношение ширины ТВИ «b» к высоте «h». В соответствии с полем зрения человека формат кадра K составляет 4:3 (1,33:1). Такой же формат был в немом кино, в звуковом кино формат 11:8 (1,37:1). Для телевизионной системы высокой четкости (ТВЧ) формат предполагается 5:3 (1,67:1). Для обычных слайдов 24:35мм2 формат 1,45:1. Формат воспроизводимого изображения может отличаться от передаваемого, потому что размер кинескопов имеет отношение сторон 5:4 (1,25:1), что вызвано соображениями его механической прочности. Поэтому если по вертикали кинескоп используется полностью, то по горизонтали 6% изображения (1,33:1,25=1,06) пропадает. Геометрическое подобие – сохранение постоянным масштаба в любом месте ТВИ. Причина несохранения масштаба – неодинаковые скорости развертки при передаче и приеме. К нарушению геометрического подобия приводят также изменение формата кадра, искажения, вносимые световой и электронной оптикой (дисторсия и др.), влияние внешних электрических и магнитных полей, неортогональность отклоняющих полей (параллелограмм вместо прямоугольника) и др. Это все называют также растровыми искажениями. К растровым искажениям относят прежде всего координатные искажения, которые можно оценивать количественно в виде отклонения координат ТВИ от того идеального изображения, которое имеет только масштабные отличия от оригинала. Можно считать координатные искажения как дифференциальные искажения масштаба. В ТВ приемнике обычно бывают искажения, показанные на рис. 3.1.
Из-за нелинейности разверток тоже возникают искажения, которые можно оценить путем измерения искажений при передаче шахматного поля (рис. 3.2.).
Нелинейность до 5% практически незаметна, при нелинейности до 15% изображение воспринимается как удовлетворительное. Коэффициент нелинейности развертки определяется как:
Детальность изображения может быть определена числом элементов в изображении N или числом элементов по высоте z (число строк в растре), т.е. является внутренним свойством телевизионной системы. При линейной строчной развертке z определяет число строк в растре, что называется номинальной четкостью ТВИ. Как было показано в гл.2, при обычных яркостях глаз обладает разрешением 1. Поэтому (рис. 3.3.): для А=5h желательное число строк составляет:
Экспериментально установлено, что минимально различимый прирост четкости G в вертикальном направлении пропорционален относительному приращению числа строк z/z, т.е.:
Тогда:
У нас z = 625, т.е. G = 0,95Gmax, где Gmax – максимально возможная четкость при z= 660. В настоящее время для ТВ вещания принято два стандарта: z = 625 (большинство стран) и z = 525. В системе ТВЧ предлагается увеличить число строк до 1125 и более. Результирующим параметром, количественно характеризующим разрешающую способность ТВ системы, может служить четкость ТВИ, оцениваемая по испытательным таблицам.
Четкость
изображения
тем выше, чем
выше резкость
и детальность.
Резкость
характеризуется
максимальной
величиной
Практически четкость изображения, т.е. и разрешающая способность ТВ системы оценивается максимальным числом темных и светлых штрихов (линий), которые еще можно раздельно различать на ТВИ при данных условиях наблюдения. С этой целью на испытательных таблицах есть вертикальные клинья (сужающийся набор линий) для оценки разрешающей способности по горизонтали и зонные решетки (короткие горизонтальные штрихи с разной частотой следования) для определения разрешающей способности по вертикали. Рядом с ними делаются отметки в числе линий (300, 400 и т.д.). Следует отметить, что максимальное количество горизонтальных полос, которое можно воспроизвести при помощи принятого стандарта разложения, зависит еще и от характера изображения. Так, если элементарная площадка на первичном изображении совпадает с центром линии развертки, то четкость по вертикали равна активному количеству строк в кадре (575 из 625). Если же центр этой площадки расположен на границе строк, то площадка может быть воспроизведена либо на двух строках, либо на одной (это зависит от порога схем), либо «размажется» на 2 строки. Т.е., в принципе возможно падение разрешения вдвое. Реально считают четкость по вертикали, равную (0,750,85) от количества активных строк (432489 элементов). Если исходить из равной четкости по вертикали и по горизонтали, то вдоль каждой строки должно быть:
Nx
= (432489) 3.3. Временные параметры ТВИ Современное телевидение создает зрительную иллюзию двумерного изображения при выполнении некоторых условий согласования временных характеристик глаза и телевизионной системы. Критическая частота мельканий зависит от средней яркости поля наблюдений и размеров мелькающего участка. Было показано, что при яркости L = 100 кд/м2 эта частота составляет fкр = 41 Гц. Если брать цветное изображение, то для желтого цвета критическая частота такая же, а для красного и синего – ниже. Выбрано: fn = 50 Гц, это больше fкр и совпадает с частотой сети. Из опыта кино известно, что движение, передаваемое рядом промежуточных неподвижных изображений, кажется (воспринимается) плавным, если передавать 16-25 фаз движения nф. Т.е. 2nф fкр. Поскольку пропускная способность зрительной системы человека не очень велика – для распознавания образа надо его держать на экране 4-10 сек. В принципе целесообразно удерживать в ряде случаев «картинку» достаточно долго без передачи сигнала. Однако современные телевизионные системы не позволяют исключить имеющуюся избыточность. Важнейшую роль для качества передачи изображения играет стабильность синхронизации строк и кадров, стабильность во времени коэффициентов преобразования свет-сигнал и сигнал-свет. Это связано с тем, что заметность динамических искажений на порядок выше по сравнению со статическими. Например, статические искажения растра (нелинейность масштаба и т.п.) не замечаются зрителем, если они даже достигают 10%, а быстрые изменения заметны уже на уровне долей процента. 3.4. Параметры, определяющие восприятие яркости, цвета Яркостные параметры ТВИ задаются его средней яркостью и числом воспроизводимых градаций яркости. Яркость наилучшего восприятия зависит от условий наблюдения, свойств зрения и даже содержания изображения. Хотя диапазон яркостей в природе 105, однако глаз воспринимает «по диапазонам». Повторим, что для предельного случая (черный бархат на белом снегу) диапазон яркостей 100. В принципе в ТВ может быть и больший диапазон яркостей, поскольку экран – светящаяся поверхность (излучающая). Однако всегда есть внешнее освещение, которое снижает контраст за счет увеличения яркости в темных местах изображения. Считается, что при хорошем диапазоне яркости его величина достигает 100, а при удовлетворительном (3040). Средняя яркость 30 кд/м2 достаточна для наблюдения. В наиболее светлых местах изображения яркость достигает 200 кд/м2. Средняя яркость сцены может меняться в зависимости от условий освещения, поэтому в общем случае должен передаваться сигнал средней яркости.
Как уже говорилось,
внешняя засветка
уменьшает
диапазон яркостей,
т.е. контраст.
Без внешней
(фоновой) подсветки
В некотором диапазоне яркостей глаз «работает» по закону Вебера-Фехнера:
Т.е. пропорциональное воспроизведение полутонов будет в случае, когда: lgL = lgL0 + lgK, или L = KL0, где
и К определяется
путем подстановки
в эти уравнения
значений Lmax,
Lmin,
Lo
max и
Lomin:
В принципе возможны три случая воспроизведения (рис. 3.4.): 1 случай – нормальная контрастность, когда = 1, L = CLо (кривая 1); 2 случай – повышенная контрастность: 1 – здесь одна градация объекта передается несколькими градациями изображения; 3 случай – пониженная контрастность: 1 – одна градация изображения соответствует нескольким градациям объекта. Если диапазон яркостей объекта больше диапазона яркостей ТВИ, то полное использование большего диапазона возможно только в случае меняющейся адаптации глаза, обеспечивающей изменение . Особые затруднения возникают при 1 в цветном телевидении, т.к. надо обеспечивать сквозную характеристику для разных цветов.
4. ПРЕОБРАЗОВАТЕЛИ ОПТИЧЕСКОГО ИЗОБРАЖЕНИЯ В ЭЛЕКТРИЧЕСКИЙ СИГНАЛ 4.1. Датчики ТВ сигнала и их характеристики Датчики ТВ сигнала преобразуют световую энергию от объекта, попавшую на светочувствительную поверхность датчика, в электрический сигнал для последующей обработки, передачи, хранения и воспроизведения. Яркость (освещенность) оптического изображения зависит от координат x, y и времени t, поэтому преобразователь должен оценивать (измерять) яркость участков изображения в процессе их развертки. Как уже говорилось (гл. 1), различают два основных типа преобразователей – мгновенного действия и с накоплением. По физике действия они делятся на оптико-механические, электровакуумные и твердотельные. Оптико-механические (все мгновенного действия) могут быть с бегущим лучом или с «бегущей апертурой» по оптическому изображению (диск Нипкова). Электровакуумные преобразователи бывают как мгновенного действия, так и с накоплением. Сейчас это основной тип телевизионных преобразователей (анализаторов). Твердотельные преобразователи представляются наиболее перспективными, особенно для цифровых систем. Характеристики фотоэлектрических преобразователей (ФЭП) во многом определяют качество ТВИ. среди характеристик выделим следующие. Чувствительность – величина, обратная освещенности фоточувствительной поверхности (ФП), необходимой для получения ТВ сигнала с заданным отношением сигнал/шум. Чувствительность оценивают в лк. Световая характеристика – зависимость тока сигнала ФЭП от освещенности ФП. Из этой зависимости, в частности, виден диапазон, в котором может работать ФЭП. Спектральная характеристика – зависимость сигнала от длины волны равноинтенсивного излучения, падающего на ФП. Она может выходить за пределы видимого излучения, что бывает полезно для прикладных ТВ систем. Разрешающая способность – свойство реагировать на мелкие детали оптического изображения. О разрешающей способности можно судить по апертурной характеристике, которая определяет связь между глубиной модуляции сигнала и размерами передаваемых деталей изображения. Инерционность – запаздывание изменения ТВ сигнала относительно изменения освещенности ФП. Она, в частности, проявляется в виде тянущегося следа и размывания границ движущихся объектов ТВИ. Для этого обычно оценивается величина остаточного сигнала относительно максимального через промежуток времени, равный длительности кадра. Указанные характеристики и параметры преобразователей не исчерпывают всех показателей. Есть и другие показатели: вес, размеры, стоимость, долговечность, вибростойкость и др., которые хотя здесь и не рассматриваются, но могут играть решающую роль при выборе ФЭП. 4.2. Фотоэлектронные эффекты Фотоэлектронная эмиссия лежит в основе всех приборов, использующих внешний фотоэффект, когда при облучении светом некоторого материала из него вылетают электроны. На этом принципе работают фотоэлементы, фотоэлектронные умножители (ФЭУ), передающие ТВ трубки и др. Фоточувствительная поверхность служит фотокатодом. Между катодом и анодом (коллектором) приложено собирающее (и ускоряющее) электрическое поле. Если собираются все электроны (ток насыщения), то работа ФЭП описывается двумя законами:
Эмиссия
происходит
при h
> е 0.
Если известен
потенциал
выхода о,
то он определяет
длинноволновую
(красную) границу
фотоэмиссии:
Спектральные характеристики фотокатодов зависят от их материалов. Фотокатоды из чистых металлов имеют малую чувствительность. Для многокомпонентных катодов чувствительность значительно выше. На рис. 4.1. приведены две нормированных характеристики фотокатодов: 1
– оксидно-серебряно-цезиевый
катод, чувствительностью
S = (4070)
2
– многощелочной
фотокатод,
чувствительность
которого доходит
до 200 В силу различной чувствительности фотокатода для разных длин волн излучения пользуются понятием интегральной чувствительности фотокатода:
где () – функция видности глаза. В отличие от внешнего фотоэффекта, внутренний фотоэффект не связан с вылетом электронов за пределы обучаемого материала. В качестве материала используются полупроводники, в которых при соблюдении некоторых условий кванты излучения вырывают электроны из атомов. Эти электроны переходят из заполненной зоны в зону проводимости, сильно меняя локальную проводимость материала, а затем рекомбинируют с дырками. Скорость рекомбинации возрастает с увеличением концентрации электронов (и дырок), а скорость их генерации зависит только от освещенности, поэтому скорость рекомбинации «подтягивается» к скорости генерации через некоторое время после изменения уровня освещенности. Таким образом, установившееся значение локальной проводимости зависит от освещенности Е в каждом месте освещаемого полупроводника. Время установления нового значения проводимости зависит от химического состава материала, конструктивных особенностей и величины светового потока. Эти же факторы определяют и величину внутреннего локального фототока: iф = KE, где К – коэффициент пропорциональности, - показатель, зависящий от перечисленных факторов. Обычно лежит в диапазоне (0,51,0). Так же, как и для внешнего фотоэффекта, внутренний фототок зависит от спектрального состава света, начиная с «красной границы» кр = (h)кр. Внутренний фотоэффект имеет большое преимущество по причине высокого квантового выхода, превышающего 100%. В телевизионных преобразователях обычно используют полупрозрачный фотокатод (независимо от вида фотоэффекта), который имеет толщину от 20 до 40 нм. 4.3. Формирование и перенос электронного изображения Электронное изображение – поток электронов, распределение плотности которых соответствует распределению освещенности оптического изображения, спроецированного на фотокатод. Иногда это электронное изображение переносится на некоторое расстояние от фотокатода и перемещается (качается) в пространстве. Необходимое условие формирования электронного изображения – надо собрать все электроны, вылетевшие из одной точки фотокатода, вновь в одной точке в плоскости переноса. Для переноса и фокусировки электронных пучков применяют длинные фокусирующие катушки, создающие однородное магнитное поле во всем пространстве движения электронов. Схема движения электронов в однородном магнитном поле показана на рис. 4.2,а. Здесь S – плоскость фотокатода (ОИ), S1 – плоскость переноса, L – магнитная катушка, которая создает поле НZ. Ускоряющее поле VA переносят электроны от фотокатода направо. Из точки ОR фотокатода вылетают электроны с разными радиальными составляющими скорости VR. Магнитное поле воздействует на электрон (сила Лоренца): FЛ = eHzVR , где е – заряд электрона. Эта сила перпендикулярна оси z и закручивает электрон, т.е. направлена к центру (центростремительная сила). Эта сила создает траекторию в виде окружности, для которой известна связь между скоростью и радиусом:
При Fц = FЛ найдем R:
а время обхода
этой окружности
Видно,
что время t
не зависит от
угла вылета
(от VR).
Отсюда следует,
что все электроны,
вылетевшие
из т.О1,
будут в виде
«веретена»
собраны в т.
Плоскости
|
|||||||||||||||||||||||||||||||||||||||||||||||||||||||||||||||||||||||||||||||||||||||||||||||||||||||||||||||||||||||||||||||||||||||||||||||||||||||||||||||||||||||||||||||||||||||||||||||||||||||||||||||||||||||||||||||||||||||||||||||||||||||||||||||||||||||||||||||||||||||||||||||||||||||||||||||||||||||||||||||||||||||||||||||||||||||||||||||||||||||||||||||||||||||||||||||||||||||||||||||||||||||||||||||||||||||||||
| Параметр |
ЧБТ ОС-110Л для 61 ЛК2Б |
ЦТ ОС-110 ПЦ 67 ЛК 110 Ц |
| горловины, мм | 28,6 | 29 |
|
Индуктивность двух строчных катушек L мГн |
3 0,15 |
0,31 0,02 |
|
Активное сопротивление катушек Ом |
7,8 0,8 |
1,5 0,12 |
|
Ускоряющее напряжение в зоне отклоняющей системы UA кВ |
16 |
25 |
|
Амплитуда отклоняющего тока строчного А кадрового А |
0,5 0,45 |
3,0 2,7 |
|
Ампервитки катушек строчных кадровых |
170 304 |
460 340 |
|
Амплитуда импульсного напряжения обратного хода на строчных катушек В |
940 |
585 |
5.3. Эквивалентная схема отклоняющей системы
Разница в строчной и кадровой развертках по частоте повторения составляет 300 раз ( 15 кГц строки и 50 Гц частота полей). Для удовлетворительного воспроизведения функции развертки надо пропускать все гармоники до 20-й включительно, т.е. до 300 кГц в строчной системе и 1 кГц в кадровой.
Катушку отклонения можно представить в виде Lk, Rk, Ck (рис. 5.7), где Ск – межвитковая емкость катушки, которой можно пренебречь для кадровой системы и которой нельзя пренебрегать для строчной. Если пренебрегаем емкостью Ск (в случае кадровой системы), то
.
Если
мы исходим из
того, что ток
i (т.е. и поле
Н) меняются по
пилообразному
закону (линейный
ток от времени),
т.е.
,
тогда
.
Здесь могут быть два случая (рис. 5.8):
RK
>> LK,
пренебрегаем
.
Тогда
![]()
RK
LK,
пренебрегаем
.
Тогда
![]()
В общем случае – есть и то, и другое: RK LK.
Видно, что при получении пилообразного тока на катушке образуется напряжение, содержащее пилообразную и импульсную составляющие.
В общем случае всякое развертывающее устройство состоит из генератора импульсов (задающий генератор), каскада формирования управляющего напряжения и выходного каскада. Каскад формирования часто объединяется с задающим генератором, который запускается внешним синхроимпульсом.
5.4. Кинескопы черно-белого изображения
Эти кинескопы (рис. 5.9) выпускаются с размерами экрана по диагонали от 4 до 67 см, угол отклонения – до 110.
Экран состоит из стеклянного диска (передний стенки), на ней – люминофор, на нем – Al пленка толщиной 0,5 мкм. Al пленка соединена электрически с анодом А, она прозрачна для электронов с энергией (12-25) кэВ. Пленка защищает люминофор от разрушения тяжелыми отрицательными ионами, а также отражает свет, повышая светоотдачу трубки.
Люминофоры состоят из основного вещества и небольшого количества примеси – активатора. В принципе под воздействием пучка электронов светятся очень многие вещества, однако, при выборе люминофора приходится учитывать многие факторы, начиная от уровня светоотдачи, срока службы, длительности послесвечения спектрального состава и заканчивая число техническими и экономическими (доступность, стоимость, выделение газов при облучении и т.п.). Наиболее часто в качестве люминофоров используются сульфиды, силикаты, оксиды, фосфаты таких металлов, как цинк, кадмий, магний, бериллий. В качестве активаторов добавляют серебро, медь, марганец др.
Цвет излучения люминофора при бомбардировке электронами зависит от состава люминофора. Обычно спектральная плотность излучения люминофора представляет собой непрерывную кривую с четко выраженными пиками (рис. 5.9, а). Состав и некоторые свойства этих же люминофоров даны ниже в таблице.
| Тип экрана | Цвет свечения | Максимум спектральной характеристики (нм) | Время послесвечения | Люминофор |
| А | синий | 450 | короткое | Zn S Ag |
| Б | белый | 460-570 | короткое | 0,4 SnS Ag, ZnCdS |
| И | зеленый | 520-550 | короткое |
Zn2SiO4Mn |
| П | красный | 630 | среднее |
Zn3(PO4)2Mn |
Под коротким временем послесвечения понимается интервал (10-5-10-2) с, средним (10-2-10-1) с, длительным – до 15 с.
В люминофоре различают разгорание (710-8 с), «горение» и угасание (послесвечение) – когда яркость свечения падает до 0,01 от яркости при «горении».
Яркость
свечения экрана
L зависит
от многих факторов,
но наиболее
явно от светоотдачи
экрана А (зависит
от материала
люминофора),
средней плотности
электронов
в пучке с током
iл и площадью
сечения S
(кроссовер) и
ускоряющего
потенциала
U:
.
При заданной плотности тока пучка яркость можно увеличить за счет U, это выгодно энергетически. Увеличение U ведет также к улучшению фокусировки, в то время как увеличение тока пучка ведет к росту его сечения.
Сила света от элемента излучения: Iсв = SL = SAjU2 = AiлU2.
Можно записать: Iсв = A0iлU, где A0 = AU.
Другими словами, сила света от элементарной площадки люминофора пропорциональна произведению A0Pл, где Pл – мощность электронного пучка: I = A0 Pл,
а величину
называют
коэффициентом
светоотдачи
люминофора.
Для обычных
люминофоров,
у которых в
свет превращается
в среднем
5% энергии луча,
коэффициент
светоотдачи
экрана составляет
(23) кд/Вт,
а для алюминированных
экранов он
доходит до
(35) кд/Вт.
При частоте кадров fк выше критической частоты мельканий кажущаяся яркость свечения экрана определяется как средняя яркость за период ее изменения Тк = 1/fк (закон Тальбота):
.
В случае безинерционного экрана каждая точка дает постоянную яркость L в течение времени облучения с периодом повторения Тк, так что кажущаяся яркость:
,
где N – число элементов изображения. В действительности яркость каждой точки экрана нарастает и падает по экспоненте. Во время роста:
,
где а1 – постоянная времени, L – предельная установившаяся яркость. За время облучения яркость увеличивается до значения L () = L (1 - e-a1), а затем спадает также по экспоненте с постоянной времени а2:
.
Тогда средняя яркость (кажущаяся):
.
Обычно а1а2. Хотя инерционность ничего не дает в смысле увеличения средней яркости, она в принципе позволяет снизить критическую частоту мельканий, т.е. и частоту кадров. Допустимая инерционность ограничивается возможностью смазывания движущихся изображений. Чтобы этого не было, надо, чтобы остаточное свечение к началу следующего кадра не превышало 5%.
Одной из наиболее важных характеристик кинескопа является модуляционная (световая) зависимость среднего тока (рис. 5.10), т.е. и яркости экрана, от напряжения между модулятором и кадром, которая выражается степенной функцией:
,
где кин – показатель степени, равный для разных трубок от 2,5 до 3. Напряжение сигнала изображения:
Uc max = - Umo – (Um max) = Um max – Umo,
где Um max – величина напряжения, где обеспечивается наибольшая яркость экрана Lmax.
Световая характеристика кинескопа практически снимается как зависимость тока катода от напряжения между катодом и модулятором, потому что ток луча мало отличается от тока катода, а измерять ток луча значительно сложнее.
Иногда модуляционную характеристику дают в логарифмическом масштабе:
lg L = кин lg Uc.
Важнейшим показателем качества вторичного (телевизионного) изображения является контраст изображения и разрешение (величина элемента при синтезе).
Контраст, как раньше говорилось, - отношение яркости наиболее светлых участков к наиболее темным, т.е.
.
Если Lmax определяется яркостью при возбуждении люминофора, то
Lmin = Lвнутр + Lор + Lш + Lвнеш,
где Lвнутр – внутренняя засветка экрана, Lор – яркость ореола, Lш – шумовая подсветка, Lвнеш – внешняя подсветка экрана.
Наиболее существенной оказывается Lвнеш, достигающая (0,01 – 0,02) Lmax Вместе с тем серьезный вклад вносит также ореол.
При бомбардировке электронами люминофор возбуждается, причем наиболее возбужденными оказываются слои люминофора, обращенные внутрь трубки. Из-за поглощения в толще люминофора в прямом направлении получается меньший световой поток, чем в обратном (рис. 5.11). Более того, сквозь лицевое стекло проходит лишь часть этого потока – наружу пройдут лишь те лучи, которые идут изнутри под углами меньшими пред – угла полного внутреннего отражения, величина которого зависит от отношения преломления сред на границе. При n = 1,54 (стекло колбы) пред = 41, и проходит только 0,42 от начального света в направлении зрителя, а 52% - теряется. Это для случая полного оптического контакта зерен люминофора со стеклом. В действительности этого нет, и для зерен, не имеющих оптического контакта со стеклом, не будет явления полного внутреннего отражения, а будут потери как от плоско-параллельной пластинки, поэтому практически теряется только (15-20) %.
Часть светового потока, которая не проходит к наблюдателю, после повторных отражений внутри трубки может опять попасть к наблюдателю.
Световые лучи, претерпевшие полное внутреннее отражение, возвращаются к наблюдателю на расстоянии Rор = 2d tg пред. Из-за диффузного отражения слоем люминофора появляется второй ореол и т.д., т.е. появляется серия размытых колец диаметрами 2Rор, 4Rор, 6Rор и т.д. Наибольшую яркость имеет первое кольцо, остальными можно пренебречь.
Явление ореола снижает четкость и контраст в деталях. Так, контрастность в деталях может упасть до 20 при общем контрасте 100.
Наиболее эффективным средством повышения оптических свойств кинескопа явилось использование Al экранов (покрытий). Покрытие выполняет роль отражателя, направляющего наружу световой поток, первоначально шедший внутрь трубки. Введение экрана повышает оптическую эффективность в (1,5-2) раза. Кроме того, экран улучшает тепловой режим люминофора, защищает его от отрицательных ионов.
Существенным образом на повышение контраста кинескопа сказалось использование дымчатого стекла (нейтральный фильтр) в качестве лицевого стекла кинескопа. Это стекло эффективно ослабляет влияние ореола и внешней засветки. Полезная часть светового потока Fn ослабляется на пути d, а лучи ореола проходят путь (1 + 2/cosпред), поэтому если коэффициент пропускания для Fn составляет n, то для Fор:
.
Для = 0,5, ор = 0,08, т.е. ореол ослабляется более чем в 5 раз.
Дымчатое стекло ослабляет и внешнюю засветку – полезный поток проходит через стекло один раз, а внешний свет – дважды (туда и обратно).
Оптические показатели некоторых черно-белых кинескопов приведены в таблице.
Тип кинескопа |
b мм |
h мм |
Радиус экрана Rэ мм |
n |
Lmax кд/м2 |
Контраст С |
NГ, линий |
|
| в центре | на краях | |||||||
| 16 ЛК 1Б | 120 | 98 | 0,45 | 100 | 100 | 600 | 550 | |
| 47 ЛК 2Б | 384 | 305 | 1219 | 0,46 | 120 | 100 | 600 | 550 |
| 59 ЛК 3Б | 489 | 385 | 1012 | 0,42 | 120 | 150 | 600 | 550 |
| 65 ЛК 1Б | 530 | 416 | 1219 | 0,39 | 150 | 150 | 600 | 550 |
Добавим некоторые технические подробности для трубки 59 ЛК 3Б (размер диагонали 59 см). Длина трубки 370 мм, вес – 16 кг, угол отклонения - 110, ток пучка – 350 мкА, запирающее напряжение модулятора 80В, размах сигнала в цепи модулятора 45В, напряжение анода 20кВ.
5.5. Трехлучевой цветной кинескоп
Цветной кинескоп позволяет воспроизводить цветное изображение. Существует несколько разновидностей цветных кинескопов
– видный кинескоп – наиболее распространенный в настоящее время кинескоп (рис.5.12). Он содержит 3 прожектора (1), которые расположены в вершинах треугольника (отсюда название), а также трехцветный точечный (мозаичный) экран 3 и теневую маску 2. Для создания цветного изображения используется метод пространственного смешения цветов.
Элементами экрана 3 служат триады кружков ( 0,45 мм) люминофоров, свечение которых соответствует основным цветам: красному (R), зеленому (G) и синему (B), предназначенных для синтеза элемента изображения любого цвета. Из-за малости размера триады глаз воспринимает результирующий цвет в соответствии со степенью возбуждения каждого из люминофоров. Число триад на экране соответствует числу элементов разложения (номинальному).
Перед экраном на расстоянии 12 мм расположена металлическая (сталь) маска 2 с отверстиями, которые расположены напротив каждой триады. Маска сферическая, толщина 0,15 мм, диаметр отверстий 0,3 мм. Маска обеспечивает попадание каждого луча на «свой» люминофор, что позволяет обеспечить независимое возбуждение люминофоров в триаде. Существенно, что маска формирует из каждого пучка электронов достаточно узкий электронный луч, диаметром не больше кружка люминофора. Поскольку формирование происходит за счет вырезания части пучка (диафрагмирование), это резко уменьшает полезный ток луча и снижает светоотдачу. Прожекторы 1 расположены в горловине трубки в вершинах равностороннего треугольника. Оси прожекторов составляют с осью трубки угол 1. Лучи сходятся в плоскости теневой маски 2, проходят через отверстия, затем опять расходятся по вершинам триады.
На горловине колбы находятся также внешние узлы: отклоняющая (развертывающая) система 4, регулятор радиального сведения лучей 5, магнит чистоты цвета 6 и магнит синего луча 7.
Отклоняющая система разворачивает одновременно все три пучка.
Регулятор радиального сведения лучей 5 предназначен для статического (в центре экрана) и динамического (по полю изображения) сведения лучей. Он состоит из внешних магнитов Мсв, работающих совместно с полюсными наконечниками 8, расположенными внутри колбы. Магнит Мсв намагничен по диаметру, поэтому в зависимости от его углового положения между полюсными наконечниками создается поперечное магнитное поле различной величины, которое и «подворачивает» электронный пучок в радиальном направлении. Совместной регулировкой магнитов Мсв добиваются статического сведения пучков.
Из-за неточности сборки трубки может возникнуть необходимость смещения одного из лучей в тангенциальном направлении. Для этого перемещают «синий» луч магнитом 7. Поле этого магнита направлено вдоль радиуса колбы, поэтому синий луч смещается по окружности.
Статическое сведение лучей в центре экрана не обеспечивает их совпадения в отверстиях маски, удаленных от центра. Для динамического сведения служат катушки К1 и К2 электромагнитов радиального сведения, через которые пропускаются токи специально подобранной формы, которые меняются одновременно с отклоняющими токами. Экраны 9 сделаны для автономизации регулировки пучков.
Из-за неточной сборки кинескопа в целом может возникнуть необходимость сведения геометрических осей электронных прожекторов с осью кинескопа. Для этого используется кольцевой магнит 6 (намагничен по диаметру).
Каждый из трех прожекторов имеет раздельные выводы катодов, модуляторов, ускоряющих и фокусирующих электродов. Теневая маска соединена гальванически со вторым анодом А.
Для трубки 61 ЛК 4Ц (типичный кинескоп для цветных телевизоров):
отрицательное напряжение, запирающее луч – (100190) В;
ускоряющее напряжение (250750) В;
фокусирующее напряжение (4,75,5) кВ;
полное ускоряющее напряжение 25 кВ
Яркость экрана в белых местах 110 кд/м2, разрешение 550 мм по вертикали и 450 – по горизонтали. Контраст 120, число градаций яркости 8, кин = 2,6 3,3, наработка на отказ 104 час.
В масочных трубках подобного типа 80% тока каждого из пучков задерживается маской, что ведет к уменьшению яркости. Для достижения желаемой яркости приходится увеличивать токи лучей до 1,5 мА и повышать ускоряющий потенциал до 25 кВ. При этом появляется рентгеновское излучение, для уменьшения которого используют тяжелое стекло для колбы (добавки Pb, Sr90).
Наличие трех независимых прожекторов приводит к проблеме получения белого во всех диапазонах яркостей. Причина этого – разброс модуляционных характеристик каждого из прожекторов (рис. 5.13).
Для подгонки яркостей («баланс белого») меняют ускоряющие напряжения лучей, чтобы совместить напряжения отсечки. Однако, этого мало – наклоны модуляционных характеристик разные, поэтому регулируют также коэффициенты усиления усилителей яркостных сигналов.
Цветной кинескоп с линейным расположением прожекторов.
Недостаточная яркость экрана, сложность настройки, сложная технология вынудили искать другие варианты конструкций кинескопов. Один из них – линейное (планарное) расположение электронных прожекторов.
Экран имеет штриховую структуру в виде тонких вертикальных полосок чередующихся люминофоров R, G, B. Перед экраном находится металлическая цветоделительная маска с вертикальными щелями и горизонтальными перемычками (для прочности).
Пучок зеленого прожектора направлен по оси кинескопа и создает симметричный растр, не нуждающийся в сведении. Прожекторы R и B расположены симметрично относительно прожектора G и находятся с ним в одной плоскости («планарность»). Симметрия дает возможность иметь одинаковые искажения, что упрощает сведение лучей в динамике.
Яркость свечения здесь выше, чем в мозаичных кинескопах, т.е. щелевая маска более прозрачна, чем маска с круглыми отверстиями. Сдвиг любого пучка в вертикальном направлении не вызывает искажений, т.к. пучки не сходят со «своих» полосок люминофоров.
Планарные кинескопы позволяют делать системы самосведения пучков, что невозможно в мозаичном. Для этого подбирают форму отклоняющих катушек и плотность витков в них так, что катушка горизонтального отклонения создает «подушку», а вертикального – «бочку». После настройки катушки приклеивают к колбе.
Такие кинескопы выпускаются с углом отклонения 90 и 110. Например, кинескоп 32 ЛК 1Ц: запирающее напряжение – (50100) В, фокусирующее напряжение (2,55,5) кВ, ускоряющий потенциал 18 кВ. Яркость – 150 кд/м2, неравномерность 40% по полю изображения, контраст 60, разрешение составляет 350350.
Другая модель планарного цветного кинескопа (51 ЛК 2Ц) обеспечивает яркость в белом до 250 кд/м2 при токе катодов 1мА, напряжении анода 25кВ. Разрешение достигает 450х450 элементов.
Упомянем еще одну разновидность цветного кинескопа – однолучевой хроматрон. Экран трубки имеет линейчатую структуру перемежающихся люминофоров, перед которыми располагается цветокоммутирующая сетка (рис. 5.14). Полоски люминофора располагаются вертикально в последовательности RGBGRGBGRGBG… Ширина полосок R и В составляет 0,2 мм, полоска G имеет ширину 0,1 мм. Один элемент цветного изображения образует RGBG.
Экран трубки алюминирован и соединен с анодом, находящемся под напряжением 15 кВ относительно катода. Перед экраном на расстоянии 20 мм натянуты вертикальные проволочные струны 0,036 мм с шагом 0,3 мм, так что нечетные струны помещены перед полосками красного люминофора, а четные – перед синими. Все четные струны соединены вместе (один вывод цветокоммутирующей сетки), а все нечетные также соединены и имеют вывод. Если напряжение на секциях сетки одинаковые (слабо отрицательные), то электронный луч прожектора проходит между струнами и попадает на зеленый люминофор (рис. 5.14), а при некотором напряжении в зависимости его знака луч попадает либо на красный, либо на синий люминофор. Сетка в целом имеет довольно большую емкость, поэтому в течение одной строки потенциал сетки не меняется, а меняется лишь один раз за три строки растра, т.е. образуются последовательно три строки одинакового цвета (интенсивность каждой из них зависит от сигнала на модуляторе) – красная, зеленая, синяя. Получается пространственное смешение цветов, но с потерей цветовой четкости в 3 раза. При количестве струн 400 горизонтальная четкость составляет 300 строк.
Подобный кинескоп (хроматрон 25 ЛК 1Ц) при яркости 200 кд/м2 требует ток луча 200 мкА, ускоряющий потенциал равен 5 кВ. Потенциал коммутационной сетки 200 В, что при частоте коммутации 15 кГц : 3 = 5 кГц требует мощности 1 Вт.




6. ХАРАКТЕРИСТИКИ ТЕЛЕВИЗИОННОГО СИГНАЛА
6.1. Пространственные частоты изображения
Для детального рассмотрения телевизионного сигнала, в частности, его важнейшей характеристики – спектрального состава – обычно используется спектральный анализ. Целесообразность такого подхода объясняется тем, что исходное оптическое изображение представляет собой поле освещенности, распределенное по плоскости. Пространственное представление этого поля, в том числе и в виде рядов Фурье, имеет более универсальный смысл, чем временное представление. Это легко видно, например, из того факта, что неизбежное наличие пространственных апертур в любой телевизионной системе, даже в случае отсутствия перемещающихся апертур, сказывается на разрешении, частотном диапазоне сигнала и т.д. Для многопроводной системы, где нет временной развертки, пространственная апертура определяется наличием ячеек в светочувствительной матрице на передающей стороне и воспроизводящей матрице на приемной.
Второе замечание связано с тем, что разложение в ряды Фурье производится только для периодических функций, т.е. строго говоря, суммой членов ряда можно заменить только бесконечно повторяющуюся последовательность неизменных изображений, полностью идентичных мгновенному изображению кадра. В действительности этого нет, однако учитывая достаточно низкие частоты пространственных изменений в передаваемой сцене, которые могут восприниматься зрительно-аналитической системой человека (25Гц), можно по крайней мере несколько кадров ( 5) считать принципиально неизменными. Именно на этом основан используемый ниже подход, который исходит из считывания бесконечно-длинной пространственной картины, имеющей пространственный период, равный длине кадра b, на которую наложена вертикальная последовательность с длиной волны h.
Итак, рассмотрим неподвижное бесконечно повторяющееся изображение, один из фрагментов которого (кадр) показан на рис. 6.1. в виде поля освещенности E (x, y).
Вдоль прямой, проходящей через точку (x, y) и параллельной оси х, любая функция оптической неоднородности может быть записана через ряд Фурье:
,
где m – длина m-ой пространственной волны в направлении х,
m – фаза m-ой слагаемой ряда,
Еу – текущая амплитуда m-ой составляющей, т.к. она зависит от координаты у.
На длине экрана b укладывается «m» пространственных длин волн освещенности (яркости), потому что мерой взяли величину b, т.е. m m = b. Тогда можно записать:
.
Ясно, что m слева равно 0, а справа равно , т.е. не ограничено.
Величина Em(y) сама может быть разложена в ряд по координате у:
,
где
n
=
– пространственная
длина волны
яркости в направлении
у,
Emn – амплитуда n-го компонента по высоте (в направлении у),
n – фаза этого компонента.
Подставим:
![]()
,
где
.
Т.к. при фиксированном m слагаемые, содержащие n в аргументе первой косинусоидальной зависимости в последнем выражении меняются от 0 до + , а в аргументе второй - от 0 до -, то их можно объединить в одну косинусоидальную последовательность с пределами суммирования от - до +. Фаза тоже будет суммарной: mn = m + n (с учетом того, что в ряде, где - n 0 она вычитается из m, но cos – четная функция). Тогда:
,
или
в комплексной
форме
:
,
где
.
Видно, что здесь в первый ряд суммируется в пределах - m .
Таким
образом, любое
изображение
может быть
представлено
в виде суммы
косинусоидальных
волн с -
m =
и -
n =
.
Содержание
изображения
определяет
амплитуды Emn
и фазы mn
компонентов
ряда.
6.2. Пространственная фильтрация изображения
(фильтрация пространственного спектра изображения)
Поскольку в электрический сигнал преобразуется световой поток, проходящий через весь элемент разложения (или отраженный от всего элемента изображения), то полезно ввести функцию прозрачности апертуры, которая учитывает количество проходящего через него света. Именно этот свет и образует сигнал.
Для квадратной апертуры (диск Нипкова, приборы с зарядовой связью ПЗС) прозрачность равномерна по всей площади апертуры: (x, y) = 1 (рис. 6.2, а). Это же справедливо для круглых отверстий (диссектор) в пределах площади этого отверстия S:
,
где x, y – координаты точек апертуры относительно ее центра 0 (рис. 6.2, б).
Для электронного коммутирующего пучка прозрачность эквивалентна плотности электронного пучка, распределение которой описывается гауссовым законом (рис. 6.2, в):
![]()
Здесь re – условный радиус, где плотность электронов падает в «е» раз.
В действительности прозрачность ячейки ПЗС скорее можно считать не кубом, а трапециоидальным параллелепипедом (усеченная пирамида) (рис.6.2,г).
В принципе следует говорить об интегральной прозрачности всей апертуры (объем прозрачности):
.
потому что в линейном фотоэлектрическом преобразователе через апертуру проходит световой поток
.
где x, y – координаты центра апертуры.
Если спектральная чувствительность фотослоя одинакова по всей площади апертуры S, то ток сигнала:
,
Если
освещенность
изображения
в пределах
площади S
постоянна и
равна Ео, то
.
Передача границы освещенности. Пусть освещенность Е меняется скачком от 0 до Ео. Тогда текущее значение сигнала (текущей координатой является х):
,
где
– объем прозрачности
освещенной
части апертуры.
Вводят понятие переходной апертурной характеристики, которая определяется отношением текущих значений сигнала (или прозрачности) к их установившимся (предельным) значениям. Это отношение меняется с изменением координаты центра апертуры:
.
Рассмотрим случай, когда в т. х=0 освещенность меняется скачком от 0 до Ео (рис.6.3, а). Возьмем сечение апертуры на расстоянии х от ее центра (щель с размерами 2rx dx). Тогда прозрачность:
.
Для симметричного распределения:
.
Например, пусть апертура – квадрат dd. ddx – щель с размерами d, dx. Тогда (рис. 6.3,б)
.
Установившееся значение прозрачности o = d 2, поэтому
![]()
.
Видно, что переходная характеристика для прямоугольной апертуры, перемещающейся так, что ее сторона остается параллельной границе освещенности, имеет линейный характер (рис. 6.4, а).
При любой другой ориентации прямоугольной апертуры характеристика будет нелинейной. Для круглой апертуры диаметром d апертурная переходная характеристика (рис. 6.4, б):
.
Характеристика в т.О имеет максимальную скорость нарастания, т.к. она пропорциональна текущей длине хорды апертуры.
Если в телевизионной системе есть две сканирующих системы - передающая и воспроизводящая, то результирующая переходная характеристика станет еще хуже.
Таким образом, бесконечно узкая граница двух разных по оптической плотности (яркости, освещенности) областей изображения, т.е. скачок освещенности Е, растягивается по меньшей мере на размер апертуры, т.е. ухудшается четкость. В этом смысле апертурные искажения по своим результатам подобны расфокусированию изображения из-за объектива.
Если прозрачность распределена по Гауссу, то (кривая 6.4, в):

Для этого случая H(x) простирается в обе стороны бесконечно, однако за границы переходного процесса принимают 2re (0,08 и 0,92 от о).
Если
есть две одинаковые
гауссовы апертуры,
то получается
в итоге как бы
одна характеристика
с гауссовым
законом (кривая
5) и условным
радиусом rs
=
re.
Соответственно,
в
раз увеличивается
и протяженность
переходной
кривой:
.
Апертурно-частотная фильтрация. Ясно, что при увеличении протяженности границ переходов освещенности должна меняться также частотная пространственная характеристика изображения. Грубо говоря, если мы ощупываем пространственный рельеф каким-то «толстым щупом», то верхние частоты (мелкие детали изображения) будут теряться. Для аналитической записи этого факта рассмотрим пространственное поле, которое зависит от одной координаты х:
.
Здесь выделена нулевая частотная составляющая (средняя или постоянная освещенность Ео) гармонического разложения и она вынесена за знак суммирования, т.е. на нее разделены амплитуды всех гармоник, так что:
- глубина модуляции
m-го компонента
(амплитуда m-го
компонента
относительно
постоянной
составляющей).
Подобно рассмотренному ранее, можно показать, что считанный сигнал
.
Сомножитель
U/m
определяет
апертурно-частотную
характеристику
сканирующего
устройства.
Для примера
рассмотрим
апертурно-частотную
характеристику
для квадратной
апертуры dd.
Обычно берут
не U/m,
а Um,
который отличается
другим направлением
х, т.е.
.
Тогда для квадратной
апертуры
- кривая
1 (рис. 6.5).
Для гауссовой апертуры:
(кривая 2).
Кривая 1 пересекает ось абсцисс при целочисленных d/m, убывая по амплитуде. Кривая 2 оси абсцисс не пересекает. Физически это связано с тем, что «щуп» в виде электронного пучка с плотностью электронов по закону Гаусса не имеет плоской части и есть «еще более острая часть», которая ощущает все более и более мелкие детали.
Понятно, что идеальное значение Um – горизонтальная прямая с ординатой 1,0. При двух диафрагмах (передача-прием) апертурно-частотная характеристика определяется квадратом Um. Если есть две апертуры, то получается кривая 3, если две гауссовых – кривая 4.
Можно утверждать, что конечные размеры апертур срезают часть верхних пространственных частот, т.е. число компонентов пространственного спектра ограничено заданной глубиной модуляции. Это эквивалентно тому, что введение апертуры создает фильтр пространственной частоты.
В любом случае, как говорилось, это дает уменьшение четкости изображений, что можно выразить количественно.
Разрешающая
способность
телевизионной
системы оценивается
количеством
полупериодов
пространственной
частоты, воспроизводимой
с глубиной
модуляции,
большей чем
порог (отсчетный
уровень) о
(см. рис. 6.5).
В
силу принципа
построчного
разложения
изображения
продольное
(вдоль строк)
разрешение
определяется
также полосой
частот в канале
связи (кривая
5). Если эта полоса
частот имеет
прямоугольную
форму, т.е. граничная
пространственная
частота
,
где
= 2
– период изменения
яркости, то
это, в свою очередь,
апроксимируется
распределением
прозрачности
в такой апертуре
вида:
.
Поперечное разрешение определяется дискретностью растра, т.е. за счет строчного разложения, и это разрешение обычно бывает меньше продольного. Если увеличивать число строк, то и поперечное разрешение приближается к тому, которое определяется апертурной фильтрацией.
6.3. Частотный спектр сигнала изображения
Не будем обращать внимание на время обратного хода развертки и ее нелинейность. Тогда координаты передаваемых элементов изменяются во времени линейно:
,
где Vx – скорость сканирования по х; b – максимальный горизонтальный размер; z – полное число строк в кадре; fk – частота кадров; h – вертикальный размер кадра; Vy – скорость изменения координаты у при разложении.
Считанный сигнал во времени: i (t) = c E (x, y), где Е – освещенность.
Было:
.
Так что:
.
Слагаемые в круглых скобках:
- имеет
размерность
частоты. Можно
назвать:
fгр = z fk – частота горизонтальной развертки,
fвр = fk – частота вертикальной развертки.
Тогда считанный ток можно представить в виде гармоник:
.
Это выражение определяет спектр телевизионного сигнала. Видно, что он имеет дискретный характер и содержит гармоники с номерами 0 m , кратные частоте горизонтальной развертки, около каждой из которых группируются гармоники с номерами - n , кратные частоте вертикальной развертки.
В частном случае, когда освещенность меняется только по вертикали (горизонтальные полосы), в спектре сохраняются лишь n-ые гармоники вертикальной развертки f=nfвр. Хотя теоретически nmax = , апертурная фильтрация делает количество гармоник n небольшим, да и величина fвр невелика. Если же освещенность поля изображения меняется только по горизонтали (вертикальные полосы), в спектре не будет n-ых гармоник, а только одни m-ые. Так как fгр = zfвр, то и гармоники mfгр простираются далеко по оси частот.
В общем случае, когда освещенность меняется по горизонтали и по вертикали, спектр сигнала группируется вокруг нулевой, первой, второй и т.д. гармоник fгр (рис. 6.6). Огибающая этих гармоник зависит от распределения освещенности вдоль строк.
Огибающие боковых спектров зависят от распределения освещенности в поперечном (вертикальном) направлении.
Т.к. отношение fгр и fвр определяется структурой растра и равно z, то между двумя гармониками fгр может расположиться 2z гармоник частоты вертикальной развертки. Однако если z мало или если n (реально учитываемое количество вертикальных гармоник) велико, то может получиться наложение боковых гармоник, которые совпадут для n – положительного крыла спектра гармоники горизонтальной развертки с (n+1) – отрицательным крылом спектра следующей гармоники горизонтальной развертки (рис. 6.7). Как видно из рисунка, произошло наложение частот за счет перекрытия боковых, т.е. на одной и той же частоте идут сигналы разных компонентов (горизонтальных и вертикальных):
f = m fcгр + n1 fk = (m+1) fcгр – n2 fk.
Если есть еще более дальнее перекрытие, то
f = mi fcгр + nk fk = m fcгр + nl fk.
Наложение боковых составляющих создает своеобразные посторонние изображения (муар).
До этого рассматривались неподвижные изображения. Передача движущихся изображений сопровождается амплитудной модуляцией гармонических составляющих (горизонтальных и вертикальных), что добавляет в спектре еще дополнительные боковые составляющие (вокруг всех гармоник). Ширина этой добавки не превышает 3 Гц на каждую составляющую (дальше не надо, ибо не воспринимает глаз в силу своей инерционности).
6.4. Полоса частот телевизионного сигнала
Как уже говорилось раньше (гл. 1), полоса пространственных частот однозначно связана с количеством элементов разложения, а реальный спектр зависит от конкретного изображения (сюжета), передаваемого по ТВС.
Низшая частота спектра fH определяется минимальной пространственной частотой, которая определяется максимальными деталями изображения. Очевидно, что такая деталь может занимать почти весь экран и ее временная частота составляет fK, т.е. требуется все время кадра Тк, чтобы ее передать:
.
Самое простое передаваемое изображение – две горизонтальные полосы (черная и белая) одинаковой ширины и с синусоидальным «сечением по яркости» (освещенности), рис. 6.8.
Здесь в принципе только одна гармоника, не считая постоянной составляющей, т.к. освещенность не может быть меньше 0.
Более сложная картинка спектра даже при условии все тех же двух полос (белая и черная) получается, если полосы имеют более резкие границы и (или) полосы имеют различную ширину.
В современных телевизионных системах применяется только чересстрочная развертка (см. след. раздел), при которой частота кадров в два раза ниже частоты полей (полукадров). В этом случае наиболее простое изображение, дающее нижнюю частоту, должно быть таким, чтобы в течение первого полукадра поле изображения было светлым, а в течение второго – темным (или наоборот). Практически такой случай реализуется в виде горизонтальных полос шириной в одну строку, разделенных такими же темными промежутками.
Очевидно, что высказанные соображения относительно нижних частот сигнала будут справедливы и для вертикальных полос – минимальная (и единственная) частота телевизионного сигнала, соответствующая одной темной и одной светлой вертикальной полосе, имеющим синусоидальное «сечение» освещенности, равна первой гармонике строчной частоты. По мере увеличения числа полос и (или) резкости границ будет расти количество гармоник строчной частоты.
В любом случае существенно подчеркнуть, что низкие частоты спектра телевизионного сигнала несут информацию о распределении яркости по крупным деталям изображения, а высокие – о мелких деталях изображения, в том числе и о контурах (границах) крупных деталей.
Высшая
частота спектра
fB
соответствует
минимальному
элементу изображения,
за которой
принят квадрат
со стороной,
равной ширине
строки
.
Первая гармоника
при считывании
таких мелких
деталей (элемент
+ пропуск):
,
где k
– формат изображения.
Для воспроизведения
самых мелких
деталей достаточно
передавать
только первую
гармонику,
определяющую
среднюю величину
яркости этих
деталей, потому
что глаз почти
не замечает
искажение
распределения
яркостей в
пределах малого
элемента. Эта
частота и есть
высшая составляющая
спектра телевизионного
сигнала.
Часть строк растра теряется на обратный ход кадра (z), так что активное (действительное) число строк уменьшается до z (1- ). Изменение соотношения между прямой и обратной частью периода кадра сказывается на реальной четкости по вертикали за счет уменьшения числа строк разложения. В то же время обратный ход кадра (его время) не влияет на скорость движения развертывающего луча, т.е. не меняет ни верхней, ни нижней границ полосы частот.
Длительность прямого хода по строке за счет обратного хода по строке при заданном периоде строк уменьшается на время TСГР, т.е. в действительности
ТСГР АКТ = ТСГР (1 - ).
Считая,
как и раньше,
размер элементов
разложения
одинаковым
по вертикали
и горизонтали
и равным
,
получим:
.
Учитывая, что
,
найдем:
.
В нашем телевизионном стандарте разложения выбрано:
= 0,08, т.е. 50 строк – на обратный ход кадра (z = 625),
= 0,18, т.е. tсбр = 11,52 мкс при Тстр = 64 мкс, Тсгр акт = 52,48 мкс.
Коэффициент определяется следующими соображениями. В горизонтальном направлении минимальный размер элемента равен толщине строки, а в вертикальном направлении (поперек строк) такая же деталь может воспроизводиться либо одной строкой (когда центр этой детали совпадает с центром строки растра), либо двумя строками (когда центр детали лежит посередине строк), т.е. четкость по вертикали не является постоянной величиной и составляет от 1 до 0,5 от величины четкости по горизонтали. Чтобы несколько выровнять четкости по обоим направлениям, четкость по горизонтали уменьшается за счет полосы частот в раз. Практически полоса уменьшается в 1,1 – 1,2 раз.
Если подставить в последнюю формулу = 0,82, z = 625, fk = 50 Гц, выбранные исходя из пространственной и временной характеристик зрения, получим:
МГц.
6.5. Чересстрочная развертка
Как было показано, полоса частот телевизионного сигнала простирается от 50 Гц до 12 МГц. Обработка сигналов в такой полосе трудна, поэтому представляет интерес пули ее уменьшения. Реально можно уменьшить частоту кадров, однако, чтобы не было мельканий, можно сделать кадр в виде двух полукадров (полей), в каждом из которых 312, т.е. z/2 строк. Это допустимо, т.к. глаз замечает частоту мельканий прежде всего для крупных деталей, а для двух близко расположенных точек (элементов), яркость которых меняется от нуля до максимальной, обе точки кажутся светящимися непрерывно, если сумма частот их яркостных мельканий выше критической. Т.е. для мелких деталей предельно низкая частота мельканий уменьшается практически вдвое.
Строки
полуполей
чередуются
– 1 полукадр
содержит нечетные
строки, II
– четные. Для
выполнения
этого количество
строк в кадре
должно быть
нечетным: z
= 2m
+ 1 (для нашего
стандарта m
= 312), кроме того,
должна быть
жесткая связь
частот:
,
т.е.
.
Это соотношение
обеспечивается
синхрогенератором
передатчика.
В принципе можно брать чересстрочную развертку и с большей кратностью, чем 2:1, например, 3:1, или 4:1. Однако здесь уже становится заметным мелькание, уменьшается четкость объектов, движущихся в вертикальном направлении.
Для любого чересстрочного разложения есть эффект «скольжения строк» – пока луч чертит текущую строку, его яркость максимальна, а яркость предыдущей строки, прочерченной в предыдущем поле, имеет спадающий характер. Этот эффект мало заметен при кратности 2:1, а при больших кратностях сказывается очень сильно.
К этому можно добавить, что периферийное зрение менее инерционно, поэтому при наблюдении ТВ изображения с близкого расстояния (когда большой угол зрения и участвует периферия глаза) становится заметным мелькание при принятых у нас частотах (fk=25 Гц). Установлено, что истинная 625-строчная развертка (не чересстрочная) по четкости эквивалентная 900-строчной с чересстрочным принципом.
Чересстрочное (любое) разложение требует нецелого отношения частот:
,
z – целая
часть (целое
число строк
в поле)
-
дробная
часть:
.
В общем случае:
За первое поле (z + ) строк
за два поля 2(z + ) строк
за W полей W(z + ) = Wz +W = z0 – полное число строк в кадре, после чего цикл заканчивается.
Т.к. z0 и Wz – целые числа, то и W должно быть целым.
Если обратиться
вновь к спектральному
составу ТВ
сигнала, то в
случае чересстрочного
разложения
на интервале
между гармониками
строчной частоты
укладывается
не z0
частот кадровой
развертки, а
z +
интервалов
и при перекрытии
боковых спектров
их гармонические
составляющие
перемежаются.
Т.е. увеличение
в W
раз времени
передачи кадра
(W
полей в кадре)
сопровождается
уплотнением
в W
раз частотного
спектра сигнала.
В случае
гармоники из
нижнего бокового
спектра (m
+ 1)-й гармоники
строчной частоты
располагаются
ровно посередине
между составляющими
верхнего бокового
спектра m-ой
гармоники
строчной развертки,
т.е. линейчатый
частотный
спектр сигнала
в целом уплотняется
в 2 раза.


7. СИНХРОНИЗАЦИЯ ПРОЦЕССОВ РАЗВЕРТКИ
Процессы развертки на передающей и приемной стороне телевизионной системы должны быть синфазными, т.е. должен сканироваться один и тот же элемент изображения – передаваемого и воспроизводимого. В принципе синфазность не обязательно означает синхронность, т.е. одинаковые частоты строк и кадров. Частоты могут быть кратными, однако в действительности процессы анализа и синтеза идут (проводятся) и синфазно, и синхронно.
Методы синхронизации
Автономная синхронизация означает независимую синхронизацию передающей и приемной стороны, которые каким-то образом вначале установлены.
При автономной синхронизации (два независимых генератора) получаются практически невыполнимые требования к стабильности частоты обоих генераторов. Обычно задана та относительная часть строки , смещение на которую становится заметным, что эквивалентно промежутку времени tстр, где tстр – длительность строки. Очевидно, что суммарное относительное расхождение за время наблюдения Тн не должно превышать:
.
При = 0,01 (что уже заметно), tстр = 64 мкс и Тн = 1 час:
.
Эта же величина характеризует и требования к стабильности частоты независимых генераторов. Как видно, эти требования невыполнимы, хотя для факсимильных систем передачи изображения (Тн 1 мин) автономная синхронизация реализуема при кварцевой стабилизации частоты генераторов.
Принудительная синхронизация требует организации специального сигнала синхронизации.
В этом случае может быть один из следующих способов:
внешняя синхронизация, когда передатчик и приемник организуют свою работу от некоторой внешней системы (сигнал единого времени и т.п.);
синхронизация приемника от передатчика;
синхронизация передатчика от приемника.
В вещательных телевизионных системах используется исключительно принудительная синхронизация, в которой ведет передатчик. Однако в тех случаях, когда есть несколько источников сигналов (датчиков), которые могут работать автономно (передвижные телестанции) и даже с разными параметрами разложения (международный обмен программами), приходится достигать синхронности за счет записи сигналов (сообщений) синхронно с сигналом источника сообщения, а считывать (иногда тут же) – синхронно с сигналами передающей станции.
Требования к сигналам синхронизации
На все развертывающие устройства телевизионной системы подаются специальные синхронизирующие сигналы (импульсы), определяющие начало обратного хода и кадра (поля).
Для синхронизации приемных устройств в общем канале с сигналом изображения (яркости) передается сигнал синхронизации. Кроме этого, в сигнал изображения вводятся гасящие импульсы, запирающие электронные лучи передающих и приемных трубок на длительность обратного хода строк и кадров. Для передающих трубок это необходимо, чтобы не искажать потенциальный рельеф во время обратных ходов, а на приемных – чтобы не было дополнительной засветки экрана, снижающей общий контраст изображения.
Длительность обратного хода строчной и кадровой разверток существенно различны, поэтому гасящие импульсы строк намного короче во времени, чем кадровые. Длительность гасящих импульсов приемника должна быть больше, чем у передатчика – чтобы избежать, например, сдвигов за счет разной длины кабелей от разных передающих камер.
Сигнал синхронизации приемников создается на телевизионном центре (ТЦ) и передается на приемники во время передачи гасящих импульсов, побуждая генераторы начинать обратные ходы разверток. Вершины гасящих импульсов служат «пьедесталами», на которых располагаются импульсы синхронизации. Уровень сигнала гашения равен или больше «уровня черного», поэтому синхроимпульсы идут на уровне «чернее черного». Это позволяет подавать на кинескоп полный канальный (телевизионный) сигнал без подавления каких-либо его составляющих, в том числе синхроимпульсов.
С другой стороны, импульсы синхронизации должны четко отделятся от сигнала изображения, а также друг от друга.
Благодаря расположению синхроимпульсов на гасящих импульсах, появляется возможность их выделения с помощью простого амплитудного порогового устройства (дискриминатора).
Для разделения строчных и кадровых импульсов можно было бы тоже использовать разницу в их амплитудах, однако для отчетливого разделения потребовалось бы существенно увеличить мощность передатчика. Поэтому для разделения строчных и кадровых синхроимпульсов используется временное различие – длительность кадровых импульсов много больше строчных.
Различная длительность синхроимпульсов позволяет достаточно просто их разделить с помощью простейших дифференцирующих и интегрирующих цепочек (рис.7.1).
Этот способ не только прост, но и достаточно помехоустойчив, все короткие импульсы практически не влияют на кадровый синхроимпульс.
Недостаток такого способа разделения строчных и кадровых синхроимпульсов – очень пологий фронт сигнала после интегрирования, поэтому возможна нечеткая временная привязка выходного импульса – из-за шумов, помех, дрейфа порога дискриминации и т.п.
Превышение синхроимпульсом импульса гашения (синхроимпульсы «чернее черного») может быть реализовано двояким образом – когда амплитуда импульса синхронизации превышает телевизионный сигнал и когда синхроимпульс представляет собой минимальное значение сигнала (рис. 7.2). В первом случае телевизионный сигнал называется негативным или отрицательной полярности, потому что сигнал яркости уменьшается при увеличении освещенности и уровень белого соответствует минимальному сигналу. Позитивный сигнал (рис. 7.2,б), или сигнал положительной полярности, имеет наибольшее значение при наибольшей освещенности. На первый взгляд, между ними нет принципиальной разницы, однако в действительности практически все телевизионные системы используют негативную полярность сигнала. Это объясняется тремя серьезными преимуществами:
Импульс синхронизации – наибольший, поэтому вероятность сбоя синхронизации из-за шумов и наводок будет наименьшей, в то время как для позитивного сигнала вероятность сбоя будет наибольшей.
Экстремальные значения мощности передатчика при негативном сигнале будут только во время передачи синхроимпульсов, что резко уменьшает необходимую среднюю мощность по сравнению с позитивным сигналом.
Статистика передаваемых сюжетов свидетельствует о преобладании светлых деталей и изображений в целом, что также заставляет отдать предпочтение негативному сигналу.
Форма сигналов синхронизации
При построчном (не чересстрочном) разложении между двумя кадровыми импульсами (передними фронтами) помещаются z строчных импульсов. Длительность строчных импульсов tcc во много раз меньше длительности кадровых импульсов tck. После дифференцирующей цепи положительные импульсы идут на синхронизацию генератора строчной развертки, а отрицательные не используются.
Длительность tck много больше длительности строки, поэтому во время его передачи нет строчных синхроимпульсов. В результате генератор строчной развертки (ГСР) будет идти самоходом (в автоколебательном режиме), поэтому первые несколько строк поля могут быть «сбиты». Для сохранения принудительной синхронизации строк во время кадрового синхроимпульса в кадровый синхроимпульс вводят «врезки», идущие со строчной частотой. Длительность врезок равна длительности строчных синхроимпульсов, но они сдвинуты по времени на длительность строчного синхроимпульса, так что их задние фронты (положительные) соответствуют передним фронтам строчных СИ (рис.7.3).
В этом случае после дифференцирующей цепочки появляются положительные импульсы и во время кадрового импульса, т.е. принудительный запуск ГСР обеспечен.
После интегрирующей цепочки врезки дадут зубцы, однако они будут одинаковыми у всех импульсов кадров, поэтому их влияние будет незаметным.
Несколько труднее выполнить условие четкой синхронизации при чересстрочном разложении. Здесь количество строк z – нечетно в кадре и между двумя последовательными синхроимпульсами полей размещается (n + 0,5) периодов строчной частоты Н. Для синхроимпульсов четных и нечетных полей картина будет различной (рис. 7.4).
Из-за более раннего начала кадрового синхроимпульса нечетного поля (первый полукадр заканчивается на половине строки) после интегрирующей цепи напряжения I и II кадрового СИ будут разными по величине, и после дискриминатора появляется и разница во времени.
Если такие импульсы подать на синхронизацию генератора развертки полей, то появляется сдвиг, который может достигать половины длительности строки, т.е. чересстрочная развертка разрушается, строки полей сливаются («спаривание строк»), что резко ухудшает качество изображения – уменьшится количество элементов по вертикали (в 2 раза уменьшается количество строк) и по горизонтали – складываются два элемента из разных строк. Для того чтобы ликвидировать различие между четными и нечетными импульсами после интегрирующей цепочки, надо ликвидировать первопричину в различии интегрированных кадровых импульсов – разные временные интервалы между строчными и кадровыми импульсами. Поэтому вводят на время кадрового синхроимпульса врезки удвоенной строчной частоты. На такое нововведение генератор строчной частоты не реагирует, потому что первый импульс, врезанный между строчными импульсами, приходит слишком рано и если его амплитуда не чрезмерна, то генератор строчной развертки на него просто не отзовется и генератор работает как бы в режиме деления частоты с коэффициентов деления 2.
Хотя в этом случае 2 тоже есть, но он меньше, чем раньше (рис. 7.5): 2 1.
Однако и это неприятно. Чтобы еще больше сблизить результирующее напряжение с интегрирующей цепочки, перед синхроимпульсом поля и сразу за ним вместо обычных синхроимпульсов строк в канал подаются эти же импульсы, но удвоенной частоты. Эти импульсы называются уравнивающими, они по-прежнему просчитываются (не замечаются) генератором строчной развертки. Чем больше их количество, тем более идентичны синхроимпульсы четных и нечетных полей. Уравнивающие импульсы в 2 раза короче строчных.
Таким образом, для получения устойчивой чересстрочной развертки приходится довольно сильно усложнять синхроимпульс поля (рис. 7.6).
Генератор синхроимпульсов
Как было показано, для реализации чересстрочной развертки нужны импульсы разных частот, разных длительностей и различных сдвигов между ними, чтобы сформировать удовлетворительный сигнал синхронизации. В основе синхрогенератора телевизионного передатчика лежит кварцевый генератор частотой 2МГц с относительной нестабильностью 10-6 (по ГОСТ 7845-75 погрешность частоты строк 0,016 Гц). Функциональная схема синхрогенератора дана на рисунке 7.7. После первого делителя частоты (:64) получается частота строк.
Счетчики (:25) построены на двоичном принципе с обратной связью. После этого идут формирователи, которые образуют нужную длительность и форму сигналов. После смещения сигналов и необходимых сдвигов во времени получают все необходимые составляющие для формирования полного ТВ синхросигнала.
Полный телевизионный сигнал
Полный телевизионный сигнал содержит сигнал изображения (яркости), гасящие и синхронизирующие импульсы, соотношения между которыми по амплитуде и длительности определены ГОСТ 7845-79.
Стандартом установлено, что импульсы синхронизации расположены на вершинах гасящих импульсов и их амплитуды составляют 43% от перепада между уровнем черного и уровнем белого. Помещаются синхроимпульсы ближе к левому краю гасящих импульсов. Для развертки лучше, если синхроимпульс будет возможно левее, т.к. именно с приходом синхроимпульса начинается обратный ход развертки, т.е. тем самым добавляется время на обратный ход. Однако начинать одновременно импульс гашения и СИ нельзя, чтобы на начало импульса синхронизации не накладывался сигнал яркости, который может быть близким к уровню черного на момент окончания прямого хода строки. Надо, чтобы закончились переходные процессы от сигнала (т.е. установился гасящий импульс), а потом уже начинался СИ, т.е. должен быть четко выраженный уступ в виде импульса гашения, а затем начинаться СИ. Полоса пропускания канала синхронизации в телевизионных приемниках составляет (1 2) МГц, что соответствует длительности переходных процессов 0,5 мкс. Следовательно, уступ перед строчным СИ должен быть не меньше 0,5 мкс. ГОСТом эта величина установлена в 1,5 мкс.
На уступе гасящего импульса кадра перед СИ поля должно быть 5 уравнивающих импульсов, что и определяет длительность этого уступа – не менее 160 мкс.
Эти требования к каналу синхронизации устоялись и действуют как в России, так и в других странах. Довольно сложная форма СИ поля оправдана, т.к. позволяет получить хорошую (устойчивую) чересстрочную развертку при использовании простой интегрирующей цепочки.
Строки кадра нумеруются от 1 до 625, начиная от переднего фронта кадрового синхроимпульса (КСИ) в первом поле.
Первое поле – то, у которого передние фронты КСИ и ССИ совпадают. Таким образом, первое (I) поле включает строки с 1 по 312+1/2 строки №313, а вторая половина строки №313 и все последующие строки по 625-ю включительно образуют II поле. Длительность прямого и обратного хода строки 64 мкс, поля – 20 мс, длительность строчного СИ d = 4,7 мкс, уравнивающего р = 2,35 мкс, строчного гасящего а = 12 мкс, гасящий импульс кадра j = 25Н + а = 25 64 + 12 = 1612 мкс. Первый уступ l = 2,5Н = 160 мкс, затем следует синхроимпульс поля m = 2,5Н, потом вторая последовательность уравнивающих импульсов n = 2,5Н. В нескольких строках (строчных интервалах) КСИ передаются сигналы цветовой синхронизации, которые будут рассмотрены позже.


СИСТЕМА ЧЕРНО-БЕЛОГО (ЧБ) ТЕЛЕВИЗИОННОГО ВЕЩАНИЯ
Звенья тракта передачи
Тракт вещательного телевидения (ГОСТ 18471-83) состоит из тракта передачи изображения и тракта звукового сопровождения. Первый тракт включает технические средства от объекта передающей камеры до экрана кинескопа, тракт звука – от микрофона до громкоговорителя телевизионного приемника.
Рассмотрим тракт передачи изображения. Сюда входят (рис. 8.1):
канал изображения аппаратно-студийного комплекса АСК
канал изображения сети распределения телевизионных программ СРТП
канал изображения радиотелевизионной передающей станции РТПС
ретрансляционная станция (если есть) РТС
канал изображения телевизионного приемника ТПр
антенна приемника А.
Канал АСК преобразует изображение в ТВ сигналы, обрабатывает их и передает на вход последующего звена тракта. Начало – объектив передающей камеры, конец – выходное гнездо оконечного устройства, работающего на линию связи.
Канал СРТП осуществляет последовательное соединение каналов изображения междугородных телевизионных аппаратных (МТА) и каналов изображения телевизионных соединительных линий (ТВСЛ) для передачи полного ТВ сигнала из АСК города, где формируется программа, до радиотелевизионной передающей станции или АСК другого города, где эта программа используется.
Канал РТПС предназначен для преобразования полного ТВ сигнала в радиосигнал изображения и его излучения в эфир.
Ретрансляционная станция РТС принимает сигнал вещательного телевидения, его преобразования и повторное излучение в другом радиоканале.
Телевизионная приемная система (А) – совокупность технических средств из пассивных и активных (усилительных и преобразовательных) элементов, предназначенных для преобразования электромагнитного излучения в радиосигналы вещательного телевидения, передачи и распределения их на входы телевизионных приемников.
Канал изображения телевизионного приемника ТПр предназначен для преобразования радиосигнала в телевизионное изображение (от гнезда антенны до экрана кинескопа).
Требования, нормы, показатели качества звеньев тракта изложены в соответствующих стандартах. Аппаратно-студийный комплекс представляет собой совокупность телевизионных студий и телевизионных аппаратных телевизионного центра (ГОСТ 19871-74). Наиболее сложным звеном является аппаратно-студийный комплекс, который, в свою очередь, содержит аппаратно-студийный блок АСБ, центральную аппаратную (АЦ) и аппаратно-программный блок (АПБ).
АСБ (рис. 8.2) – это автономная производственная единица для подготовки, консервации и трансляции передач, а аппаратно-программные блоки – для формирования программ из отдельных фрагментов. АСБ и АПБ оснащены всеми видами датчиков ТВ сигнала (передающие камеры, видеомагнитофоны, телекинодатчики, телеэпипроекторы и т.п.) и имеют несколько камерных каналов.
АЦ (рис. 8.3) – центральная аппаратная – осуществляет коммутацию всех входных и выходных линий. Одновременно с ТВ сигналом коммутируются сигналы звукового сопровождения, сигнализации и связи.
На рис 8.4 показана функциональная схема формирования полного телевизионного сигнала ЧБ изображения. Она содержит камерный канал тракта изображения с элементами коммутации. Сигнал берется от передающей ТВ камеры.
В передающей ТВ камере размещен видеоискатель – малогабаритное видеоконтрольное устройство (ВКУ), необходимое оператору при работе.
Сигнал с передающей трубки усиливается с помощью предварительного усилителя, расположенного вблизи трубки, затем в промежуточном и линейном усилителях, где осуществляется также дополнительная обработка сигнала (апертурная и гамма-коррекция, восстановление средней (постоянной) составляющей, а также формируется полный ТВ сигнал. Сигнал на выходе промежуточного усилителя имеет положительную полярность – потенциал белого выше потенциала черного. Форма и уровень сигнала контролируются осциллографом, а изображение – с помощью ВКУ.
С выхода промежуточного усилителя сигнал поступает на микшерно-коммутирующее устройство, на которое поступают сигналы и от других камер (датчиков). Здесь происходит выбор передающей камеры, регулировка уровня и при необходимости – смешение (вытеснение) одного изображения другим.
Основное назначение линейного усилителя – ограничение размаха сигнала и замешивание в сигнал изображения (сигнал яркости) импульсов синхронизации. Импульсы синхронизации создаются генератором синхронизации одновременно с гасящими импульсами. На выходе линейного усилителя получается полный ТВ сигнал, который затем поступает в центральную аппаратную и далее – на радиопередающее устройство.
Формирование программы звукового сопровождения производится своим каналом. Источники сигналов – высококачественные микрофоны и магнитофоны. Каждый микрофон имеет свой усилитель, с выходов которых сигналы подаются на микшерно-коммутирующее устройство.
С помощью микшерно-коммутирующего устройства звукорежиссер осуществляет выбор источника звука, регулировку и контроль уровня сигнала, наложение и смешение звуковых сигналов. Здесь же могут добавляться специальные звуковые эффекты (например, искусственная реверберация и т.п.).
В линейном усилителе происходит компрессирование (сжатие) динамического диапазона, контроль и установление величины выходного сигнала.
Канал звукового воспроизведения имеет параметры высшего класса качества:
Диапазон частот 30-15000 Гц.
Неравномерность АЧХ не более 1 дБ (5 дБ на краях).
Коэффициент гармоник 1,52%.
Защищенность от интегральной помехи 55 дБ.
Радиосигнал вещательного телевидения
Радиосигнал вещательного телевидения состоит из радиосигналов изображения и звукового сопровождения.
Радиосигнал изображения – сигнал несущей изображения, модулированный полным телевизионным сигналом (ГОСТ 7845-79). Используется амплитудная модуляция – уровень синхронизирующих сигналов соответствует максимуму радиосигнала, а уровень белого – минимуму.
Принятая негативная полярность сигнала (по огибающей) позволяет получить упоминавшиеся (гл. 7) преимущества по сравнению с позитивной полярностью. Добавим, что при негативной полярности помехи импульсного характера воспроизводятся в виде очагов затемнения, которые в общем менее заметны на изображении, чем белые – что было бы при позитивной полярности, т.е. используется одна из особенностей психофизической реакции человека.
Уровень, соответствующий белому в сигнале, должен составлять 15%2%, а минимальный уровень (остаток немодулированной поднесущей) 72%. Этот остаточный сигнал несущей изображения совместно с напряжением несущей частота радиосигнала звукового сопровождения используется в телевизионных приемниках для получения колебаний второй промежуточной частоты звукового канала. Если в радиосигнале уровень белого будет снижен до 0, то будет нарушено прохождение сигналов звука.
Полоса частот телевизионного радиопередатчика представлена на рис. 8.6.
Для сужения полосы частот радиоканала использовано частичное подавление нижней боковой полосы сигнала изображения.
Звуковое сопровождение передается на основе частотной модуляции. Максимальная девиация частоты 50 кГц. Разнос несущих частот изображения fм из и звука fм зв составляет:
fм из - fм зв = (6,500 0,001) МГц, т.е. fм зв fм из
Еще раз отметим, что частота 6,5 МГц является второй промежуточной частотой канала звука.
Полоса частот канала изображения много больше полосы частот канала звука, поэтому отношение номинальных мощностей передатчиков сигналов изображения и звука составляет (10 : 1).
Полная номинальная ширина полосы частот радиоканала телевизионного вещания составляет 8 МГц, поэтому для телевидения используются метровый и дециметровый диапазон радиоволн. В соответствии с ГОСТ 7845-79 в нашей стране предусмотрено 5 частотных диапазонов с общим количеством радиоканалов 60.
| Частотный диапазон |
Номер радиоканала |
Количество каналов | Границы диапазона, МГц |
|
метровый I (6м-4,5м) |
1,2 | (2) | 48,5-66,0 |
|
диапазон II (3,9-3м) |
3,4,5 | (3) | 76,0-100,0 |
|
III (1,72-1,3м) |
6-12 | (7) | 175,0-230,0 |
|
децимет- IV (6,38дм-5,15) |
21-34 | (14) | 470,0-582,0 |
|
ровый V (5,15дм-3,80) |
35-60 | (26) | 582,0-790,0 |
В настоящее время освоен метровый диапазон и осваивается дециметровый. Выбор нижней границы I канала определяется тем, что для выделения полного ТВ сигнала из радиосигнала надо, чтобы несущая в несколько раз превышала частотный диапазон сигнала (6 МГц). Кроме того, диапазон до 40 МГц занят для радиовещания и радиосвязи.
Верхняя граница V диапазона ограничена теми длинами волн, на распространение (поглощение) которых сильно сказывается состояние атмосферы. Поэтому дальнейшее увеличение частоты (1-10 ГГц, т.е. (30-3) см, используются только для работы в радиорелейных и космических системах связи, а также для связи с передвижными телевизионными станциями.
В соответствии с ГОСТ 7849-79 допускается использовать горизонтальную или вертикальную поляризацию волн излучения телевизионного передатчика. Преимущество отдается горизонтальной поляризации, т.к. в этом случае меньше сказываются помехи промышленного и транспортного происхождения. Кроме того, это облегчает конструирование направленных антенн. Однако вертикальная поляризация позволяет уменьшать взаимные помехи нескольких радиопередатчиков.
Телевизионный приемник черно-белого изображения
Телевизионный приемник («телевизор») предназначен для воспроизведения изображения и звука телевизионной программы, а также выбора самих программ (телевизионных каналов).
Особенностью ТВ приемника является одновременный прием сигналов изображения и звука, причем сигнал изображения имеет широкую полосу частот (6 МГц). Часть блоков приемника входят в оба канала.
Современные ТВ приемники выполняются по супергетеродинной схеме, причем канал звукового сопровождения – по схеме двойного преобразования несущей частоты. Характерная особенность ТВ приемника – широкая полоса пропускания.
Обычно телевизионный приемник делят на радиоканал, канал изображения, звука и канал развертки (рис. 8.7).
Входным устройством приемника является селектор каналов, обеспечивающий усиление радиосигналов в усилителе высокой частоты (УВЧ) и преобразование их по спектру с помощью гетеродина и смесителя. На выходе смесителя есть комбинационные частоты, в том числе те частоты, которые являются промежуточными для канала изображения fприз и звука f/прзв:
fприз = fг – fниз = 38,0 МГц
f/прзв = fг – fнзв = 31,5 МГц,
где fг – (перестраиваемая) частота гетеродина.
Промежуточные частоты выбраны ниже самого низкочастотного ТВ канала.
Выбор канала (программы) производится одновременным переключением контуров в УВЧ и гетеродине селектора каналов СК, так что значения промежуточных частот не меняется.
Основное усиление сигналов ( в 103 раз) производится в усилителе промежуточной частоты канала изображения (УПЧИ).
Поскольку при использовании только одной боковой полосы частот возникают так называемые квадратурные искажения, то нижняя боковая подавляется не полностью – полоса частот не меняется до - 0,75 МГц, а затем линейно спадает до – 1,25 МГц. Поэтому для получения результирующей АЧХ всего тракта изображения, которая отвечает постоянной реакцией на любой сигнал в диапазоне (0 6) МГц (кривая верности), АЧХ собственно радиоканала изображения должна быть несколько искажена (пунктир на рис. 8.8).
Уровень несущей частоты должен ослабляться в 2 раза (6 дБ), составляющая - 0,75МГц нижней боковой должна ослабляться на 20 дБ по сравнению с частотой 1,5 МГц из верхней боковой, уровень которой принят за опорный.
В этом случае после детектирования радиосигнала изображения суммарное напряжение, образующееся на нагрузке детектора от одинаковых частотных составляющих нижней и верхней боковой полос, на любой частоте спектра от 0 6 МГц всегда будет равна I (в относительных единицах), т.е. суммарная АЧХ канала изображения и сигнала будет соответствовать кривой верности.
Через УПЧИ проходит также сигнал звука (f/прзв). Для того чтобы этот ЧМ звуковой сигнал не попадал на левый склон АЧХ канала изображения (это вызывает помехи в виде темных горизонтальных полос, меняющихся в такт со звуком), номинально частотная характеристика УПЧИ делается со «звуковым уступом» шириной 200-300 кГц (рис. 8.10).
С выхода УПЧИ сигналы попадают на широкополосный амплитудный детектор, с помощью которого выделяется огибающая полного ТВ сигнала. Размах этого сигнала мал, поэтому перед подачей в цепь катода кинескопа он усиливается в 30-50 раз (видеоусилитель).
Одновременно с детектированием видеосигнала в блоке амплитудного детектора, в силу его нелинейности, получается, в том числе (среди других комбинационных частот), сигнал с разностной частотой:
6,5
МГц,
которая является второй промежуточной частотой сигнала звукового сопровождения. Сигналы этой частоты выделяются частотно-избирательной системой в виде усилителя промежуточной частоты звукового сопровождения (УПЧЗ). Стабильность частоты f//прзв обеспечивается на передающем телевизионном центре, поэтому имеет очень высокий уровень.
После усиления в УПЧЗ частотно-модулированный сигнал промежуточной частоты звукового сопровождения имеет паразитную амплитудную модуляцию сигналами изображения, поэтому дальше стоит амплитудный ограничитель. Частотный детектор выполнен по схеме частотного дискриминатора (детектор отношений). После него идет усилитель низкой частоты (УНЧ).
Канал разверток начинается с амплитудного селектора, отделяющего синхроимпульсы. Для разделения импульсов строк и полей используются дифференцирующая и интегрирующая цепочки.
Генератор строчной развертки более подвержен воздействию помех, поэтому в этих генераторах нередко используются автоматическая подстройка частоты и фазы автономного генератора синхронизации (схемы инерционной синхронизации).
Иногда делают для канала звука отдельный амплитудный детектор – чтобы сигнал звука не шел по каналу изображения – его пораньше выделяют, а остатки уничтожают режекторным фильтром.
ГОСТ 18198-79 определяет следующие параметры ТВ приемников черно-белого изображения:
Частотные диапазоны |
||
| I, II, III | IV, V | |
| Чувствительность канала изображения не хуже | 100 мкВ | 140 мкВ |
| Избирательность по зеркальному каналу | 45 дБ | 50 дБ |
| Максимальный входной сигнал | 87 мВ | 87 мВ |
|
Разрешающая способность по горизонтали и вертикали |
500 лин | 500 лин |
| Максимальная яркость свечения |
150 кд/м2 |
150 кд/м2 |
| Контраст не менее 150:1 (в крупных деталях) | ||
| Чувствительность звукового канала | 55 мкВ | 110 мкВ |
|
Диапазон частот звукового канала 10010000 Гц |
||



| 1. | ПРИНЦИПЫ ТЕЛЕВИДЕНИЯ | 3 |
| 1.1. Поэлементный анализ и синтез оптических изображений | 3 | |
| 1.2. Пространственные частоты поля изображения | 5 | |
| 1.3. Преобразование изображения в электрический сигнал | 6 | |
| 1.4. Обобщенная структурная схема телевизионной системы | 8 | |
| 2. | ОПТИЧЕСКОЕ ИЗОБРАЖЕНИЕ И ЕГО ВОСПРИЯТИЕ | 11 |
| 2.1. Глаз человека | 11 | |
| 2.2. Элементы светотехники | 11 | |
| 2.3. Светотехнические единицы | 13 | |
| 2.4. Энергетические характеристики зрения | 17 | |
| 2.5. Временные характеристики зрения | 19 | |
| 2.6. Пространственные характеристики зрения | 20 | |
| 3. | ТЕЛЕВИЗИОННОЕ ИЗОБРАЖЕНИЕ И ЕГО ПАРАМЕТРЫ | 26 |
|
3.1. Согласование параметров телевизионного изображения с характеристиками зрительной системы человека |
26 | |
| 3.2. Масштабные /координатные/ параметры ТВИ | 27 | |
| 3.3. Временные параметры ТВИ | 29 | |
| 3.4. Параметры, определяющие восприятие яркости | 29 | |
| 4. |
ПРЕОБРАЗОВАТЕЛИ ОПТИЧЕСКОГО ИЗОБРАЖЕНИЯ В ЭЛЕКТРИЧЕСКИЙ СИГНАЛ |
32 |
| 4.1. Датчики ТВ сигнала и их характеристики | 32 | |
| 4.2. Фотоэлектронные эффекты | 32 | |
| 4.3. Формирование и перенос электронного изображения | 34 | |
| 4.4. Диссектор | 35 | |
| 4.5. Суперортикон | 36 | |
| 4.6. Видикон | 39 | |
| 4.7. Многосигнальные видиконы | 40 | |
| 4.8. Приборы с зарядной связью | 42 | |
| 5. | ПРЕОБРАЗОВАТЕЛИ ЭЛЕКТРИЧЕСКИХ СИГНАЛОВ В ОПТИЧЕСКОЕ ИЗОБРАЖЕНИЕ | 49 |
| 5.1. Принципы воспроизведения изображений | 49 | |
| 5.2. Развертывающие устройства кинескопов | 49 | |
| 5.3. Эквивалентная схема отклоняющей системы | 53 | |
| 5.4. Кинескопы черно-белого изображения | 53 | |
| 5.5. Трехлучевой цветной кинескоп | 56 | |
| 6. | ХАРАКТЕРИСТИКИ ТЕЛЕВИЗИОННОГО СИГНАЛА | 64 |
|
6.1. Пространственные частоты изображения |
64 | |
| 6.2. Пространственная фильтрация изображения | 65 | |
| 6.3. Частотный спектр сигнала изображения | 68 | |
| 6.4. Полоса частот телевизионного сигнала | 70 | |
| 6.5. Чересстрочная развертка | 71 | |
| 7. | СИНХРОНИЗАЦИЯ ПРОЦЕССА РАЗВЕРТКИ | 75 |
| 7.1. Методы синхронизации | 75 | |
| 7.2. Требования к сигналам синхронизации | 75 | |
| 7.3. Форма сигналов синхронизации | 77 | |
| 7.4. Генератор синхроимпульсов | 78 | |
| 7.5. Полный телевизионный сигнал | 78 | |
| 8. | СИСТЕМА ЧЕРНО-БЕЛОГО /ЧБ/ ТЕЛЕВИЗИОННОГО ВЕЩАНИЯ | 81 |
| 8.1. Звенья тракта передачи | 81 | |
| 8.2. Радиосигнал вещательного телевидения | 82 | |
| 8.3. Телевизионный приемник черно-белого изображения | 83 |