рефераты
Главная

Рефераты по международному публичному праву

Рефераты по международному частному праву

Рефераты по международным отношениям

Рефераты по культуре и искусству

Рефераты по менеджменту

Рефераты по металлургии

Рефераты по муниципальному праву

Рефераты по налогообложению

Рефераты по оккультизму и уфологии

Рефераты по педагогике

Рефераты по политологии

Рефераты по праву

Биографии

Рефераты по предпринимательству

Рефераты по психологии

Рефераты по радиоэлектронике

Рефераты по риторике

Рефераты по социологии

Рефераты по статистике

Рефераты по страхованию

Рефераты по строительству

Рефераты по таможенной системе

Сочинения по литературе и русскому языку

Рефераты по теории государства и права

Рефераты по теории организации

Рефераты по теплотехнике

Рефераты по технологии

Рефераты по товароведению

Рефераты по транспорту

Рефераты по трудовому праву

Рефераты по туризму

Рефераты по уголовному праву и процессу

Рефераты по управлению

Доклад: Мобильная связь

Доклад: Мобильная связь

РОЛЬ И МЕСТО МОБИЛЬНОЙ СВЯЗИ

НА РЫНКЕ ИНФОРМАЦИОННЫХ УСЛУГ

 Мобильными системами связи называю такие сети, которые обладают различными комбинациями мобильности.

 Терминальная мобильность – возможность МС получать услуги связи при движении и способность сети идентифицировать, определять местоположение и сопровождать терминал.

 Персональная мобильность – возможность пользователя получать услуги связи (прием и посылку вызова) с любой МС на базе персонального идентификатора и способность сети обеспечить эти услуги, в соответствии с потребностями пользователя. Персональная мобильность подразумевает способность сети определять МС пользователя с целью операции, сопровождения и выполнения вызова.

В настоящее время в России получили применение следующие мобильные системы:

сотовые системы

транкенговые системы

системы персонального радиовызова

системы бесшнуравой телефонии

глобальные спутниковые системы

 На конец 1998 г. число абонентских сетей подвижной радиосвязи составляет 800 тыс. абонентов. Из них около 770 тыс. абоненты сотовой связи в 74 регионах, пэйджинг 450 тыс. абонентов в 69 регионах, транкенговых 40 тыс. Абонентов.

    Однако развитие мобильности затрудняется по ряду причин:

острый дефицит спектра частот

низкий уровень телефонизации в России

низкая плотность населения и неравномерность распределения

низкая платежеспособность населения

 Сотовая связь, вступившая в 26–ой год своего существования и16–ый год коммерческого использования, продолжает уверенно расширять рынок предоставления услуг. На смену аналоговым приходят цифровые системы второго поколения и в то же время ведутся интенсивные подготовки систем третьего поколения.

 На этом фоне успехи в Росси в развитии сотовой связи более, чем скромны: на долю России приходится менее 0,2% мировой абонентской баз, а проникновение в 15 раз ниже среднемирового,в 50 раз ниже Западно–Европейского и более, чем в150 раз ниже, чем в Скандинавских странах. Такое отставание недопустимо потому, что мобильная связь – серьезный смысл экономического прогресса.

  Коммерческая эксплуатация сотовой связи началась в 1981–1982 г.г.(Ближний Восток, Скандинавия, США, Япония). По состоянию на начало 1997г. сотовой связью пользуется около 40 млн. абонентов, более чем в 110 странах всех континентов.

 Доминирующее положение на мировом рынке занимает Северо–Американский стандарт AMPS/D-AMPS, на него приходится более половины всей абонентской базы мира. На втором месте (пятая часть абонентской базы) находится общеевропейский стандарт GSM, включая GSM 900, GSM 1800, GSM 1900. На долю всех остальных стандартов, вместе взятых, остается менее 30% абонентской базы.

 Аналоговые системы связи пока доминируют, на их долю приходится около 2/3 абонентской базы. Но цифровые сети растут быстрее аналоговых: относительный годовой прирост абонентской базы цифровых сетей почти втрое превышает средний, по всем сетями почти в пять раз по аналоговым.

 Основную часть цифровых сотовых систем составляют, сети GSM на них приходится около 60% абонентской базы цифровых сетей мира.

Далее идут RDS (Японии) и D-AMPS (Американский TDMA) – соответственно 31% и 8%,”цифровой части” абонентской базы (Рисунок-1,2).В 1995г. Была начата коммерческая эксплуатация сетей CDMA.

                       

          В России коммерческое использование сотовой связи началось 1991–1993г.г. По данным Госкомнадзора  абонентов сотовой связи около 770 тыс. в 74 регионах и к 2000г. достигнет 1,2 млн. абонентов.

    – начало 1999г.

NMT-450   210000 тыс. аб.        AMPS/D-AMPS   250000 тыс. аб.

GSM-900   291000 тыс. аб.        GSM-1800             21000   тыс. аб.

 Наиболее распространенным в России стандарт AMPS/D-AMPS на его долю приходится почти половина абонентской базы. Рост числа абонентов AMPS/D-AMPS растет за счет создания новых сетей в уже существующих. Оставшуюся часть делят между собой NMT-450 и  GSM-900. Цифровые сети в России растут также быстрее аналоговых: относительный годовой прирост абонентской базы цифровых сетей в два с лишнем раза выше аналоговых.

На рынке услуг сотовой связи работают компании: Московская сотовая связь, БиЛайн, Дельта Телеком, Северо–Западный GSM, Сотел и многие другие фирмы операторы.

Таблица 1. Стандарты сотовой связи,                                                                                                       применяемые  на территории России

Стандарт, система Диапа­зон, МГц Характерис­тика Статус Регион России Распространен­ность в мире Примечание
D-AMPS, 800 Цифровой Региональный Москва, Омск, Северная и Южная Наиболее широко приме-­
IS-54, IS-136 TDMA Иркутск. Оренбург Америка и др. няемые стандарты в мире
(кроме Европы)
AMPS, 800 Аналоговый Тоже Архангельск, Северная и Южная
EIA/TIA-553 Владивосток, Воронеж и др. Америка и др.
N-AMPS, 800 Санкт-Петербург, США Малораспространенный
IS-88.IS-91 Новосибирск стандарт
IS-95 800 Цифровой Только для Москва, Челябинск Северная Америка
CDMA Местной и Южная Азия
связи (WLL) (для сотовых систем
и систем PCS)
GSM 900 Цифровой Федеральный Москва, Санкт-Петербург, Европа и др. Основной стандарт
TDMA Челябинск. для Европы
Ростов-на-Дону и др.
DCS-1800 1800 Цифровой Не установлен Москва Европа и др.
TDMA
NMT-450 450 Аналоговый Федеральный Москва. Санкт-Петербург. Скандинавские
Псков, Омск, Новгород страны
и областные регионы
ОБЗОР СИСТЕМ СОТОВОЙ СВЯЗИ

В ДИАПОЗОНЕ 800 МГц

  Это один из диапазонов с наиболее ожесточенной конкуренцией. На рынке коммуникаций в этом диапазоне предлагается оборудование для систем связи в разнообразных стандартах. В ос­новном это диапазон пакета американских стандар­тов, куда входят аналоговый стандарт EIA/TIA-553 (часто обозначаемый просто как AMPS 800) цифро­вые стандарты TDMA IS-54 и IS-136 и цифровой стан­дарт CDMA 1S-95. Все ли стандарты применяются также и в России для региональных сотовых систем данного диапазона

.

2.1 СИСТЕМА AMPS ПО СТАНДАРТУ EIA/TIA-553

      Это по-видимому, самая совершенная из совре­менных аналоговых систем сотовой связи. Однако, как все аналоговые системы, она имеет низкую спектраль­ную эффективность. Обратная спектральная эффек­тивность 210 кГц/сеанс связи (в среднем на 3-сектор-ную БС). Поэтому она постепенно (хотя и медленно) вытесняется цифровыми системами и практически не развивается. К моменту появления цифровых систем множественного доступа эта система была уже очень широко распространена, в особенности в США. Поэ­тому согласно американским правилам все системы пакета американских стандартов в диапазоне 800 МГц должны обеспечивать сервис терминалам по стандарт ЕIА/ТIА-553. Это правило налагает достаточно серьез­ные ограничения на цифровые американские системы, из которых главным является предопределенная (и по-видимому, неоптимальная) ширина частотного канала систем цифровых ТDMA D-AMPS. а также не­обходимость выделять некоторое количество частот­ных каналов для аналоговой связи, в результате чего полоса частот используется менее эффективно. Хотя как было отмечено ранее, системы по стандарту EIA/TIA-553 частично устарели, по в силу их обяза­тельной поддержки со стороны всех развивающихся американских цифровых систем стандарт EIA/TIA-553 имеет все шансы войти в систему персональной связи "на их плечах»,

      В России системы по стандарту EIA/TIA-553 уста­новлены в более чем 40 городах (Архангельск, Астра­хань, Владивосток, Владимир, Воронеж, Мурманск, Нижний Новгород, Омск, Петропавловск, Ростов-на-Дону, Саратов, Сочи, Тюмень, Хабаровск, Челябинск и другие). Однако можно полагать, что в крупных го­родах он постепенно будет )изменяться цифровыми. Например, в Москве в диапазонах выше 450 МГц теперь применяются только цифровые системы — D-AMPS и GSM. В районах же с невысокой плотностью населения с ними вполне могут конкурировать систе­мы в стандарте NMT-450, а в ближайшем будущем и системы персональной спутниковой связи. Поэтому сохранять в России требование обязательной его под­держки цифровыми системами пакета американских стандартов в достаточно далекой перспективе может быть и нецелесообразно. В этой связи все же следует отметить, что для систем по стандартам IS-54 и IS-136 не следует переоценивать при этом возможный выиг­рыш: число выделенных для аналоговой связи каналов невелико, а никаких иных изменений локально для России сделать нельзя.

2.2 СИСТЕМА N-AMPS ПО СТАНДАРТУ IS-88

  Система N-AMPS является удешевленной версией аналоговой системы AMPS, причем удешевление до­стигается за счет комфорта пользователя. В этом отно­шении система N-AMPS в некотором смысле пошла «против течения» общего эволюционного процесса в сотовой связи и даже связи вообще. Общая тенден­ция для сотовой связи — движение в сторону увеличе­ния комфорта при умеренном увеличении капиталь­ных вложений и сохранении или снижении стоимости минуты графика. Та же тенденция наблюдается для транкинговых систем, которые в их современной фор­ме почти сливаются с сотовыми, главным образом от­личаясь выбором иных критериев для оптимизации показателя стоимость/комфорт в соответствии с их назначением для корпоративной и профессиональной связи. Система N-AMPS оказалась зажатой между этими группами и не имеет, по-видимому, достаточ­ной экологической ниши для развития.

      Это, конечно, не значит, что N-AMPS вообще не имеет своей ниши, где она может долгое время суще­ствовать, но, продолжая аналогию, — это, несомнен­но, эндемическое животное, вроде сумчатого волка. Эволюционировать она не будет и в достаточно долго­временной перспективе обречена.

  Тем не менее как временная мера с последующим переходом к перспективным цифровым системам, применение ее вместо AMPS может быть вполне оп­равданно, поскольку переход от N-AMPS к D-AMPS, вероятно, не сложнее. При этом вполне возможно, что «немодное» оборудованиеN-AMPS может быть не­пропорционально дешево.

      В России система установлена в Санкт-Петербурге и Новосибирске. И все же система N-AMPS, по-види­мому не имеет шансов быть интегрированной в систе­му персональной связи или войти в общероссийскую международную систему сотовой связи, когда она бу­дет реализована.

      В техническом плане система N-AMPS отличается от AMPS более узким частотным каналом — 10 вместо 30 кГц. Это оказалось возможным потому, что речевой сигнал в аналоговой форме занимает всего 4 кГц и для его достаточно помехоустойчивой передачи полоса в 10 кГц достаточна (в AMPS для передачи голоса ис­пользуется частотная модуляция с амплитудой всего ±3 кГц). Однако трехкратного увеличения емкости си­стемы при этом не происходит, так как интерферен­ция между частотными каналами определяется не столько шириной канала, сколько расстоянием между ними. Поэтому частотный план в системе N-AMPS выбран 1:36 на сектор против 1:21 для AMPS. Соответ­ственно спектральная эффективность улучшилась не в 3. а только в 1.75 раза. Обратная спектральная эф­фективность для N-AMPS 120 кГц/сеанс связи (в среднем на 3-секторную БС) против 210 для AMPS. Но и такое изменение частотного плана, по-видимому, не обеспечивает сохранения того же уровня отноше­ния   сигнала   к   интерференции   (параметр Carrier/Interference — C/I), как в AMPS, так что каче­ство передачи голоса ухудшилось, хотя и не вследствие частотных искажении. Кроме того. система неизбеж­но испытывает трудности при передаче сигналов уп­равления. В AMPS эти сигналы передаются с темпом 10 кБит/с. что невозможно в канале N-AMPS при той же помехоустойчивости. Таким образом, как уже было отмечено, увеличение спектральной эффективности системы (и. следовательно, экономических характе­ристик) достигается за счет комфорта. Трудно оце­нить. насколько обоснован сделанный выбор и в ка­ких ситуациях он оправдан, но то. что увеличение спе­ктральной эффективности достигнуто недаром, со­мнений не вызывает.

  Относительно системы N-AMPS данных немного, так что вышеприведенный анализ в значительной ме­ре основан на экстраполяции.

2.3 СИСТЕМА DAMPS ПО СТАНДАРТУ IS-54, 1S-136

  Цифровая система D-AMPS по технологии множе­ственного доступа TDMA — в настоящее время самая распространенная из цифровых сотовых систем в ми­ре. Коммерческая эксплуатация оборудования в США

ведется с 1991 года. Из-за необходимости обеспечить преемственность с аналоговым стандартом в США стандарт применяет неоптимальный выбор некоторых параметров (в основном малая ширина частотного ка­нала — 30 кГц по сравнению с 200 кГц в аналогичном по назначению стандарте GSM 900). Стандарт непре­рывно развивается и по основным характеристикам практически не уступает стандарту GSM.

  Намечено введение прогрессивных алгоритмов динамического назначения каналов в зависимости от ре­альной обстановки, учета голосовой активности и бо­лее тонкой регулировки мощности подвижных терми­налов, что в комплексе должно привести к многократ­ному увеличению спектральной эффективности (на­пример, в технологии E-TDMA). Система D-AMPS является одним из фаворитов при формировании Ми­ровой системы персональной связи. Существует вер­сия стандарта в перспективном диапазоне 1900 МГц.

  С действующей версией стандарта IS-54 система имеет обратную -спектральную эффективность 70 кГц/сеанс связи (в среднем на 3-секторную БС).

       Вариант IS-136 D-AMPS представляет собой цифровую технологию, основанную на схеме многостанционного доступа с временным разделением каналов. Эта система была разработана для использования того же самого участка спектра, схемы повторного использования частоты и структуры сети. что используется в аналоговой сотовой системе AMPS. IS-136 позволяет организацию сотовых систем, систем персональной связи (PCS) и стационарного абонентского ралиолоступа (WLL).

       Стандарт радиоинтефейса IS-136 представляет собой дальнейшее развитие стандартов IS-54 TDMA. В IS-136 D-AMPS используется Цифровой канал управления (DCCH) 48.6 кбит/с. который обладает возможностями сигнализации и передачи сообщений, позволяющими обеспечить выполнение широкого набора функций, таких как служба кратких текстовых сообщений.

IS-136 использует частотные каналы 30 кГц в дуплексной схеме 45 МГц FDD для прямого и обратного каналов связи. Каждый 30 кГц радиочастотный канал поддерживает три полномасштабных абонента. В настоящее время технология D-AMPS обеспечивает немедленное трехкратное повышение пропускной способности по сравнению с AMPS.

Как и в случае системы AMPS, D-AMPS требует значительного частотного планирования с использованием схемы N=7. Отношение сигнал-помеха (SIR) в 18 дБ необходимо для удовлетворительного качества работы системы. Для того. чтобы удовлетворить растущий спрос на обслуживание, используется сложная секторизация и деление сот, что позволяет повысить пропускную способность от зоны к зоне. Типичная сеть D-AMPS планируется с использованием иерархической структуры с макросотами (для обеспечения зоны охвата), микросотами (для обеспечения пропускной способности, изолированных групп пользователей, частных сотовых систем) и пикосотами (для обеспечения зон охвата на уровне отдельных зданий и жилья).

      В России система D-AMPS принята как региональ­ный стандарт. Системы по стандарту IS-54 созданы в Москве, (заканчивается внедрение следующей вер­сии — 1S-136), Омске, Иркутске, Оренбурге.

2.4 УСЛУГИ

В конечном итоге объем и качество предоставля­емых услуг определяют перспективность и совре­менность любой системы связи. Расширение ус­луг — это в конечном счете увеличение прибыли , это то, что двигает технику вперед.

Вот далеко не полный перечень разрабатывае­мых и частично уже внедряемых современных услуг связи.

Передача сообщенйй. До сих пор ис­пользовались в основном голосовая почта и пейджинговые сообщения. Но есть и другие возможные опции, такие как оповещение абонента о получе­нии голосового сообщения в любой момент, под­ключение к разговору в момент получения голосо­вого сообщения, а не после, передача коротких со­общений с отображением непосредственно на дис­плее радиотелефона, в том числе и широковеща­тельных, и др. Разрабатываются алгоритмы перево­да сообщений из одной среды в другую (например, из Е-почты в короткое сообщение или факс и т.д.), алгоритмы распознавания и конвертирования текс­тов в речь или наоборот, автоматизированная пере­сылка сообщения на Е-почту, если абонент в дан­ный момент занят, и др.

Передача данных которая не ограничи­вается только передачей приемом данных, а пре­дусматривает возможность ПЕРЕДАЧИ И ПРИ­ЕМА МУЛЬТИМЕДИА.

Роуминг. Согласно предусматриваемой концепции развития абонент должен всегда и везде без проблем пользоваться своим радиотелефоном неза­висимо от используемого в системах стандарта и диапазона частот.

Индификация вызывающего абонента. Это либо высвечивание но­мера вызывающего на сотовом радиотелефоне, ли­бо сообщение номера радиотелефона вызывающего абонента его собственным голосом.

Оплата вызовов за счет вызывающего або­нента.

Доступ через радиотелефонный аппарат к СВОЕМУ ДОМАШНЕМУ КОМПЬЮТЕРУ (Remote Control of Call Waiting).

Использование «интеллектуальных» карт для идентификации абонента.

* Персональный единый номер. С рас­ширением объема индивидуальных услуг телефон­ные номера становятся связанными с личностью, а не с местом пребывания. Попросту говоря, ПЕР­СОНАЛЬНЫЙ ЕДИНЫЙ НОМЕР является тем ушком, по которому абонент может получить услу­гу, где бы он ни находился. В США все больше и больше номеров выделяется для услуги ПЕРСО-НАЛЬНОЕО ЕДИНОГО НОМЕРА. Предоставление услуги ПЕРСОНАЛЬНОГО ЕДИНОГО НОМЕРА предусматривает создание платформ, которые будут автоматически направлять вызов на сотовый телефон, если он включен, или же на «интеллектуальную погрузочную станцию», ко­торая направит вызов либо на офисный, либо на до­машний телефон. Абонент может также обозначить номер, по которому будут перенаправляться все вы­зовы. Можно будет МАРШРУТИЗИРОВАТЬ вызо­вы, например, направив сигнал вызова домой или в офис, затем на сотовый телефон и, в конце кон­цов, на голосовую почту. Приходящие факсы можно будет отображать на экранах компьютеров.

Маршрутизирование вызовов — это первый этап ввода услуги персонального единого номера. Одна­ко программирование информации о маршрутизировании вызова громоздко и зачастую требует учас­тия в этом процессе самого абонента. В перспекти­ве предполагается полная автоматизация процесса.

3 ХАРАКТЕРИСТИКИ СТАНДАРТОВ

AMPS И D-AMPS

 3.1 ХАРАКТЕРИСТИКИ СТАНДАРТА AMPS

Стандарт аналоговый

Рабочий диапазон 825-845, 870-890 МГц

Метод мультидоступа FDMA  ( в полосе системы 20 МГц организуются методом ЧРК 666 дуплексных радио каналов с шириной каждого канала 30 кГц.)

Метод дуплексирования  FDD (каналы передачи и приема разнесены по частоте дуплексный разнос 45 МГц .)

Число каналов связи на один радио канал 1

Мощность передатчика МС 1вт, автомобильный 12вт

Минимальное отношение сигнал/шум 10 дБ

Время переключения канала на границе ячейки 250 Мс

Вид модуляции FM (с девиацией частоты в речевом канале 12 кГц )

Вид модуляции в  канале управления FSC (с девиацией частоты 8 кГц )

Тип кода в  канале управления - мончестерский

Скорость передачи сигналов управления 10кБит/с

Виды каналов (речевые и аналоговые)

Организация каналов управления

    В рассматриваемой системе используются два типа каналов управления: пря­мой и обратный. Информация по прямому каналу управления в направлении от базовой станции к подвижной передается со скоростью 8 Кбит/с непре­рывным потоком, который, при отсутствии информации для последней, со­держит лишь контрольный текст. Это является необходимым условием фун­кционирования системы, так как в свободном состоянии приемное устройство подвижной станции сканирует каналы управления, выбирая канал с наибо­лее высоким уровнем сигнала. Для передачи служебной информации в кана­лах управления используются сообщения стандартных форматов.

В прямом канале управления сообщения стандартных форматов используются для передачи следующих сведений:

О состоянии соответствующего обратного канала управления (сво­бодно/занято)

Информационных данных (слова А) для четных номеров абонентов

Информационных данных (слова В) для нечетных номеров абонентов

Разряды, отражающие состояние обратного канала (свободно/занято), всегда располагаются на одних и тех же позициях передаваемого сообщения, с тем что­бы упростить их выделение из общего потока информации. Объединение двух потоков информации (слова А и слова В) уменьшает временной промежуток, отведенный для синхронизирующей последовательности. Достоверность при­нимаемой информации увеличивается благодаря многократной ее передаче (пять повторов), что особенно важно для каналов, подверженных замираниям и ин­терференции сигналов. Для обеспечения необходимой достоверности инфор­мационные слова кодируются и объединяются с разрядами коррекции ошибок. В приемнике осуществляется мажоритарное накопление последовательностей по соответствующим правилам принятия решения (3 из 5). В прямом канале уп­равления каждое кодовое слово содержит 28 бит информации и 12 бит коррек­ции ошибок; в обратном канале управления используются 36 информационных бит и 12 бит коррекции ошибок. Код с такой структурой позволяет исправлять однократную ошибку и обнаруживать 4 ошибки. Информационные слова — это сложные пакеты информации, разделенные на группы или на отдельные разря­ды, каждый из которых определяет параметры системы, цифру в набираемом номере и т. п. Более точное содержание формата слова зависит от типа сообще­ния, а длина полного информационного слова может составлять 463 бита.

3.2 ХАРАКТЕРИСТИКИ СТАНДАРТА DAMPS

Метод доступа - TDMA

Количество радиоканалов на несущую - 3

Рабочий диапазон частот: 824-840 МГц 869-894 МГц

Разнос каналов: 30 кГц

Эквивалентная полоса частот на один разговорный   канал-10 кГц

Вид модуляции - л/4 DQPSK

Скорость передачи информации - 48 кбит/с

Скорость преобразования речи - 8 кбит/с

Алгоритм преобразования речи - VSELP

СОВЕРШЕНСТВОВАНИЕ ТЕХНОЛОГИИ ПЕРЕДАЧИ ИНФОРМАЦИИ И ДОСТУПА К СИСТЕМЕ.

Технология   много станционного   доступа   с   временным разделением каналов и расширенными возможностями E-TDMA (Extended TDMA) разработана ф. Hughes Network Systems и предполагается для внедрения в ближайшем будущем (так называемая вторая фаза развития системы). Основная цель технологии - увеличение пропускной способности (емкости) системы за счет использования технологий полускоростного вокодера, цифровой интерполяции речи OSI (Digital Speech Interpolation) и интерполяции временного доступа TASI  (Time Assignment Interpolation).

Технология повышает эффективность работы системы в 7-11 раз, позволяя по трем каналам связи передавать информацию до 20 пользователей (а в некоторых версиях по 19 каналам до 208 пользователей). За счет уплотнения и интерполяции речевого сигнала коэффициент полезного использования  временного интервала увеличивается от 11 до 17 раз. Емкость системы увеличивается в 5,2 раза (при неблагоприятных условиях наличия помех) и в 8,6 раз (при благоприятных условиях).

Технология  множественного  доступа  к  системе  с пространственным разделением каналов SDMA (Space Division Multiple Access) разрабатывается в рамках Европейской программы COST 231 (ПРОЕКТ TSUNAMI) и использует концепцию "смарт" антенн   (smart   -   дословный   перевод:   сообразительный, интеллектуальный). В целях увеличения зоны обслуживания базовых станций, улучшения качества передачи и уменьшения мощности,  излучаемой  подвижными  станциями,  технология предполагает использование систем с адаптированными антенными решетками (АФАР). И хотя оборудование уже появляется на рынке и преимущества технологии очевидны (по-видимому, за ними -будущее), некоторые вопросы требуют исследований и анализа, в частности,   разработка   оптимальных   алгоритмов   работы, оптимального взаимодействия прямого и обратного каналов трафика, оптимального приема сигналов при многопутевом распространении маркетинговых исследований в части возможного увеличения объема и стоимости аппаратуры и обоснованности решения о ее использовании.

Технология адаптивного назначения каналов связи АСА (Adaptive Channel Allocation) практически устранит необходимость планирования частот, облегчает изменение и расширение сети, решает проблему перегрузок трафика и повышает качество обслуживания пользователей. Цель технологии - оптимальный выбор канала с наилучшим качеством выполнения услуг. Использование технологии становится особенно актуальным в системах со сложной архитектурой и при уменьшении радиусов сот (микросот)   при   соответственно   увеличивающемся   потоке выполнения функций передачи управления (hand over (off)).

Различают медленно и быстро действующие функции АСА. Задача медленно действующей функции АСА - адаптирование частотного плана, исходя из усредненного состояния трафика и помеховой остановки. Задача быстро действующей АСА -оперативное назначение каналов связи, исходя из конкретного состояния интерфейса на момент выполнения функции и опираясь на результаты работы медленно действующей АСА. Достаточно перспективно направление - совместное использование комбинации функций АСА и регулировки мощности PC (Power Control), улучшающей помеховую обстановку в окружающем пространстве в момент выполнения функции адаптивного назначения канала. Использование технологии АСА позволяет повысить емкость системы в 2-3 раза.

Преимущества технологии очевидны, и в рамках стандарта IS-136 предусмотрено его введение уже в ближайшее время. Однако при адаптивном назначении каналов достаточно критичен правильный выбор алгоритма работы, т.к. затруднен контроль качества выполнения услуг и емкость системы.

Технология  создания  пилот-каналов.  Для  обеспечения стабильной работы системы предлагается ввести в систему со сложной архитектурой пилот-каналы, содержащие необходимую информацию о сети, информацию для ее быстрой идентификации, сведения о ее внешней и внутренней инфраструктуре и т.д. Во избежание воздействия случайных помех на работу системы предлагается иметь, по крайней мере, два дубликата пилот-канала на верхней и нижней частотах отведенного спектра. Для стабильной работы системы рекомендуется регулярная передача фрейма пилот-канала

Предполагается следующий алгоритм работы системы. При включении подвижная станция должна настроится на один из двух пилот-каналов, синхронизироваться, демодулировать сигнал и

получить необходимую информацию о системе. Эта информация позволит   подвижной   станции   лучше   и   оперативнее синхронизировать работу на первом (физическом) уровне управления и подготовиться к получению дальнейшей информации от  какой-либо   конкретной   соты   после  соответствующей синхронизации с ее каналом управления.

Технология   динамической   регулировки   каналов.   Для оперативного изменения объема передаваемой информации предлагается использовать динамическую регулировку временного слота канала управления. В частности, после установки вызова и во время его выполнения можно соответствующим образом изменять длительность слота передачи информации канала управления и подстраивать его под конкретный трафик, необходимый в каждый конкретный момент времени. Формат каждого фрейма точно мультиплексируется в зависимости от потребностей, это позволит при необходимости добавлять информацию, обеспечивающую стабильную работу системы, например, о близости расположения границ сот и т.д.

СОВЕРШЕНСТВОВАНИЕ ТЕХНОЛОГИИ ПЕРЕДАЧИ РЕЧИ

 Совершенствование    технологии    кодирования    речи. Используемый в системе D-AMPS метод кодирования речи VSELP со скоростью 7,95 кбит/с, разработанный ф. Motorola, обеспечивает достаточно   высокое   качество   передачи   речи.   Качество передаваемого сигнала, оцениваемое по пятибалльной шкале усредненной субъективной оценки MOS, равно 3,435 балла (для сравнения - стандартная скорость кодирования в 64 кбит/с оценивается по этой шкале в 4,116 балла). Все более и более актуальным становится снижение скорости кодирования, но при сохранении качества передачи.  Поэтому следует ожидать использование в системах других алгоритмов кодирования. С этой точки зрения привлекает внимание разработанный недавно фирмами Audio-codes и DSP Group масштабируемый алгоритм кодирования MPMLQ (Multipulse Maximum Likety - hood Quantization), позволяющий  разрабатывать  оборудование  со  скоростями кодирования вплоть до 4 кбит/с при задержках, непревышающих 20 мс. Усредненная оценка MOS в 3,901 балла ясно иллюстрирует преимущества этой технологии.

Речевой кодек. Аналоговый речевой сигнал преобразуется в речевую форму VSELP (Vector Sum Excited Linear Prediction) кодером. Речевой сигнал разбивается на сегменты по 20 мс, которые преобразуются в 159 кодированных бит, передаваемых со скоростью 7,95 кбит/с. Метод кодирования VSELP, разработанный ф. Motorola, обеспечивает достаточно высокое качество передачи речи. Качество передаваемого сигнала, оцениваемое по пятибалльной шкале усредненной субъективной оценки MOS (Mean Opinion Score), равно 3,435 балла (см. рис. "Речевой кодек").

Канальный кодер. Для канального кодирования используется сверточный код со скоростью r = 1/2. В этом процессе пакет в 159 бит от речевого кодера разбивается на две группы бит: класс 1-77 бит, класс 2-82 бита. В группе бит 1 класса осуществляется указанное сверточное кодирование, причем 7 бит используются для обнаружения ошибок, биты второго класса передаются без кодирования. В результате преобразований в канальном кодере речевой фрагмент 20 мс представляется 260 битами, что соответствует скорости передачи 13 кбит/с (см. рис. "Канальный кодер"),

Характеристика перемежения. Пакет из 260 бит подвергается перемежению. Любой речевой фрагмент разбивается на две равные части. Одна из этих частей передается в исходном окне фрагмента, а другая - в окне, сдвинутом на 3 окна (например, в окнах 1 и 4). Следующий фрагмент речи, длительностью 20 мс, передается в окне 4 и в окне 1 в следующем кадре (см. рис. "Характеристика перемежения").

Формирование ТРМА-кадра. Структура TDMA-кадров в прямом и обратном каналах для стандарта с полускоростным речевым каналом представлена на рис.

Модуляция сигналов в радиоканале. Для передачи сообщений по РК используется спектрально-эффективная П/4 DQPSK-модуляция, реализуемая квадратурной схемой с прямым переносом на несущую частоту (см. рис. "П/400Р8К-модуляция").

Формирование сигналов четырехфазной ФМ (ФМ-4).

Поясним работу квадратурной схемы на примере формирования сигналов четырехфазной ФМ (ФМ-4).

Исходная    последовательность    двоичных    символов длительностью Т при помощи регистра сдвига разделяется на нечетные импульсы у, которые подаются в квадратурный канал (coswt), и четные - х, поступающие во входы соответствующих формирователей манипулирующих импульсов, на выходах которых образуются последовательности бипомерных импульсов X(t) и Y(t). Манипулирующие импульсы имеют амплитуду Um/ 2 и длительность 2Т. Импульсы X(t) и Y(t) поступают на входы канальных перемножителей, на выходах которых формируются двухфазные (О, П) ФМ колебания. После суммирования они образуют сигнал фм-и (см. рис. "Формирование сигналов четырехфазной ФМ (фм-и)).

Четырехфазная ФМ со сдвигом (OQPSK-Offset QPSK) позволяет избежать скачков фазы на 180 и => глубокой модуляции огибающей. Формирование сигнала в квадратурной схеме происходит также, как и в модуляторе ФМ-4, за исключением того, что манипуляционные элементы информационной последовательности X(t) и Y(t) смещены во времени на длительность одного элемента Т.

4 СТРУКТУРНАЯ СХЕМА РАДИО-

ТЕЛЕФОНОВ СТАНДАРТОВ AMPS И D-AMPS

4.1 СТРУКТУРНАЯ СХЕМА АНАЛОГОВОГО

КАНАЛА РАДИОТЕЛЕФОНА

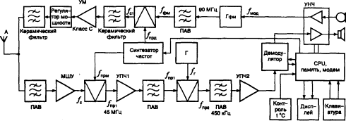
Мобильная связь

Рисунок 3. СТРУКТУРНАЯ СХЕМА АНАЛОГОВОГО КАНАЛА

   Структурная схема радиотелефона аналогового стандарта ETACS представ­лена на (рисунке 3). Передающий и приемный блоки выполнены по классичес­кой схеме. Приемное устройство представляет собой супергетеродинный приемник с двойным преобразованием частоты. Входной сигнал поступает в полосовой фильтр на ПАВ, выделяющий принимаемый сигнал и ослабляю­щий помехи. Отфильтрованный сигнал fС (869 – 894 МГц) поступает в малошумящий усили­тель (МШУ) и после усиления подается в смеситель. На второй вход послед­него с синтезатора частот поступает сигнал гетеродина, fПРМ (914 – 939 МГц). Полученный сигнал первой промежуточной частоты fПР  (45 МГц) поступает в усилитель первой промежуточной частоты УПЧ1 и после усиления фильтруется полосовым фильтром на ПАВ. Отфильтрованный сигнал fПР поступает во второй смеситель. В него же с гетеродина Г поступает сигнал fГ Полученный в резуль­тате гетеродинирования сигнал второй промежуточной частоты fПР2 частотой 450 kГц фильтруется полосовым фильтром на ПАВ и усиливается усилителем УПЧ2. Усиленный до необходимого уровня сигнал поступает в фазовый демо­дулятор, где выделяются сигналы управления и речевой сигнал. Последний поступает в усилитель УНЧ и далее — на громкоговоритель. Сигналы управле­ния обрабатываются процессором CPU.

  Аналоговый сигнал, поступающий с микрофона, усиливается усилителем УНЧ до необходимого уровня и поступает в фазовый модулятор Гфц как сигнал fМОД. Промодулированный сигнал fФМ частотой 90 МГц через полосовой фильтр на ПАВ поступает в смеситель. В него же с синтезатора частот приходит сигнал fпрд (914–939 МГц). С выхода смесителя сигнал fс1 через полосовой керамический фильтр поступает в усилитель мощности класса С, обеспечивающий максимальный КПД передатчика. Усиленный сигнал через регулятор мощности УМ и поло­совой керамический фильтр поступает к антенне. Обработка сигналов управ­ления, опрос клавиатуры, формирование необходимых частот и вывод инфор­мации на дисплей происходит под управлением центрального процессора. Синтезатор частоты позволяет получать высокостабильные сигналы частот всего используемого диапазона.

4.1 СТРУКТУРНАЯ СХЕМА СОТОВОГО

КАНАЛА РАДИОТЕЛЕФОНА

Рисунок 4. СТРУКТУРНАЯ СХЕМА СОТОВОГО КАНАЛА

Речевое кодирование - аналоговый речевой сигнал преобразуется в цифровую форму VSELP (Vector Sum Excited Linear Prediction) кодером (Рисунок 4). Речевой сигнал разбивается на сегменты по 20 мс, которые преобразуются в 159 кодированных бит, передаваемых со скоростью 7,95 кбит/с. Метод кодирования VSELP, разработанный фирмой Motorola, обеспечивает достаточно высокое качество передачи речи. Качество передаваемого сигнала, оцениваемое по пятибалльной шкале усредненной субъективной оценки MOS (Mean Opinion Score), равно 3,435 балла.

Канальное кодирование - для канального кодирования используется сверточный код со скоростью r = '/2 (Рисунок 5). В этом процессе пакет в 159 бит от речевого кодера разбивается на две группы бит: класс 1-77 бит, класс 2-82 бита. В группе бит 1 класса осуществляется указанное сверточное кодирование, причем 7 бит используются для обнаружения ошибок, биты второго класса передаются без кодирования. В результате преобразований в канальном кодере речевой фрагмент 20 мс представляется 260 битами, что соответствует скорости передачи 13 кбит/с.

Формирование TDMA-кадра (Рисунок 7) - структура TDMA-кадров в прямом и обратном каналах, для стандарта с полу скоростным речевым каналом.

Модуляция (Рисунок 8)  - для передачи сообщений по радиоканалу используется спектрально-эффективная p/4 DQPSK-модуляция, реализуемая квадратурной схемой с прямым переносом на несущую частоту.

Мобильная связь


Рисунок 8. p/4 DQPSK-МОДУЛЯЦИЯ

Поясним работу квадратурной схемы на примере формирования сигналов четырехфазной ФМ (ФМ-4).

Исходная последовательность двоичных символов длительностью Т при помощи регистра сдвига разделяется на нечетные импульсы у, которые подаются в квадратурный канал (coswt), и четные — х, поступающие в синфазный канал (sin-wt). Обе последовательности импульсов поступают на входы соответствующих формирователей манипулирующих импульсов, на выходах которых образуются последовательности биполярных импульсов x(t) и y(t). Манипулирующие импульсы имеют амплитуду Urn / Ö2 и длительность 2 Т. Импульсы x(t) и y(t) поступают на входы канальных перемножителей, на выходах которых формируются двухфазные (0,p) ФМ колебания. После суммирования они образуют сигнал ФМ-4.

Четырехфазная ФМ со сдвигом (OQPSK - Offset QPSK) позволяет избежать скачков фазы на 180° и, следовательно, глубокой модуляции огибающей. Формирование сигнала в квадратурной схеме происходит так же, как и в модуляторе ФМ-4, за исключением того, что манипуляционные элементы информационной последовательности x(t) и y(t) смещены во времени на длительность одного элемента Т.



© 2012 Рефераты, доклады и дипломные работы, курсовые работы бесплатно.