ðåôåðàòû
Ãëàâíàÿ

Ðåôåðàòû ïî ìåæäóíàðîäíîìó ïóáëè÷íîìó ïðàâó

Ðåôåðàòû ïî ìåæäóíàðîäíîìó ÷àñòíîìó ïðàâó

Ðåôåðàòû ïî ìåæäóíàðîäíûì îòíîøåíèÿì

Ðåôåðàòû ïî êóëüòóðå è èñêóññòâó

Ðåôåðàòû ïî ìåíåäæìåíòó

Ðåôåðàòû ïî ìåòàëëóðãèè

Ðåôåðàòû ïî ìóíèöèïàëüíîìó ïðàâó

Ðåôåðàòû ïî íàëîãîîáëîæåíèþ

Ðåôåðàòû ïî îêêóëüòèçìó è óôîëîãèè

Ðåôåðàòû ïî ïåäàãîãèêå

Ðåôåðàòû ïî ïîëèòîëîãèè

Ðåôåðàòû ïî ïðàâó

Áèîãðàôèè

Ðåôåðàòû ïî ïðåäïðèíèìàòåëüñòâó

Ðåôåðàòû ïî ïñèõîëîãèè

Ðåôåðàòû ïî ðàäèîýëåêòðîíèêå

Ðåôåðàòû ïî ðèòîðèêå

Ðåôåðàòû ïî ñîöèîëîãèè

Ðåôåðàòû ïî ñòàòèñòèêå

Ðåôåðàòû ïî ñòðàõîâàíèþ

Ðåôåðàòû ïî ñòðîèòåëüñòâó

Ðåôåðàòû ïî òàìîæåííîé ñèñòåìå

Ñî÷èíåíèÿ ïî ëèòåðàòóðå è ðóññêîìó ÿçûêó

Ðåôåðàòû ïî òåîðèè ãîñóäàðñòâà è ïðàâà

Ðåôåðàòû ïî òåîðèè îðãàíèçàöèè

Ðåôåðàòû ïî òåïëîòåõíèêå

Ðåôåðàòû ïî òåõíîëîãèè

Ðåôåðàòû ïî òîâàðîâåäåíèþ

Ðåôåðàòû ïî òðàíñïîðòó

Ðåôåðàòû ïî òðóäîâîìó ïðàâó

Ðåôåðàòû ïî òóðèçìó

Ðåôåðàòû ïî óãîëîâíîìó ïðàâó è ïðîöåññó

Ðåôåðàòû ïî óïðàâëåíèþ

Äîêëàä: Ôèçèêè è ñâåòîâàÿ ÷óâñòâèòåëüíîñòü ãëàçà

Äîêëàä: Ôèçèêè è ñâåòîâàÿ ÷óâñòâèòåëüíîñòü ãëàçà


“Áèîëîãèÿ ñòàíîâèòñÿ ñëèøêîì ñåðüåçíîé íàóêîé, ÷òîáû åå ìîæíî áûëî äîâåðÿòü áèîëîãàì”, - ïîøóòèë êòî-òî èç ôèçèêîâ. Êîíå÷íî, ýòî íåñïðàâåäëèâàÿ øóòêà, íî â îòíîøåíèè ôèçèîëîãèè çðåíèÿ â êàêîé-òî ìåðå âåðíà. Èìåííî ôèçèêè ñäåëàëè ïåðâûé øàã â ðåøåíèè ïðîáëåì îïòèêè ãëàçà, öâåòîâîãî çðåíèÿ, àáñîëþòíîé ñâåòîâîé ÷óâñòâèòåëüíîñòè. È ýòî íåñëó÷àéíî, èáî ôèçèêà, â ïåðâóþ î÷åðåäü îïòèêà, è ôèçèîëîãèÿ çðåíèÿ òåñíî ñâÿçàíû.

Ãåîìåòðè÷åñêàÿ îïòèêà âîçíèêëà íà çàðå íàóêè. Îíà ïûòàëàñü îáúÿñíèòü çàêîíû ðàñïðîñòðàíåíèÿ ñâåòà è ïîñòðîåíèÿ èçîáðàæåíèé ïðè ïîìîùè îïòè÷åñêèõ ïðèáîðîâ. Îøèáêà Ëåîíàðäî äà Âèí÷è áûëà íåèçáåæíîé, êîãäà îí ïûòàëñÿ çàêîíàìè ãåîìåòðè÷åñêîé îïòèêè îáúÿñíèòü íåïåðåâåðíóòîñòü çðèòåëüíîãî èçîáðàæåíèÿ. Ïîíàäîáèëñÿ ãåíèé ôèçèêà È.Êåïëåðà, ÷òîáû, ðàññìîòðåâ ãëàç êàê îáû÷íûé îïòè÷åñêèé ïðèáîð, ïðèéòè ê åäèíñòâåííî ïðàâèëüíîìó âûâîäó: èçîáðàæåíèå íà ñåò÷àòêå è ïåðåâåðíóòîå, è óìåíüøåííîå. Íà âîïðîñ, ïî÷åìó æå ìèð âîñïðèíèìàåòñÿ íåïåðåâåðíóòûì, îí îòâå÷àë: “ß îñòàâèë åãî íàòóðôèëîñîôàì”. Íàòóðôèëîñîôû, ò.å. ôèçèîëîãè, îòâåòèëè íà íåãî ñòîëåòèÿìè ïîçæå.

Ñî âðåìåí Åâêëèäà, Ãàëåíà è Ïòîëåìåÿ äî 1583 ã. ñóùåñòâîâàëî çàáëóæäåíèå, áóäòî õðóñòàëèê - ÷óâñòâóþùèé ñâåò îðãàí. Èìåííî Êåïëåð, êîòîðûé, âîçäàâ äîëæíîå âñåìè çàáûòîìó áèîëîãó Ô.Ïëàòåðó, îñîçíàë, ÷òî ñâåòî÷óâñòâèòåëüíûé îðãàí çðåíèÿ íå õðóñòàëèê, à ñåò÷àòêà. Êåïëåðà ïî ïðàâó ñëåäóåò ñ÷èòàòü îòöîì ôèçèîëîãè÷åñêîé îïòèêè.

Íà çàðå ýëëèíñêîé êóëüòóðû, åùå â V â. äî í.ý., Ýìïåäîêë ïðåäïîëîæèë, ÷òî ñóùåñòâóþò íåêèå îñíîâíûå öâåòà, ñìåøåíèå êîòîðûõ ñîçäàåò áåñêîíå÷íîå ðàçíîîáðàçèå öâåòîâûõ îòòåíêîâ. Çàòåì È.Íüþòîí îáúÿñíèë ôèçèêó öâåòà, ñîçíàòåëüíî îñòàâèâ â ñòîðîíå ôèçèîëîãèþ öâåòîâîãî âîñïðèÿòèÿ. È íàêîíåö, ôèçèê (ìåäèê ïî îáðàçîâàíèþ) Ò.Þíã, îòêðûâøèé ÿâëåíèå èíòåðôåðåíöèè, â 1802 ã. ïðåäëîæèë òåîðèþ öâåòîâîãî çðåíèÿ, ñîãëàñíî êîòîðîé â ãëàçó ÷åëîâåêà èìåþòñÿ òîëüêî òðè ïðèåìíèêà, âîñïðèíèìàþùèõ îñíîâíûå öâåòà - êðàñíûé, çåëåíûé è ñèíèé. Òåîðèþ Þíãà çàáûëè íà ïîëñòîëåòèÿ. Îäíîâðåìåííî è íåçàâèñèìî î íåé âñïîìíèëè äâà äðóãèõ ôèçèêà - Äæ.Ê.Ìàêñâåëë â Øîòëàíäèè è Ã.Ãåëüìãîëüö â Ãåðìàíèè. Ñîçäàòåëü ýëåêòðîìàãíèòíîé òåîðèè ñâåòà Ìàêñâåëë ðàçðàáîòàë òî÷íûå ìåòîäû èçìåðåíèÿ öâåòà, êîòîðûå ïðèìåíÿëèñü äî ñàìîãî ïîñëåäíåãî âðåìåíè. Ýíöèêëîïåäèñò åñòåñòâîèñïûòàòåëü Ãåëüìãîëüö (òîæå ìåäèê ïî îáðàçîâàíèþ) ñóùåñòâåííî ðàçâèë è óòâåðäèë òðåõêîìïîíåíòíóþ òåîðèþ Þíãà. Òàêîâà èñòîðè÷åñêàÿ öåïî÷êà: ôèëîñîô Ýìïåäîêë (V â. äî í.ý.), ôèçèêè Þíã, Ãåëüìãîëüö, Ìàêñâåëë (ÕIÕ â.). Çàäà÷à áóäóùåãî - âûÿñíèòü êëåòî÷íûå è ìîëåêóëÿðíûå ìåõàíèçìû âîñïðèÿòèÿ öâåòà, ðàçîáðàòüñÿ â ãåíåòèêå è èíôîðìàòèêå öâåòîâîãî çðåíèÿ.

Àáñîëþòíàÿ ÷óâñòâèòåëüíîñòü ãëàçà

Æèçíåííûé îïûò óáåæäàåò, ñêîëü ÷óâñòâèòåëåí ãëàç ÷åëîâåêà ê ñâåòó. Àñòðîíîìû äàâíî íàó÷èëèñü êðàåøêîì ãëàçà (êàê ìû òåïåðü ïîíèìàåì, ïåðèôåðè÷åñêèì ïàëî÷êîâûì çðåíèåì) ðàçëè÷àòü íà íî÷íîì íåáå äàæå ñàìûå ñëàáûå çâåçäû. Îäíàêî íåîáõîäèìû áûëè êîíêðåòíûå çíàíèÿ î ìèíèìàëüíîé ýíåðãèè ñâåòà èëè ÷èñëà êâàíòîâ, ñïîñîáíûõ ñîçäàòü ñóáúåêòèâíîå îùóùåíèå ñâåòîâîé âñïûøêè. Îò ýòîãî ïðÿìî çàâèñèò ïîíèìàíèå ïðîöåññîâ ïðåîáðàçîâàíèÿ ñâåòîâîãî ñèãíàëà â çðèòåëüíûé, ò.å. ïîíèìàíèå ìîëåêóëÿðíûõ ìåõàíèçìîâ ôîòîòðàíñäóêöèè.

Êàê ìû òåïåðü çíàåì, â ýêñïåðèìåíòå ïî îïðåäåëåíèþ ïîðîãà ÷óâñòâèòåëüíîñòè çðèòåëüíîé ñèñòåìû íåîáõîäèìû ñëåäóþùèå óñëîâèÿ: ïðåäâàðèòåëüíàÿ òåìíîâàÿ àäàïòàöèÿ ãëàçà íàáëþäàòåëÿ; ôèêñàöèÿ ïÿòíà ñâåòà íà ïåðèôåðèè ñåò÷àòêè, ãäå íàõîäÿòñÿ áîëåå ÷óâñòâèòåëüíûå ê ñâåòó ïàëî÷êè (ñóìåðå÷íîå çðåíèå); äîñòàòî÷íî ìàëåíüêîå ñâåòîâîå ïÿòíî, ïàäàþùåå íà ñåò÷àòêó ãëàçà, ïîðÿäêà 10 èëè ìåíåå óãëîâûõ ìèíóò; êðàòêîâðåìåííàÿ (~1 ìñ) ñâåòîâàÿ âñïûøêà; îïðåäåëåííàÿ äëèíà âîëíû ñâåòà, ñîîòâåòñòâóþùàÿ ìàêñèìóìó ñïåêòðàëüíîé ÷óâñòâèòåëüíîñòè ïàëî÷êîâîãî çðåíèÿ (îêîëî 510 íì).

Åùå â êîíöå XIX â. âïîëíå ãðàìîòíî îïðåäåëèë ïîðîã ÷óâñòâèòåëüíîñòè ãëàçà àìåðèêàíñêèé ôèçèê è àñòðîíîì Ñ.Ð.Ëýíãëè (1834-1906). Ïðè èçó÷åíèè ñîëíå÷íîé àêòèâíîñòè åìó íåîáõîäèìî áûëî èçìåðÿòü èíòåíñèâíîñòü ðàäèàöèè âî âñåì äèàïàçîíå äëèí âîëí. Òàê îí ñîçäàë òåïëîâîé äåòåêòîð ñâåòîâîé ýíåðãèè - áîëîìåòð, ÷óâñòâèòåëüíîñòü êîòîðîãî íå çàâèñåëà îò äëèíû âîëíû ñâåòà, ÷òî è áûëî ïðèíöèïèàëüíî âàæíûì äëÿ Ëýíãëè [1]. Ñîâðåìåííîå îïðåäåëåíèå ãëàñèò, ÷òî áîëîìåòð - ýòî êàëèáðîâàííûé âûñîêî÷óâñòâèòåëüíûé ïðèáîð ñ ïëîñêîé ñïåêòðàëüíîé õàðàêòåðèñòêîé äëÿ èçìåðåíèÿ ñâåòîâûõ ïîòîêîâ. Óñîâåðøåíñòâîâàííûå áîëîìåòðû èñïîëüçóþòñÿ ïî ñåé äåíü. Òàêèì îáðàçîì, äèðåêòîð îáñåðâàòîðèè, ïðîôåññîð ôèçèêè è àñòðîíîìèè Ïèòñáóðãñêîãî óíèâåðñèòåòà Ëýíãëè âîøåë â èñòîðèþ íàóêè êàê èçîáðåòàòåëü áîëîìåòðà, à â èñòîðèþ ôèçèîëîãèè çðåíèÿ êàê ôèçèê, ýêñïåðèìåíòàëüíî îïðåäåëèâøèé ïîðîã àáñîëþòíîé ñâåòîâîé ÷óâñòâèòåëüíîñòè ãëàçà. Ñîãëàñíî Ëýíãëè [2], çíà÷åíèå ïî ýíåðãèè - 3·10–9 ýðã, ÷òî ñîîòâåòñòâóåò ïîòîêó, ñîäåðæàùåìó 800 ôîòîíîâ. Ýòî âñåãî ëèøü íà ïîðÿäîê âåëè÷èíû âûøå ñîâðåìåííûõ çíà÷åíèé. È ýòî ìîæíî ïîíÿòü, ïîñêîëüêó çíàíèÿ ôèçèîëîãèè çðåíèÿ òîãî âðåìåíè íå ïîçâîëèëî ó÷åñòü â ýêñïåðèìåíòå öåëûé ðÿä ôàêòîðîâ.

Ïîðîãîâûå çíà÷åíèÿ, ïîëó÷åííûå íåçàâèñèìî Þ.Á.Õàðèòîíîì è Ñ.È.Âàâèëîâûì â êîíöå 20 - íà÷àëå 30-õ ãîäîâ, áûëè ãîðàçäî áëèæå ê ñîâðåìåííûì. Êàê è Ëýíãëè, äëÿ ðåøåíèÿ ñîáñòâåííûõ ôèçè÷åñêèõ çàäà÷ èì òðåáîâàëîñü ðåãèñòðèðîâàòü èñêëþ÷èòåëüíî ñëàáûå ñâåòîâûå âñïûøêè. Áîëîìåòðû òîãî âðåìåíè èõ íå óäîâëåòâîðÿëè, à äðóãèõ òî÷íûõ ïðèáîðîâ åùå íå áûëî. Ñàìûì ÷óâñòâèòåëüíûì ïðèáîðîì îêàçûâàëñÿ ñîáñòâåííûé ãëàç ýêñïåðèìåíòàòîðà.

Îïûòû Þ.Á.Õàðèòîíà

Õàðèòîí, ôèçèê â æèçíè è ãóìàíèòàðèé â äóøå, â 1926 ã., ñîâñåì ìîëîäûì ÷åëîâåêîì, ïîïàë â Êåìáðèäæ, â Êàâåíäèøñêóþ ëàáîðàòîðèþ ê âåëèêîìó Ý.Ðåçåðôîðäó. Åìó áûëà ïðåäëîæåíà êëàññè÷åñêàÿ çàäà÷à - ñ÷åò a-÷àñòèö. Òîãäà øèðîêî èñïîëüçîâàëè ñöèíòèëëÿöèîííûé ìåòîä, íî, êàê íè ñòðàííî, åãî õàðàêòåðèñòèêè áûëè íåäîñòàòî÷íî õîðîøî èçó÷åíû.  ÷àñòíîñòè, îñòàâàëàñü íåèçâåñòíîé ÷óâñòâèòåëüíîñòü ìåòîäà, îïðåäåëÿåìàÿ â ïåðâóþ î÷åðåäü ïîðîãîì çðèòåëüíîãî âîñïðèÿòèÿ. Èçâåñòíûå ê òîìó âðåìåíè ðàáîòû ïî íàõîæäåíèþ àáñîëþòíîé ñâåòîâîé ÷óâñòâèòåëüíîñòè ãëàçà - ìèíèìàëüíîãî êîëè÷åñòâà êâàíòîâ, âûçûâàþùåãî çðèòåëüíîå îùóùåíèå, - äàâàëè çíà÷åíèÿ â èíòåðâàëå îò 10 äî 10 000.

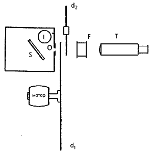
Õàðèòîí è åãî êîëëåãà Ñ.Ëè ðàçðàáîòàëè ïñèõîôèçè÷åñêóþ óñòàíîâêó, â êîòîðîé îïðåäåëåíèå ïîðîãà çðåíèÿ îñóùåñòâëÿëîñü â óñëîâèÿõ ïîâòîðÿþùèõñÿ íàáëþäåíèé ñöèíòèëëÿöèé [3].  êà÷åñòâå èñòî÷íèêà ñâåòà èñïîëüçîâàëè ãàçîíàïîëíåííóþ ëàìïó, ïîìåùåííóþ â ÿùèê ñ íåáîëüøèì îòâåðñòèåì. Äëÿ ïîëó÷åíèÿ äîñòàòî÷íî îäíîðîäíîãî ïîòîêà îòâåðñòèå îñâåùàëè ñâåòîì, îòðàæåííûì îò ìåäíîé ïëàñòèíêè, íàïûëåííîé îêñèäîì ìàãíèÿ. Ñèñòåìà èç äâóõ äèñêîâ ñ îòâåðñòèÿìè, âðàùàþùèõñÿ ñ ðàçíîé ñêîðîñòüþ, ïîçâîëÿëà ìåíÿòü äëèòåëüíîñòü âñïûøêè îò 0.1 äî 5·10–5ñ. Ñâåò, ïðîøåäøèé ÷åðåç âîäÿíîé ôèëüòð (ñ ïîëîñîé ïðîïóñêàíèÿ l = 470-520 íì), íàáëþäàëè íà ýêðàíå ñ ïîìîùüþ çðèòåëüíîé òðóáû. Èçìåíåíèå ñâåòîâîãî ïîòîêà, âõîäÿùåãî â òåëåñêîï âî âðåìÿ âñïûøêè, äîñòèãàëîñü äèàôðàãìèðîâàíèåì îáúåêòèâà.

Ñõåìà óñòàíîâêè Þ.Á.Õàðèòîíà. L - ãàçîíàïîëíåííàÿ ëàìïà; O - íåáîëüøîå îòâåðñòèå â ÿùèêå; S - ìåäíàÿ ïëàñòèíêà, íàïûëåííàÿ îêñèäîì ìàãíèÿ; d1, d2 - äèñêè ñ îòâåðñòèÿìè, âðàùàþùèåñÿ ñ ðàçíîé ñêîðîñòüþ; F - ôèëüòð, íàïîëíåííûé âîäíûì ðàñòâîðîì CuSO4 è K2Cr2O7. Ïîäáîðîì ñîñòàâà äîáèâàëèñü ìèíèìàëüíîãî ïîãëîùåíèÿ ïðè l = 500 íì. Ïîëîñà ïðîïóñêàíèÿ ôèëüòðà (l = 470-520 íì) ñîîòâåòñòâîâàëà öâåòó ñöèíòèëëÿöèé: ÷óâñòâèòåëüíîñòü ãëàçà â ýòîé ïîëîñå áëèçêà ê ìàêñèìàëüíîé. T - çðèòåëüíàÿ òðóáà.

 îïûòàõ èñïûòóåìûå äîâîëüíî áûñòðî óòîìëÿëèñü. Ïîýòîìó êàæäîìó èç íèõ ïðåäúÿâëÿëè òîëüêî ïî òðè âñïûøêè ñî çíà÷èòåëüíûì ïåðåðûâîì â ñåðèÿõ, çàòåì ðàññ÷èòûâàëè ñðåäíåå çíà÷åíèå ïî ïÿòè ïîâòîðàì. Âûÿñíèëîñü, ÷òî òðåíèðîâàííûå ïî ñðàâíåíèþ ñ íîâè÷êàìè âèäÿò âñïûøêè ìåíüøåé èíòåíñèâíîñòè. Àâòîðû îáúÿñíÿëè ýòîò ôàêò óìåíèåì îïûòíûõ íàáëþäàòåëåé ñìîòðåòü êðàåøêîì ãëàçà, ò.å. èñïîëüçîâàòü ïåðèôåðè÷åñêîå (ïàëî÷êîâîå) çðåíèå. Ïàëî÷êè, êàê èçâåñòíî, ïî÷òè íà äâà ïîðÿäêà áîëåå ÷óâñòâèòåëüíû, ÷åì êîëáî÷êè, îáåñïå÷èâàþùèå öåíòðàëüíîå çðåíèå.

Äëÿ îïûòíûõ èñïûòóåìûõ ïîðîãîâàÿ ðåàêöèÿ íà âñïûøêè äëèòåëüíîñòüþ ìåíüøå 1 ìñ âîçíèêàëà â ñðåäíåì ïðè 17 êâàíòàõ, ïàäàþùèõ íà ðîãîâèöó, äëÿ ìåíåå îïûòíûõ - 30. Âåëè÷èíà ïîðîãà çàâèñåëà îò äëèòåëüíîñòè âñïûøêè. Ñàìûå ñëàáûå âñïûøêè ôèêñèðîâàëèñü ãëàçîì òîëüêî ïðè ìàëûõ äëèòåëüíîñòÿõ - ìåíåå 1 ìñ. Ðåàêöèÿ ãëàçà íà ïðîäîëæèòåëüíûå ñâåòîâûå ñòèìóëû (äî 1 ñ) óâåëè÷èâàëà ïîðîãîâîå çíà÷åíèå äî 200 êâàíòîâ.

Õàðèòîí è Ëè îòìåòèëè îäíó èíòåðåñíóþ ôèçèîëîãè÷åñêóþ îñîáåííîñòü: äëèòåëüíîå ãîëîäàíèå è ïðèåì òîíèçèðóþùèõ ëåêàðñòâ ñíèæàëè ïîðîã ñ 17 äî 12 êâàíòîâ. Ìåõàíèçì òàêîé ñåíñèáèëèçàöèè äî ñèõ ïîð íå ïîíÿò.

Óñòàíîâêà Ñ.È.Âàâèëîâà

Åñëè Õàðèòîí ðåøàë çàäà÷ó ñ÷åòà a-÷àñòèö, òî Âàâèëîâ êàê ñïåöèàëèñò ïî îïòèêå è ëþìèíåñöåíöèè èçó÷àë ôëóêòóàöèè ñâåòà. Ãëàç ÷åëîâåêà îñòàâàëñÿ íåçàìåíèìûì îïòè÷åñêèì èíñòðóìåíòîì. Âûñòóïàÿ íà ïåðâîé êîíôåðåíöèè ïî ôèçèîëîãè÷åñêîé îïòèêå, ïðîõîäèâøåé â Ëåíèíãðàäå â 1934 ã., Âàâèëîâ ãîâîðèë: “Èñêëþ÷èòåëüíàÿ ÷óâñòâèòåëüíîñòü ãëàçà â òåìíîòå è íàëè÷èå ðåçêîãî ïîðîãà çðèòåëüíîãî îùóùåíèÿ äàþò âîçìîæíîñòü âèçóàëüíî íàáëþäàòü ôëóêòóàöèè ñâåòîâîãî ïîòîêà”. Åùå â 1927 ã. â ïåðâîì èçäàíèè êíèãè “Ãëàç è Ñîëíöå” îí ïèñàë:

“…ìãíîâåííî ãëàç â ñîñòîÿíèè ïî÷óâñòâîâàòü î÷åíü íåáîëüøîå ÷èñëî êâàíòîâ. <…> Ïîëüçóÿñü ýòèì, ìîæíî ãëàçîì îáíàðóæèòü ïðåðûâèñòîå, êâàíòîâîå ñòðîåíèå ñâåòà <…>. Ãëàç, òàêèì îáðàçîì, äåéñòâèòåëüíî “âîî÷èþ” ïîçâîëÿåò óáåäèòüñÿ â êâàíòîâîé, ïðåðûâèñòîé ñòðóêòóðå ñâåòà. Çàìå÷àòåëüíî, ÷òî òàêèì ñïîñîáîì îïðåäåëÿåòñÿ íå ÷óâñòâèòåëüíîñòü ãëàçà êàê öåëîãî, à ÷óâñòâèòåëüíîñòü òîëüêî ïîñëåäíèõ êëåòîê (ïàëî÷åê), îòâåòñòâåííûõ çà çðèòåëüíîå âîçáóæäåíèå. Îòäåëüíûå êâàíòû ñòàëè, â áóêâàëüíîì ñìûñëå ñëîâà, âèäèìûìè” [4].

Âàâèëîâ çäåñü ïîä÷åðêíóë âàæíåéøåå îáñòîÿòåëüñòâî ôèçèîëîãèè çðåíèÿ: ïîðîã âîçíèêíîâåíèÿ ñâåòîâîãî îùóùåíèÿ, ò.å. ðàáîòû çðèòåëüíîé ñèñòåìû â öåëîì, è âîçáóæäåíèÿ îòäåëüíîé ôîòîðåöåïòîðíîé êëåòêè - ýòî âîâñå íå îäíî è òî æå, îíè ñóùåñòâåííî ðàçëè÷àþòñÿ.

Âàâèëîâ èñõîäèë èç òîãî, ÷òî ïðè î÷åíü ìàëîì ñâåòîâîì ïîòîêå (à ýòî êàê ðàç âáëèçè ïîðîãà çðèòåëüíîãî îùóùåíèÿ) åãî ôëóêòóàöèè ñòàíîâÿòñÿ çíà÷èòåëüíûìè, ïîýòîìó èìåííî îíè è îãðàíè÷èâàþò âîñïðèÿòèå ñâåòà. Äåéñòâèòåëüíî, ïðè ìàëîì ÷èñëå ðåãèñòðèðóåìûõ ãëàçîì ôîòîíîâ n0 (îò åäèíèö äî ïîëóòîðà-äâóõ ñîòåí) ýòè ñëó÷àéíûå ÷èñëà ïîä÷èíÿþòñÿ ðàñïðåäåëåíèþ Ïóàññîíà, äëÿ êîòîðîãî õàðàêòåðíûå ôëóêòóàöèè ïðîïîðöèîíàëüíû (n0)1/2. Óâåðåííîå âûäåëåíèå ãëàçîì ñëàáîé ñâåòîâîé âñïûøêè âîçìîæíî, òîëüêî êîãäà n0 >> (n0)1/2 (ñèãíàë ïðåâûøàåò ôëóêòóàöèîííûé ðàçáðîñ), ò.å. ïðè äîñòàòî÷íî áîëüøèõ n0. Îòíîñèòåëüíî ñàìîé âåëè÷èíû n0 - ñòàòèñòè÷åñêè ñðåäíåãî çíà÷åíèÿ äëÿ êàæäîãî íàáëþäàòåëÿ - Âàâèëîâ ïðåäïîëîæèë, ÷òî â òåìíîòå ïîðîãó çðèòåëüíîãî âîñïðèÿòèÿ êîðîòêèõ ñâåòîâûõ âñïûøåê ñîîòâåòñòâóåò êàêîå-òî ìèíèìàëüíîå, äëÿ êàæäîãî ñâîå, ÷èñëî ïîãëîùàåìûõ ôîòîíîâ. Ïî åãî ñëîâàì, “åäèíñòâåííûé ìåòîä ïîëó÷èòü n0 äàþò ëèøü ñòàòèñòè÷åñêèå èçìåðåíèÿ, âðîäå ïðèìåíåííûõ íàìè. Òàêèì îáðàçîì <…> áóäåò íàéäåíî äåéñòâèòåëüíîå ÷èñëî ôîòîíîâ, ïîãëîùàåìîå ñåò÷àòêîé ó ïîðîãà ðàçäðàæåíèÿ. Âñå ïîòåðè ýíåðãèè, êîòîðûå âîçíèêàþò â ãëàçíîì ÿáëîêå âñëåäñòâèå îòðàæåíèÿ, ïîãëîùåíèÿ è ðàññåÿíèÿ è êîòîðûå íåèçáåæíî âëèÿþò íà ëþáûå ýíåðãåòè÷åñêèå ìåòîäû, îòïàäàþò ïðè ñòàòèñòè÷åñêèõ èçìåðåíèÿõ àâòîìàòè÷åñêè” [5].

Ñ 1932 ïî 1941 ã. â Ãîñóäàðñòâåííîì îïòè÷åñêîì èíñòèòóòå áûëè âûïîëíåíû ñîòíè ôëóêòóàöèîííûõ èçìåðåíèé ñ ó÷àñòèåì ñâûøå äåñÿòè íàáëþäàòåëåé. Ïåðåä Âàâèëîâûì è åãî ñîòðóäíèêàìè ñòîÿëà çàäà÷à äîáèòüñÿ êîððåêòíûõ óñëîâèé îïûòà: êðàòêîâðåìåííîñòè ñâåòîâûõ âñïûøåê íà ôîíå òåìíîâîé àäàïòàöèè, îñâåùåíèÿ íåáîëüøèõ ó÷àñòêîâ íà ïåðèôåðèè ñåò÷àòêè ïðè ñòðîãîé ôèêñàöèè èõ ïîëîæåíèÿ.

Çà 10 ëåò ðàáîòû óñòàíîâêà Âàâèëîâà íåñêîëüêî ðàç óñîâåðøåíñòâîâàëàñü, íî îáùàÿ ñõåìà è îñíîâíûå ýëåìåíòû ñîõðàíÿëèñü [6]. Ïîëîæåíèå ãîëîâû íàáëþäàòåëÿ çàêðåïëÿëîñü ñ ïîìîùüþ ïîäáîðîäíèêà òàêèì îáðàçîì, ÷òîáû âî âðåìÿ îïûòà ãëàç âñå âðåìÿ áûë ôèêñèðîâàí íà êðàñíóþ ñèãíàëüíóþ ëàìïî÷êó è ñâåò îò îñíîâíîé ýëåêòðè÷åñêîé ëàìïû (âèäèìûé êàê çåëåíàÿ òî÷êà) ïàäàë íà ïåðèôåðèþ ñåò÷àòêè - â 8° îò åå öåíòðà. Ñâåò îò ëàìïû ïðîõîäèë ê ãëàçó ÷åðåç äèàôðàãìó, çåëåíûé ôèëüòð, ñòîïó ñòåêëÿííûõ ïëàñòèíîê è íåéòðàëüíûé îïòè÷åñêèé êëèí. Ìåæäó ãëàçîì è ëàìïîé ðàñïîëàãàëñÿ âðàùàþùèéñÿ äèñê ñ îòâåðñòèåì, ðàçìåðû êîòîðîãî îáåñïå÷èâàëè êðàòêîâðåìåííîñòü ñâåòîâûõ âñïûøåê (0.1 ñ). Äëÿ èçìåðåíèé ñ ðàçëè÷íûìè äëèíàìè âîëí âìåñòî ëàìïû èñïîëüçîâàëè ìîíîõðîìàòîð ñ èñòî÷íèêîì ñâåòà.  õîäå îïûòà èíòåíñèâíîñòü ñâåòîâîãî ïîòîêà ïîñòåïåííî ïîíèæàëàñü ñíà÷àëà ðåîñòàòîì, çàòåì äîáàâëåíèåì ñòåêëÿííûõ ïëàñòèíîê è ââåäåíåèåì îïòè÷åñêîãî êëèíà. Íàáëþäàòåëü îòìå÷àë êàæäóþ âèäèìóþ âñïûøêó íàæèìîì êëþ÷à. Ïî ÷èñëó âñïûøåê è ïðîõîæäåíèé ñâåòà ÷åðåç îòâåðñòèÿ äèñêà, àâòîìàòè÷åñêè ôèêñèðóåìûõ íà áóìàæíîé ëåíòå, îïðåäåëÿëè âåðîÿòíîñòü âèäåíèÿ âñïûøåê.

Ñõåìà âòîðîãî âàðèàíòà óñòàíîâêè Ñ.È.Âàâèëîâà. S - êðàñíàÿ ëàìïî÷êà; G - ñòåêëÿííàÿ ïëàñòèíêà; L - ëàìïî÷êà, ïèòàåìàÿ îò àêêóìóëÿòîðà; m - çåðêàëî; O - äèàôðàãìà, çàêðûòàÿ ìîëî÷íûì ñòåêëîì; F - çåëåíûé ôèëüòð; P - ñòîïà ñòåêëÿííûõ ïëàñòèíîê; K - íåéòðàëüíûé îïòè÷åñêèé êëèí; D - äèñê, íàñàæåííûé íà îñü ñèíõðîííîãî ìîòîðà (M); T - ýòàëîííûé èñòî÷íèê ñâåòà (àáñîëþòíî ÷åðíîå òåëî).

×òîáû íàéòè àáñîëþòíîå ÷èñëî ôîòîíîâ N, ïàäàþùèõ íà çðà÷îê ãëàçà â óñëîâèÿõ ïîðîãà âîñïðèÿòèÿ, èñïîëüçîâàëè ýòàëîííûé èñòî÷íèê ýíåðãèè. Ñâåò èçëó÷àëî íàãðåòîå òåëî, âïëîòíóþ ïðèäâèíóòîå ê äèàôðàãìå (ñî ñíÿòûì ìàòîâûì ñòåêëîì). Çíàÿ ãåîìåòðè÷åñêèå ïàðàìåòðû ïîòîêà è õàðàêòåðèñòèêè èçëó÷àòåëÿ êàê ÷åðíîãî òåëà, ýêñïåðèìåíòàòîðû ìîãëè ñ äîñòàòî÷íîé òî÷íîñòüþ ðàññ÷èòàòü (ïî çàêîíó Ñòåôàíà-Áîëüöìàíà) ýíåðãèþ ôîòîíîâ, ôîðìèðóþùèõ ñâåòîâîå ïÿòíî íà çðà÷êå. Ýòè èçìåðåíèÿ â ñèíå-çåëåíîé îáëàñòè ñïåêòðà äëÿ ðàçíûõ íàáëþäàòåëåé äàëè N = 108-335 ôîòîíîâ, â ñðåäíåì 208. Ðàçëè÷èå ìåæäó n0 è N ñâèäåòåëüñòâîâàëî î òîì, ÷òî áîëüøàÿ ÷àñòü ýíåðãèè ïàäàþùåãî íà ãëàç ñâåòà òåðÿåòñÿ íà ïóòè ê ôîòîðåöåïòîðàì èç-çà îòðàæåíèÿ, ïîãëîùåíèÿ è ðàññåÿíèÿ â ãëàçíûõ ñðåäàõ è òêàíÿõ.

Áîëüøèíñòâî èçìåðåíèé áûëî ñäåëàíî â ñèíå-çåëåíîé îáëàñòè ñïåêòðà 500-550 íì.  ýòîé îáëàñòè, êàê ñëåäîâàëî èç îïûòîâ Âàâèëîâà è åãî ñîòðóäíèêîâ, çíà÷åíèÿ n0, ñîîòâåòñòâóþùèå ïîðîãó íà ñåò÷àòêå, äëÿ îäíîãî è òîãî æå íàáëþäàòåëÿ äîñòàòî÷íî ïîñòîÿííû, íî ó ðàçíûõ ëþäåé ìîãóò áûòü ðàçëè÷íû.  ðàáîòå 1933 ã. ïîðîãîâîå ÷èñëî ôîòîíîâ ñîñòàâèëî n0 = 47; â ðàáîòå 1934 ã. n0 = 8, à â ñâîäíîé òàáëèöå (ïî ðåçóëüòàòàì âñåõ îïûòîâ â 1932-1941 ãã.) n0 = 20.

Ýêñïåðèìåíòû Ñ.Õåõòà

 íà÷àëå 40-õ ãîäîâ àìåðèêàíñêèå ôèçèîëîãè Ñ.Õåõò, Ñ.Øëåð è Ì.Ïèðåí îïóáëèêîâàëè ðåçóëüòàòû ñâîèõ èññëåäîâàíèé ïî îïðåäåëåíèþ àáñîëþòíîãî çðèòåëüíîãî ïîðîãà. Ýòà ðàáîòà äî ñèõ ïîð ïðèçíàåòñÿ êëàññè÷åñêîé. Îïðåäåëåíèå ìèíèìàëüíîãî ÷èñëà êâàíòîâ ïðîâîäèëè, èçìåðÿÿ ìèíèìàëüíóþ ýíåðãèþ ñâåòà, ïàäàþùåãî íà ãëàç, êîòîðûé âûçûâàåò “âèäåíèå” âñïûøêè. Óñòàíîâêà Õåõòà îòëè÷àëàñü îò ñõåìû Âàâèëîâà ëèøü íåêîòîðûìè ìîäèôèêàöèÿìè. Òàê, óãîë ôèêñàöèè ãëàçà íà êðàñíóþ òî÷êó, êîòîðûé îáåñïå÷èâàë ïåðèôåðè÷åñêîå çðåíèå, áûë áOëüøèì (20°), óãëîâîé ðàçìåð îñíîâíîãî ïÿòíà íà ñåò÷àòêå - òîæå áî˜ëüøèì (10°). Ñâåò (l= 510 íì) ïðîõîäèë ê íàáëþäàòåëþ ÷åðåç íåéòðàëüíûé ôèëüòð, îïòè÷åñêèé êëèí è äâîéíîé ìîíîõðîìàòîð. Äëèòåëüíîñòü âñïûøêè (1 ìñ) îáåñïå÷èâàë ñïåöèàëüíûé çàòâîð, à èíòåíñèâíîñòü ñâåòà èçìåíÿëàñü ïåðåìåùåíèåì êëèíà. Íàáëþäàòåëü íàæèìîì êëþ÷à ïðîèçâîäèë âñïûøêó (îáû÷íî îêîëî 50 âñïûøåê îäíîé è òîé æå èíòåíñèâíîñòè) è ñîîáùàë, âèäåë ëè îí åå èëè íåò. ×èñëî ôîòîíîâ, ïàäàþùèõ íà çðà÷îê, ïåðåñ÷èòûâàëîñü ïîñëå èçìåðåíèÿ ýíåðãèè ñâåòà òåðìîýëåìåíòîì, óñòàíîâëåííûì íà äèàôðàãìå.

Ñõåìà óñòàíîâêè Ñ.Õåõòà. à - ãëàç íàáëþäàòåëÿ; P - äèàôðàãìà; FP - êðàñíàÿ òî÷êà; FL - ëèíçà; D - äèàôðàãìà; L - ëàìïà, ïèòàåìàÿ îò àêêóìóëÿòîðà; F - íåéòðàëüíûé ôèëüòð; W - îïòè÷åñêèé êëèí; Ì1Ì2 - äâîéíîé ìîíîõðîìàòîð; S - çàòâîð. Ïðè íàæèìå êíîïêè çàòâîð îòêðûâàåò ïóòü ñâåòîâîìó ïîòîêó (l = 510 íì) íà 1 ìñ.

Ìèíèìóì ýíåðãèè ñâåòà íà ðîãîâèöå, ïðè êîòîðîì íàáëþäàòåëè (7 ÷åëîâåê) ôèêñèðîâàëè âñïûøêè, âàðüèðîâàë â ïðåäåëàõ (2.1-5.7)·10–10 ýðã, ñîîòâåòñòâåííî ÷åìó è ïîðîãîâîå ÷èñëî ôîòîíîâ ñèíå-çåëåíîãî äèàïàçîíà ñîñòàâèëî 54-148. Ýòè ðåçóëüòàòû ïåðåêðûâàëèñü ñ äàííûìè Âàâèëîâà (108-335 ôîòîíîâ), íî áûëè ñóùåñòâåííî áîëüøå, ÷åì îöåíêà Õàðèòîíà è Ëè (17 ôîòîíîâ). Ïî ìíåíèþ Õåõòà, ïîñëåäíèå çíà÷åíèÿ ñëèøêîì ìàëû [7].

Äëÿ óòî÷íåíèÿ ïîðîãîâûõ çíà÷åíèé íåïîñðåäñòâåííî íà ñåò÷àòêå Õåõò è ñîàâòîðû ó÷ëè, ÷òî 4% ïàäàþùåãî íà ãëàç ñâåòà îòðàæàåòñÿ îò ðîãîâèöû, ïî÷òè 50% ïîãëîùàåòñÿ õðóñòàëèêîì è ïî êðàéíåé ìåðå ïî÷òè 85 % îñòàâøåãîñÿ ñâåòà ïðîõîäèò ÷åðåç ñåò÷àòêó, íå ïîãëîùàÿñü åþ. Ãîâîðÿ äðóãèìè ñëîâàìè, åñëè âåñü ñâåò, ïàäàþùèé íà ñåò÷àòêó, ïðèíÿòü çà 100%, òî ëèøü îêîëî 15% ïîãëîùàåòñÿ åþ, à îñòàëüíûå óõîäÿò â ÷åðíûé ïèãìåíòíûé ýïèòåëèé, ëåæàùèé çà ñåò÷àòêîé. Ïîñëå ïðîâåäåíèÿ òàêîé êîððåêòèðîâêè ïîëó÷àëîñü, ÷òî èç 54-148 ôîòîíîâ, ïàäàþùèõ íà ðîãîâèöó, ñåò÷àòêîé ïîãëîùàåòñÿ ëèøü 5-14. Îöåíèâàÿ ðàçìåðû îñâåùàåìîé îáëàñòè ñåò÷àòêè (~500 ïàëî÷åê) è ñ÷èòàÿ, ÷òî êàæäûé ôîòîí ïîãëîùàåòñÿ òîëüêî îäíîé ïàëî÷êîé, àâòîðû ïðèøëè ê âûâîäó: âñïûøêó ìîæíî “óâèäåòü”, òîëüêî åñëè íå ìåíåå 5-14 ïàëî÷åê ïî÷òè îäíîâðåìåííî ïîãëîòÿò ïî îäíîìó ôîòîíó.

Óòî÷íåííàÿ ñòàòèñòè÷åñêàÿ îöåíêà ôëóêòóàöèé ïîòîêà, ïîëó÷åííàÿ Õåõòîì, äàâàëà äëÿ çðèòåëüíîãî ïîðîãà íà ñåò÷àòêå ïÿòü-âîñåìü ôîòîíîâ, ÷òî î÷åíü õîðîøî ñîãëàñîâàëîñü ñ ðåçóëüòàòàìè èçìåðåíèé. Îòìåòèì çäåñü äîñòàòî÷íóþ áëèçîñòü îöåíîê Õåõòà (n0  = 5-8) è Âàâèëîâà (n0 = 20).

Ñîâðåìåííûå ïðåäñòàâëåíèÿ

Èòàê, ãëàâíûé âûâîä èç ðàííèõ ðàáîò Õàðèòîíà è Ëè (20-å ãîäû), Âàâèëîâà è ñîòðóäíèêîâ (30-å ãîäû) è Õåõòà è êîëëåã (40-å ãîäû) ñîñòîèò â òîì, ÷òî çðèòåëüíàÿ êëåòêà ñåò÷àòêè - ïàëî÷êà - âîçáóæäàåòñÿ ïðè ïîãëîùåíèè äàæå îäíîãî ôîòîíà.  íåé ôîòîí ïîãëîùàåòñÿ îäíîé èç 109 ìîëåêóë çðèòåëüíîãî ïèãìåíòà - ðîäîïñèíà. Ïàëî÷êà äîëæíà êàêèì-òî îáðàçîì “óçíàòü” âîçáóæäåííóþ ìîëåêóëó è îòâåòèòü íà ýòî îäíîêâàíòîâîå ñîáûòèå âîçíèêíîâåíèåì ýëåêòðè÷åñêîãî (ðåöåïòîðíîãî) ñèãíàëà.  ïîñëåäíèå ãîäû óäàëîñü âïðÿìóþ çàðåãèñòðèðîâàòü ýòîò î÷åíü ñëàáûé ýëåêòðè÷åñêèé ñèãíàë [8].  ðåçóëüòàòå ñòàëî ÿñíî: îòâåò çðèòåëüíîé êëåòêè (è ïàëî÷êè, è êîëáî÷êè) íà åäèíè÷íûé ôîòîí åñòü ñîáûòèå äèñêðåòíîå, íå çàâèñèò îò èíòåíñèâíîñòè ñâåòà, äëèòåëüíîñòè âñïûøêè è äëèíû âîëíû (öâåòà). Ó êîëáî÷åê, îäíàêî, åãî âåëè÷èíà îêàçàëàñü ñëèøêîì ìàëà äëÿ òîãî, ÷òîáû âîçíèê òàêîé ðåöåïòîðíûé ñèãíàë, êîòîðûé ïåðåäàâàëñÿ áû ñëåäóþùèì íåéðîíàì ñåò÷àòêè. Ýòèì îáúÿñíÿåòñÿ îòíîñèòåëüíî íèçêàÿ (ïðèìåðíî íà äâà ïîðÿäêà âåëè÷èíû) ÷óâñòâèòåëüíîñòü êîëáî÷åê ïî ñðàâíåíèþ ñ ïàëî÷êàìè.

 ïàëî÷êå ýëåêòðè÷åñêèé ðåöåïòîðíûé îòâåò íà ïîãëîùåíèå îäíîãî ôîòîíà äîñòàòî÷íî âåëèê (îêîëî 3% îò ìàêñèìàëüíîãî çíà÷åíèÿ), ÷òîáû ïðîéòè ÷åðåç ñèíàïñ ê ñëåäóþùèì íåéðîíàì ñåò÷àòêè. Ìåõàíèçì òðàíñäóêöèè â ïàëî÷êå áîëåå ýôôåêòèâåí, ÷åì â êîëáî÷êå. Ïîä òðàíñäóêöèåé ïîíèìàþò ïðåîáðàçîâàíèå ýíåðãèè ôîòîíà, ïîãëîùåííîãî ìîëåêóëîé ðîäîïñèíà, â ýëåêòðè÷åñêóþ ýíåðãèþ ôîòîðåöåïòîðíîãî ñèãíàëà. Îùóùåíèå æå ñëàáîé ñâåòîâîé âñïûøêè âîçíèêàåò òîëüêî ïðè ñóììèðîâàíèè â íåðâíûõ êëåòêàõ ñåò÷àòêè ñèãíàëîâ îò íåñêîëüêèõ âîçáóæäåííûõ ïàëî÷åê, ïðè÷åì â òå÷åíèå íåáîëüøîãî ïðîìåæóòêà âðåìåíè.

Çðèòåëüíàÿ ñèñòåìà ÷åëîâåêà ñïîñîáíà ðàñïîçíàâàòü êàê ñëàáóþ âñïûøêó îäíîâðåìåííîå ïîãëîùåíèå 5-7 ôîòîíîâ â ðåöåïòèâíîì ïîëå, íàñ÷èòûâàþùåì îêîëî 500 ïàëî÷åê. Ôèçè÷åñêèé ïðåäåë àáñîëþòíîé ñâåòîâîé ÷óâñòâèòåëüíîñòè ïàëî÷êè îïðåäåëÿåòñÿ íå òîëüêî âûñîêîé ýôôåêòèâíîñòüþ ïðîöåññà òðàíñäóêöèè, íî è íèçêèì óðîâíåì áèîëîãè÷åñêîãî òåìíîâîãî øóìà.

Òðàíñäóêöèÿ çàïóñêàåòñÿ ïîãëîùåíèåì ôîòîíà õðîìîôîðíîé ãðóïïîé (11-öèñ ðåòèíàëåì) â ìîëåêóëå ðîäîïñèíà. Äîñòàòî÷íî áîëüøàÿ ýíåðãèÿ, êîòîðóþ äîñòàâëÿåò ïîãëîùåííûé ôîòîí, òðàòèòñÿ íà ôîòîèçîìåðèçàöèþ 11-öèñ ðåòèíàëÿ. Âìåñòå ñ òåì èç-çà òåïëîâûõ ôëóêòóàöèé ìîëåêóëà ðîäîïñèíà ìîæåò ñ íåêîòîðîé âåðîÿòíîñòüþ àêòèâèðîâàòüñÿ è áåç ïîãëîùåíèÿ ôîòîíà (òàê íàçûâàåìàÿ ðåàêöèÿ ñïîíòàííîé òåìíîâîé èçîìåðèçàöèè). Òàêóþ òåìíîâóþ èçîìåðèçàöèþ ïàëî÷êà âîñïðèíèìàåò êàê ëîæíûé ñâåòîâîé ñèãíàë. Âåðîÿòíîñòü òåïëîâûõ èçîìåðèçàöèé êðàéíå ìàëà: ïðè êîìíàòíîé òåìïåðàòóðå åå ïîëóïåðèîä äîñòèãàåò 500-1000 ëåò. Ýòî îçíà÷àåò, ÷òî ìîëåêóëà ðîäîïñèíà èñêëþ÷èòåëüíî ñòàáèëüíà. Êàçàëîñü áû, òåìíîâîé øóì â çðèòåëüíîé ñèñòåìå äîëæåí áûòü íè÷òîæåí. Íî â íàðóæíîì ñåãìåíòå ïàëî÷êè ñîäåðæèòñÿ îãðîìíîå êîëè÷åñòâî ìîëåêóë ðîäîïñèíà (ó ÷åðåïàõè è ëÿãóøêè ~109, ó ÷åëîâåêà ~108), è ñóììàðíîå ÷èñëî ñïîíòàííûõ èçîìåðèçàöèé â êàæäîé ïàëî÷êå ìîæåò áûòü íå ñòîëü óæ ìàëî. Ïîýòîìó â çðèòåëüíîé ñèñòåìå âîçíèêàåò øóì, êîòîðûé ÷åëîâåê, äîëãî íàõîäÿñü â ïîëíîé òåìíîòå, ìîæåò “óâèäåòü” êàê î÷åíü ðåäêèå ñëó÷àéíûå ñâåòîâûå âñïûøêè.

Èòàê, ïàëî÷êà ñïîñîáíà óâåðåííî äåòåêòèðîâàòü îäèí ôîòîí, ò.å. ïðåäñòàâëÿåò ñîáîé ýôôåêòèâíûé ñ÷åò÷èê êâàíòîâ ñâåòà. Ñåé÷àñ äîñòàòî÷íî ÿñåí ìîëåêóëÿðíûé ìåõàíèçì, îáåñïå÷èâàþùèé âûñîêóþ ÷óâñòâèòåëüíîñòü ïàëî÷êè [9]. Ôîòîèçîìåðèçàöèÿ 11-öèñ ðåòèíàëÿ â ìîëåêóëå ðîäîïñèíà çàïóñêàåò êàñêàä ôåðìåíòàòèâíûõ ðåàêöèé, óñèëèâàþùèé ñèãíàë â 105-106 ðàç.  ðåçóëüòàòå â íàðóæíîì ñåãìåíòå ïàëî÷êè âîçíèêàåò ýëåêòðè÷åñêèé ñèãíàë, êîòîðûé ðàñïðîñòðàíÿåòñÿ âäîëü êëåòêè ïî ïëàçìàòè÷åñêîé ìåìáðàíå è ïåðåäàåòñÿ â ïåðâîì ñèíàïñå ñëåäóþùèì íåðâíûì êëåòêàì ñåò÷àòêè. Ïî ñóùåñòâó ôîòîòðàíñäóêöèÿ - ýòî âàðèàíò êëàññè÷åñêîé öåïíîé ðåàêöèè, ïîäîáíîé àòîìíîìó âçðûâó, òîëüêî ïðîèñõîäÿùèé â ñâåòî÷óâñòâèòåëüíîì íàðóæíîì ñåãìåíòå çðèòåëüíîé êëåòêè.

 Âíóòðè íàðóæíîãî ñåãìåíòà ïàëî÷êè íàõîäèòñÿ íåñêîëüêî ñîòåí ôîòîðåöåïòîðíûõ äèñêîâ, êàæäûé èç êîòîðûõ ñîäåðæèò äî 106 ìîëåêóë çðèòåëüíîãî ïèãìåíòà ðîäîïñèíà.  ìåìáðàíå ôîòîðåöåïòîðíîãî äèñêà íàõîäÿòñÿ òàêæå îñíîâíûå áåëêè - ó÷àñòíèêè ïðîöåññà òðàíñäóêöèè: Ð - ðîäîïñèí, Ò - òðàíñäóöèí èëè G-áåëîê è ÔÄÝ - ôåðìåíò ôîñôîäèýñòåðàçà; â öèòîïëàçìå íàðóæíîãî ñåãìåíòà - ôåðìåíò ãóàíèëàòöèêëàçà - ÃÖ.  òåìíîòå ðîäîïñèí, òðàíñäóöèí è ôîñôîäèýñòåðàçà íåàêòèâíû. Èîííûé êàíàë â ïëàçìàòè÷åñêîé ìåìáðàíå îòêðûò áëàãîäàðÿ “ñèäÿùèì” íà íåì ìîëåêóëàì öèêëè÷åñêîãî ãóàíîçèíìîíîôîñôàòà - öÃÌÔ. ×åðåç îòêðûòûé èîííûé êàíàë âíóòðü êëåòêè ïî ãðàäèåíòó êîíöåíòðàöèè ïîñòóïàþò èîíû íàòðèÿ (Na+) è êàëüöèÿ (Ca++).  ðåçóëüòàòå íà ìåìáðàíå ïîääåðæèâàåòñÿ ýëåêòðè÷åñêèé ïîòåíöèàë –40 ìÂ. Ïðè ïîãëîùåíèè êâàíòà ñâåòà ìîëåêóëîé ðîäîïñèíà ïðîèñõîäèò èçîìåðèçàöèÿ õðîìîôîðà (11-öèñ ðåòèíàëÿ) è èçìåíÿåòñÿ êîíôîðìàöèÿ áåëêîâîé ÷àñòè ìîëåêóëû. Ýòî ïðèâîäèò ê îáåñöâå÷èâàíèþ ðîäîïñèíà, êîòîðûé àêòèâèðóåò òðàíñäóöèí (Ò), â ñâîþ î÷åðåäü âçàèìîäåéñòâóþùèé ñ ôîñôîäèýñòåðàçîé (ÔÄÝ). Àêòèâèðîâàííûé ÔÄÝ ãèäðîëèçóåò öÃÌÔ, âñëåäñòâèå ÷åãî åãî êîíöåíòðàöèÿ â öèòîïëàçìå íàðóæíîãî ñåãìåíòà ïàäàåò. Èîííûé êàíàë, êîòîðûé òåðÿåò öÃÌÔ, çàêðûâàåòñÿ, ïëàçìàòè÷åñêàÿ ìåìáðàíà ãèïåðïîëÿðèçóåòñÿ, è âîçíèêàåò ýëåêòðè÷åñêèé íåðâíûé ñèãíàë. Öåïíàÿ ðåàêöèÿ Ð-Ò-ÔÄÝ ïðèâîäèò ê óñèëåíèþ ñâåòîâîãî ñèãíàëà â 105-106 ðàç.

Îäíî èç óäèâèòåëüíûõ è âàæíûõ ñâîéñòâ ïàëî÷êè êàê ñ÷åò÷èêà îäèíî÷íûõ ôîòîíîâ - ïîñòîÿíñòâî ôîðìû è âåëè÷èíû ýëåêòðè÷åñêîãî îòêëèêà, êîòîðîå îáåñïå÷èâàåòñÿ ñòðîãî îïðåäåëåííîé ãåîìåòðèåé êëåòêè. Ïàëî÷êà íàïîìèíàåò ôîòîóìíîæèòåëü ñ ñîòíÿìè èëè äàæå òûñÿ÷àìè îðèåíòèðîâàííûõ ôîòîðåöåïòîðíûõ äèñêîâ.  ïëàçìàòè÷åñêîé ìåìáðàíå, îêðóæàþùåé âñþ êëåòêó, ðàâíîìåðíî ðàñïðåäåëåíû èîííûå êàíàëû. Åñëè ñâåòîâàÿ âñïûøêà äîñòàòî÷íî ÿðêàÿ è íàñ÷èòûâàåò íå äåñÿòîê, à ìíîæåñòâî ôîòîíîâ, îíè ïîãëîùàþòñÿ ìîëåêóëàìè ðîäîïñèíà ïî âñåé äëèíå íàðóæíîãî ñåãìåíòà. È òîãäà ýëåêòðè÷åñêèé îòâåò ïàëî÷êè ñóùåñòâåííî âûøå. Íî âñå ðàâíî ýòîò îòíîñèòåëüíî áîëüøîé ýëåêòðè÷åñêèé ñèãíàë âñåãî ëèøü ñóììà îäíîôîòîííûõ ñèãíàëîâ.

Èíûìè ñëîâàìè, ýëåìåíòàðíûé àêò â ðàáîòå çðèòåëüíîé êëåòêè - åå ýëåêòðè÷åñêèé îòâåò íà ïîãëîùåíèå åäèíè÷íîãî ôîòîíà. Òàêèì îáðàçîì, äîñòàòî÷íî âûñîêàÿ ýíåðãèÿ èçîìåðèçàöèè 11-öèñ ðåòèíàëÿ, ñïåöèôè÷íîñòü è âûñîêàÿ ýôôåêòèâíîñòü ôîòîòðàíñäóêöèè, óäèâèòåëüíîå ïîñòîÿíñòâî ïàðàìåòðîâ ôîòîðåöåïòîðíîãî ýëåêòðè÷åñêîãî îòâåòà íà ïîãëîùåíèå åäèíè÷íîãî ôîòîíà è, âîçìîæíî, íåêîòîðûå äðóãèå ìåõàíèçìû è îáåñïå÷èâàþò ðàáîòó ïàëî÷êè â ðåæèìå ñ÷åò÷èêà ôîòîíîâ ñ âûñîêèì îòíîøåíèåì ñèãíàë-øóì.

Èòàê, àáñîëþòíàÿ ñâåòîâàÿ ÷óâñòâèòåëüíîñòü çðèòåëüíîé ñèñòåìû (ãëàçà è ìîçãà) îïðåäåëÿåòñÿ íàèìåíüøèì êîëè÷åñòâîì ñâåòîâîé ýíåðãèè, êîòîðîå âûçûâàåò ñóáúåêòèâíîå îùóùåíèå ñâåòà.  íàñòîÿùåå âðåìÿ ïîðîã ñâåòîâîãî âîñïðèÿòèÿ ýêñïåðèìåíòàëüíî îïðåäåëåí â (4-7)·10–10 ýðã/ñ. Ýòî - ìèíèìàëüíûé ïîòîê ñâåòîâîé ýíåðãèè îò òî÷å÷íîãî èñòî÷íèêà, êîòîðûé ïàäàåò íà ðîãîâèöó ãëàçà è âîñïðèíèìàåòñÿ ìîçãîì êàê âñïûøêà ñâåòà. Äëÿ ôîòîíîâ ñ äëèíîé âîëíû 507 íì (ìàêñèìóì êðèâîé âèäíîñòè ïàëî÷êîâîãî çðåíèÿ) òàêàÿ ïîðîãîâàÿ ýíåðãèÿ ñîîòâåòñòâóåò 50-150 ôîòîíàì. Îêîëî ïîëîâèíû ýòîé ýíåðãèè òåðÿåòñÿ íà ïóòè ê ñåò÷àòêå â îïòè÷åñêèõ ñðåäàõ ãëàçà, ãëàâíûì îáðàçîì çà ñ÷åò îòðàæåíèÿ îò ðîãîâèöû è ïîãëîùåíèÿ â õðóñòàëèêå è ñòåêëîâèäíîì òåëå. Èç äîõîäÿùèõ äî ñåò÷àòêè 25-75 ôîòîíîâ ñîáñòâåííî ôîòîðåöåïòîðíûìè êëåòêàìè ïîãëîùàåòñÿ âñåãî 5-15, îñòàëüíûå (íàçûâàåìûå “ëèøíèìè”) ïðîõîäÿò ñêâîçü ñåò÷àòêó è ïîãëîùàþòñÿ ëåæàùèì çà íåé îäíîñëîéíûì ÷åðíûì ïèãìåíòíûì ýïèòåëèåì.

Ïðèðîäà ôåíîìåíà ïðåäåëüíîé ñâåòîâîé ÷óâñòâèòåëüíîñòè çðèòåëüíîé êëåòêè íàõîäèò ñâîå îáúÿñíåíèå. Çàñëóãà Ñ.Ëýíãëè, Þ.Á.Õàðèòîíà, Ñ.È.Âàâèëîâà, Ñ.Õåõòà è ìíîãèõ äðóãèõ èññëåäîâàòåëåé ñîñòîèò â óñòàíîâëåíèè ñàìîãî ýòîãî ôåíîìåíà: îäíîãî ïîãëîùåííîãî ñâåòîâîãî êâàíòà äîñòàòî÷íî äëÿ ôèçèîëîãè÷åñêîãî âîçáóæäåíèÿ ðåöåïòîðà ñóìåðå÷íîãî çðåíèÿ - ïàëî÷êè ñåò÷àòêè ãëàçà.

Ëèòåðàòóðà

1. Langley S.P. // Proc. Amer. Acad. Sci. 1881. V.16. P.342.

2. Langley S.P. // Phil. Mag. 1889. V.27. Series 5, 1.

3. Chariton J., Lea C.A. // Proc. Roy. Soc. 1929. V.CXXII.-A. P.304-352.

4. Âàâèëîâ Ñ.È. Ãëàç è ñîëíöå. Ì., 1927.

5. Âàâèëîâ Ñ.È. Ôëóêòóàöèè ñâåòà è èõ èçìåðåíèÿ âèçóàëüíûì ìåòîäîì // Òð. ôèçèîë. îïòèêè. Ë., 1936. Ñ.332-342.

6. Áðóìáåðã Å.Ì., Âàâèëîâ Ñ.È. // Èçâ. ÀÍ ÑÑÑÐ (ÎÌÅÍ). 1933. ¹7. Ñ.919-941.

7. Hecht S., Shlaer S., Pirenne M.H. // J. General Physiology. 1942. V.25. P.819-840.

8. Îñòðîâñêèé Ì.À., Ãîâàðäîâñêèé Â.È. Ìåõàíèçìû ôîòîðåöåïöèè ïîçâîíî÷íûõ // Ôèçèîëîãèÿ çðåíèÿ. Ì., 1992. Ñ.5-59.

9. Pepe U.M. // J. Photochem. Photobiology. 1999. V.48. P.1-10.

 

 


© 2012 Ðåôåðàòû, äîêëàäû è äèïëîìíûå ðàáîòû, êóðñîâûå ðàáîòû áåñïëàòíî.