рефераты
Главная

Рефераты по международному публичному праву

Рефераты по международному частному праву

Рефераты по международным отношениям

Рефераты по культуре и искусству

Рефераты по менеджменту

Рефераты по металлургии

Рефераты по муниципальному праву

Рефераты по налогообложению

Рефераты по оккультизму и уфологии

Рефераты по педагогике

Рефераты по политологии

Рефераты по праву

Биографии

Рефераты по предпринимательству

Рефераты по психологии

Рефераты по радиоэлектронике

Рефераты по риторике

Рефераты по социологии

Рефераты по статистике

Рефераты по страхованию

Рефераты по строительству

Рефераты по таможенной системе

Сочинения по литературе и русскому языку

Рефераты по теории государства и права

Рефераты по теории организации

Рефераты по теплотехнике

Рефераты по технологии

Рефераты по товароведению

Рефераты по транспорту

Рефераты по трудовому праву

Рефераты по туризму

Рефераты по уголовному праву и процессу

Рефераты по управлению

Курсовая работа: Влияние содержания 1,2-полибутадиена на свойства динамических термоэластопластов

Курсовая работа: Влияние содержания 1,2-полибутадиена на свойства динамических термоэластопластов

Федеральное агентство по образованию

Государственное образовательное учреждение

Высшего профессионального образования

"Московская государственная академия тонкой химической технологии имени М.В. Ломоносова"

Кафедра Химии и физики полимеров и полимерных материалов им. Б.А. Догадкина

ВЛИЯНИЕ СОДЕРЖАНИЯ 1,2-ПОЛИБУТАДИЕНА НА СВОЙСТВА ДИНАМИЧЕСКИХ ТЕРМОЭЛАСТОПЛАСТОВ

Квалификационная работа бакалавра

по направлению 150600.62 "Материаловедение и технология новых материалов"

Заведующий кафедрой ХФП и ПМ,

д. т. н., проф. С.В. Резниченко

Научный руководитель

к. х. н., доц.В.Д. Юловская

Консультант по научной части

д. х. н. О.А. Серенко

Студент гр. МТ-46п Т.В. Коновалова

 

Москва 2009


Оглавление

Введение

1. Литературный обзор

1.1 История ДТЭП

1.2 Получение термопластичных эластомеров методом динамической вулканизации

1.3 Структура ДТЭП

1.4 Физико-механические свойства ДТЭП

1.5 Физические свойства и микроструктура 1,2-полибутадиена

1.6 Особенности термического старения

1.7 Области применения ДТЭП

2. Объекты и методы исследования

2.1 Материалы

2.2 Оборудование

2.3 Методика приготовления образцов

2.3.1 Получение смесей эластомер-термопласт

2.3.2 Получение ДТЭП

2.4 Методы исследования

2.4.1 Определение густоты сетки методом равновесного набухания

2.4.2 Виброреомометрия

2.4.3 Определение показателя текучести расплава

2.4.4 Механические испытания

2.4.5 Дифференциальная сканирующая калориметрия (ДСК)

2.4.6 Расчет параметров растворимости

2.4.7 Искусственное старение

3. Экспериментальная часть и обсуждение результатов

3.1 Влияние матричного полимера на структуру и свойства смесей СКД-СР/ ПЭНД и СКД-СР/ ПП и ДТЭП на их основе

3.1.1 Влияние концентрации каучука на свойства механических смесей на основе смесей ПЭНД/СКД-СР

3.1.2 Влияние динамической вулканизации на свойства ДТЭП на основе смесей ПЭНД/СКД-СР

3.1.3 Влияние концентрации каучука на свойства механических смесей на основе смесей ПП/СКД-СР

3.1.4 Влияние динамической вулканизации на свойства ДТЭП на основе смесей ПП/СКД-СР

3.2 Влияние природы каучука на свойства ДТЭП

3.3 Старение ДТЭП на основе ПЭНД/СКЭПТ-712, ПЭНД/СКД-СР и ПП/СКД-СР, содержащих 40 % каучука

Заключение

Выводы

Список используемой литературы


Введение

Динамические термоэластопласты (ДТЭП) являются разновидностью термоэластопластов (ТЭП), представляющих собой полимерные композиционные материалы, совмещающие свойства резин при эксплуатации и свойства термопластов при переработке [1]. Таким образом, ДТЭП обладают характеристиками, как вулканизованных резин, так и конструктивными свойствами термопластов.

Динамические термоэластопласты получают путем смешения каучука с термопластом при одновременной вулканизации эластомера в процессе смешения - "метод динамической вулканизации". Получаемый материал характеризуется однородным распределением частиц каучуковой фазы в непрерывной матрице термопласта. Размер каучуковых частиц не превышает нескольких микронов. Содержание каучука в термопласте определяется рецептурой и может достигать 60-70 мас. % (ДТЭП).

Динамическая вулканизация позволяет получать материалы с высокими физико-механическими свойствами, широким интервалом работоспособности, существенно меньшей стоимостью готовой продукции. Указанным способом получают ДТЭП не только из полиолефинов, но и из других полимерных материалов.

Так, динамической вулканизацией смеси полиамида и галогенсодержащего сополимера изобутилена и п-метилстирола выпускают ДТЭП, из которого изготавливают герметизирующий слой шин или различные слои шлангов.

Благодаря своей относительно низкой стоимости и достаточно высокими эксплуатационными характеристиками, ДТЭП являются одним из самых перспективных классов полимерных композиционных материалов.

Совмещение каучуков с пластиками позволяет создать композиционные материалы с разнообразными свойствами, отличными от свойств исходных компонентов. Изменяя соотношение каучуков и термопластов, используемых для изготовления ДТЭП, можно варьировать свойства продукта от резины до пластика. Используя различные полимеры можно в широких пределах менять свойства материалов и создавать новые изделия с необходимым комплексом свойств.

Особые качества материала делают его стопроцентно пригодным для вторичной переработки. Легкость изготовления, широкие просторы для дизайна и эластичность ДТЭП дают очевидные преимущества: расширить ассортимент выпускаемой продукции и повысить её долговечность [1].

В последние годы интенсивно развивается производство и применение динамических термоэластопластов. Применение ДЭТП дает возможность создания полностью автоматизированного процесса производства, сокращения расходов энергозатрат, утилизации отходов, а также возможность многократной переработки материала без ухудшения свойств, что обеспечивает огромное снижение стоимости готовой продукции.

В настоящее время ДТЭП является сырьем, завоевывающим мировой рынок с прогрессией 10-15% в год. Производством ДТЭП за рубежом занимаются более 20 ведущих фирм, которые выпускают порядка сорока различных типов этих материалов.

Как исходное сырье термоэластопласты по стоимости дороже каучуков. Однако затраты на переработку одного килограмма каучука намного выше, поскольку процесс переработки каучука в готовые изделия включает стадии смешения, формования и вулканизации, что требует высоких капитальных, энергетических и трудовых затрат.

Причем на каждой стадии переработки образуются отходы, которые трудно, а зачастую и невозможно повторно использовать. ДТЭП же перерабатывается практически в одну стадию без отходов производства и со значительно меньшими производственными затратами (исключается энергоемкая стадия вулканизации).

термоэластопласт каучук вулканизация динамическая

Цель работы - исследование влияния концентрации 1,2-полибутадиенового каучука на деформационное поведение вулканизованных смесей на основе полиолефинов.


1. Литературный обзор 1.1 История ДТЭП

Считается, что первые упоминания о смешанных системах пластика с каучуком датируются 1944 г., в работе R. A. Emmett [2] описаны смеси бутадиен-нитрильного каучука с поливинилхлоридом. Однако история возникновения нового класса полимерных материалов, сочетающих в себе свойства термопластов и сшитых эластомеров, началась в конце 1950-х годов с появления на рынке первых марок термопластичного полиуретана и стирол-бутадиен-стирольных эластомеров. В 1959 г. фирма “B. F. Goodrich” выпустила первую коммерческую марку полиуретана Эстан (Estane). Примерно в это же время появился материал под маркой Кратон (Kraton) от компании “Shell Chemical” - ДТЭП на основе блоксополимера стирола.

Динамически вулканизованные олефиновые ДТЭП были впервые описаны в [3] при получении ударопрочной композиции на основе смеси полипропилена (ПП) и полиизобутилена, содержащей различные количества частично-сшитого эластомера. А первые сшитые смеси полипропилена с этилен-пропилен-диеновым каучуком (СКЭПТ) были получены M. Holzer с сотрудниками в 1966 г. Пионером же среди промышленных марок считается выпущенный в 1971 г. фирмой “Uniroyal" новый материал под маркой ТПР (TPR) - вулканизованный ДТЭП, полученный по новой технологии методом "динамической вулканизации" системы ПП+СКЭПТ. Для многих термоэластопластов существует этот простой и эффективный способ приготовления компаунда путем интенсивного механического смешения каучука с пластиками. В качестве термопластов используются гомо - или сополимеры этилена и пропилена, а для создания эластомерной фазы известно применение самых различных каучуков - натурального, изопренового, бутадиенового, бутадиен-стирольного, бутадиен-нитрильного, бутилкаучука, этилен-пропиленовых, эпихлоргидриновых, пропиленоксидных, силоксановых, фторкаучуков и др. При этом за счет полной или частичной вулканизации каучуковой фазы с помощью различных вулканизующих систем (серной, пероксидной, смоляной) появляется возможность осуществлять модифицирование физико-химических и эксплуатационных характеристик материалов. Это достигается благодаря образованию в процессе смешения в специальных смесителях или экструдерах и одновременной вулканизации характерной гетерофазной структуры, представляющей собой мелкодисперсную (субмикронную) вулканизованную фазу эластомера в непрерывной среде термопласта.

Во многом благодаря внедрению этой технологии в мире появились очень популярные сегодня материалы. В 1981 г. американской фирмой “Monsanto" на рынок был выпущен термопластичный вулканизат марки Сантопрен (Santoprene), а позднее разработаны и другие марки динамических вулканизатов (Джеоласт (Geolast) и Вайрам (Vyram)). Сегодня “Monsanto”, преобразованная в компанию “Advanсed Elastomer Systems" (AES), является подразделением крупнейшего нефтехимического концерна “ExxonMobil Chemical” и выпускает около 100 различных марок этих материалов общим объемом свыше 100 тыс. тонн в год [4].

Сегодня за рубежом выпускается широкий спектр термопластичных эластомерных материалов (известно всего около 50 видов ДТЭП - более 700 марок), обладающих разнообразным комплексом важных эксплуатационных свойств.

В России приоритет в данной области принадлежит химикам Башкортостана: прогрессивная технология получения ТПЭ методом "динамической вулканизации" впервые в промышленном масштабе была освоена в г. Уфе на базе ОАО "Уфаоргсинтез" в 1999 г. на примере электроизоляционных компаундов на основе смесей полипропилена и СКЭПТ.

Сейчас первое место по производству ДТЭП в России занимает ЗАО "Кварт" (г. Казань). "Кварт" в 2004 г. запустил технологическую линию по производству олефиновых "динамических" вулканизатов марки "Квартопрен" для автомобилестроения и стройиндустрии.

 

1.2 Получение термопластичных эластомеров методом динамической вулканизации

В настоящее время в производстве композиционных изделий разрабатываются новые технологические процессы, направленные на повышение производительности труда за счет интенсификации, механизации и автоматизации производства, уменьшения отходов и вторичного использования сырья. К их числу относится получение перспективного класса полимерных материалов - динамических термоэластопластов (ДТЭП).

Особенностью технологии получения ДТЭП из комбинации каучук-термопласт является совмещение стадии смешения и вулканизации.

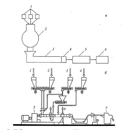
Для получения ДТЭП применяют как периодические, так и непрерывные способы смешения. При непрерывном способе смешения используют одношнековые или двухшнековые смесительные машины с L/D> 40, сложной геометрией червяка и с большим количеством рабочих зон (загрузка, пластикация, смешение, дегазация, грануляция) (рис 1-1.). При этом на процесс смешения накладывается химическая реакция сшивания, вследствие которой меняется структура эластомерной фазы и увеличивается вязкость среды, что затрудняет гомогенизацию смеси. Для получения небольших количеств ДТЭП могут быть использованы высокотемпературные вальцы различных размеров и фрикций. Проведение вулканизации эластомера в процессе смешения приводит к сильному газовыделению, поэтому смесительное оборудование должно быть оснащено мощной вытяжной вентиляцией.

В лабораторных условиях ДТЭП получают на пластикодере "Брабендер", моделирующего работу скоростного смесителя периодического действия. Конструкция прибора позволяет задавать скорость вращения роторов от 0 до 120 об/мин, первоначальную температуру в смесительной камере от 20 до 200°С. На рис.1.1 [5] приведена типичная пластограмма (зависимость крутящего момента на валу привода Мкр от времени смешения), получаемая в процессе смешения. Вначале за счет перехода каучука в вязкотекучее состояние и уменьшения вязкости с повышением температуры крутящий момент уменьшается до Мкр1. Затем в процессе смешения вводятся вулканизующие агенты и происходит динамическая вулканизация, о чем свидетельствует повышение крутящего момента до Мкр2. После этого вследствие протекания механохимических процессов крутящий момент уменьшается до значения Мкр3.

Рис. 1.1. Типичная пластограмма получения ДТЭП.

Рис 1.2 Принципиальные схемы получения ТЭП периодическим (а) и непрерывным (б) способами:

(а) - Периодический способ: 1 - бункеры для ингредиентов, 2 - высокоскоростной смеситель, 3 - экструдер, 4 - гранулирующая головка, 5 - охлаждающая ванна, 6 - сборник гранул.

(б) - Непрерывный способ: - полиолефин, 2 - каучук, 3 - сшивающий агент, 4 - другие компоненты, 5 - двушнековый экструдер ZSK, 6 - вакуумная дегазация, 7 - гранулятор.

Лучшими физико-механическими свойствами обладают композиции, полученные при частоте вращения роторов 90-100 об/мин и продолжительности динамической вулканизации, на 3-5 мин превышающей время достижения максимума. Это подтверждает известный факт [6], что ДТЭП с оптимальным комплексом свойств можно получить только из дисперсии микрогелевых частичек сшитого каучука размером 0,5-5 мкм, равномерно распределенных в непрерывной фазе термопласта. Последнее достигается за счет протекания механохимических процессов в вулканизованной каучуковой фазе при непрерывном интенсивном сдвиговом деформировании.

Метод динамической вулканизации позволяет получать ДТЭП на основе как гибкоцепных, так и жесткоцепных термопластов с различными насыщенными и ненасыщенными каучуками, вулканизованными различными органическими пероксидами, серой и ускорителями, дивинилбензолами, органическими пероксидами с полифункциональными и аллильными мономерами или с кислотными функциональными группами, фенольными смолами, бис-полиимидами и др. В зависимости от соотношения каучук полиолефин можно получать ДТЭП с широким спектром свойств от эластичных до ударопрочных. Получение ДТЭП с высокими стабильными свойствами связано с решением четырех основных задач [5, 7]:

выбор соответствующих пар эластомер-полиолефин;

оптимизация условий смешения и переработки;

разработка рецептуры, способствующей увеличению взаимодействия на границе раздела фаз;

сшивание эластомерной фазы.

Наряду с рецептурными факторами, режим смешения и переработки, тип смесительного оборудования являются одним из основных факторов, влияющих на формирование структуры и свойств механических смесей полимеров, в частности на основе композиции эластомер-пластик [8,9]. Для получения ДТЭП с более стабильными свойствами рекомендуется вторичная переработка материала в смесительном аппарате при температурах выше Тст или Тпл термопласта с последующим гранулированием [5, 10].

Проблема последовательности введения компонентов в экструдер-реактор является весьма актуальной. Например, варьируя последовательность введения технического углерода в ДТЭП, можно изменять удельное сопротивление конечного продукта от 3.7-1013 до 2.5 Ом-см.

Знание последовательности введения компонентов и применение критериев Индукционный период ≥ (радиус экструдата) 2/6* (эффективная константа диффузии) и максимальная скорость вулканизации ≥ 1/ (индукционный период деструкции - индукционный период) позволило разработать процесс динамической вулканизации в одну стадию [10, 11].

Получение материалов с однородным распределением каучуковых частиц возможно и при применении новых методов смешения полимеров. Одним из них является метод упруго-деформационного воздействия (УВД), позволяющий совместить процессы смешения компонентов, диспергирования (измельчения) материала и в некоторых случаях химической модификации, которая связана с протеканием механохимических превращений и образованием сополимеров на границе раздела фаз в момент смешения компонентов [12].

В работе [13] исследовали влияние типа вулканизационной системы на скорость вулканизации и свойства ДТЭП. Установлено, что серная вулканизующая система имеет наименьший индукционный период и наиболее высокую скорость вулканизации, а при вулканизации смолами (смоляная система), наоборот, индукционный период наибольший, а скорость вулканизации наименьшая.

В исследованиях кинетики вулканизации систем с различным содержанием вулканизующих агентов обнаружено, что с увеличением или уменьшением в два раза концентрации этих агентов скорость вулканизации практически не меняется независимо от природы вулканизующей системы. В то же время, в случае использования серной вулканизующей системы с уменьшением ее концентрации индукционный период возрастает, а в случае использования смоляной системы - не зависит от ее концентрации. Плотность сшивок тройного этиленпропиленового сополимера, содержащего в качестве третьего компонента винилнорборнен, зависит экстремально от концентрации пероксида.

Влияние содержания вулканизующих агентов на свойства ДТЭП находиться на стадии изучения. Согласно результатам работы [13], содержание вулканизующих агентов практически не влияет на эластичность по отскоку и твердость образцов ДТЭП. С увеличением концентрации серных агентов деформационно-прочностные характеристики ДТЭП улучшались, а с увеличением концентрации агентов смоляной системы - ухудшались. С уменьшением содержания вулканизующих агентов уменьшалась прочность, и увеличивалось предельное удлинение при растяжении и остаточное удлинение после разрыва.

ВС при динамической вулканизации оказывает влияние как на каучук, так и на матрицу. По результатам работы [14] можно сказать, что добавление ВС в ПП изменяют его деформационные характеристики. Модуль упругости увеличивается, а предел текучести, предельная прочность и разрывное удлинение уменьшаются. При этом температура кристаллизации ПП возрастает, но суммарная степень кристалличности остается неизменной. Механические характеристики ПП при добавлении к нему элементарной серы практически не изменяются. Динамическая вулканизация в присутствии ВС влияет на процесс кристаллизации ПП (теплофизические свойства и кристаллическую модификацию) в его смеси со СКЭПТ. По данным исследования структуры смесей методом ЯМР-релаксации концентрация вулканизующих агентов влияет на структуру аморфных областей.

При использовании фенольной системы ДТЭП имеют лучшие показатели, особенно по набуханию в масле и остаточному удлинению при сжатии.

Авторы работы [5,7] исследовали кинетику вулканизации смеси СКЭПТ-ПП в присутствии сероускорительной системы в интервале температур 120-190°С. Соотношение СКЭПТ: ПП варьировали от 100: 0 до 100: 100. На кривой вулканизации наблюдали три периода, соответствующих основным стадиям вулканизации: первый - индукционный период, второй - период формирования сетки, третий-период перевулканизации. Показано, что эффективная энергия активации реакции для исходного эластомера и смесей меняется мало. Она составляет 7.11-11.17 для смесей и 8.85 ккал/ моль для эластомера. В то же время индукционный период и константа скорости реакции менялись.

Получение ДТЭП на основе ПП обычно, проводят при температурах выше 180°С. Протекающие при таких температурах процессы деструкции ухудшают свойства ПП и эластомерной фазы. Если в качестве вулканизующих агентов используют пероксиды, то помимо реакций деструкции происходят реакции сшивания компонентов. Поэтому для получения ДТЭП с оптимальными параметрами необходимо знать температурно-временные условия формирования сетчатой структуры эластомера в смеси, а при использовании пероксидов - кинетику деструкции и сшивания ПП и образования межфазных связей полимер-эластомер.

Эксплуатационные показатели ДТЭП: высокая стойкость к озону и ультрафиолетовым излучениям, стойкость к химическому воздействию, широкий температурный интервал работоспособности стабильно высокое качество, минимальные допуска размеров на изделии, низкая усадка, сопротивление ударным нагрузкам, выносливость к изгибу, высокая прочность.

 

1.3 Структура ДТЭП

Структура смесей полимеров зависит от термодинамической совместимости полимеров в процессе их получения. Количество термодинамически совместимых пар невелико. Повысить совместимость в смесях полимеров можно различными приемами: выбором полимеров, характеризующихся способностью к повышенному межмолекулярному взаимодействию, увеличением степени совулканизации полимеров, введением добавок, способствующих совместимости, воздействием на смесь высокого давления в сочетании с повышенной скоростью сдвига.

Согласно современным представлениям, взаиморастворимость и микрорасслаивание имеет двухфазную природу. Направление процесса растворения определяется термодинамическими изменениями, а скорость - кинетическими. Коэффициенты диффузии в системе полимер-полимер на 3-6 порядков меньше, чем для низкомолекулярных систем (10-15 - 10-19 м2/с при Т<Тпл или Тс и 10-12-10-14 м2/с при Т>Тпл). Это определяет трудности в достижении равновесия в полимерных системах. Однако существует общепринятое мнение, что для получения из смесей полимеров технических композиционных материалов с высоким комплексом свойств не обязательна их термодинамическая совместимость, а требуется создание высокодисперсной гетерогенной структуры "полимер в полимере". Наличие микрообластей с различными модулями приводит к облегчению релаксации и диссипации напряжения и улучшению сопротивляемости всей системы нагрузкам, но с термодинамической точки зрения - неравновесным структурам [5].

Коллоидная структура смесей полимеров может образоваться при диспергировании двух вязкоупругих несовместимых полимеров в процессе их смешения. Лучшее диспергирование в смеси полимеров достигается при соотношении вязкостей дисперсной фазы и матрицы 0,3-0,6 и близких нормальных напряжениях.

Особенности поведения ДТЭП обусловлены формированием при совмещении каучука и термопласта специфической структуры. ДТЭП представляют собой двухфазные системы, при этом в непрерывной фазе термопласта распределены частички сшитого каучука размером 0,5-10 мкм. Взаимодействие между фазами осуществляется за счет физических связей с образованием развитого граничного слоя [7].

В работе [15] c помощью метода сканирующей электронной микроскопии (СЭМ) исследовали морфологию смеси, содержащей ПП и 80 мас. % СКЭПТ. Было обнаружено, что в исходной невулканизованной системе ПП является дисперсной фазой. В процессе динамической вулканизации по мере роста плотности сшивки каучука происходит фазовая инверсия: ПП становится матрицей, а СКЭПТ - дисперсной фазой. При этом сшитые частицы каучука с размером порядка 0.8-2.0 мкм плотно упакованы в непрерывной матрице термопласта.

Для создания ДТЭП с высокими механическими характеристиками необходимо смешение дисперсий субмикронных размеров. Так, для смесей на основе ПП: СКЭПТ = 40: 60 предельные значения прочности и удлинения при растяжении возрастают с уменьшением размера доменов (рис.1.3) [8]

Риc.1.3 Диаграммы "напряжение - удлинение" для смесей ПП: СКЭПТ= 40: 60 с различным размером частиц эластомерной фазы (´ означает разрыв). Среднечисленный размер дисперсной фазы, мкм: 1 - 72, 2 - 39, 3 - 17, 4 - 5,4, 5-1,5.

Важно отметить, что граница раздела между фазами размыта. Частицы каучуковой фазы являются микрогелем, так как при нагревании системы в условиях "динамической вулканизации" создаются условия сшивания макромолекул. Однако сшивание происходит при непрерывном перемешивании, поэтому в результате механохимических процессов каучуковая фаза разрывается на отдельные частицы и получается дисперсия микрогелевых частичек сшитого каучука, например, вулканизованного СКЭПТ в непрерывной фазе полипропилена. Свойства ДТЭП на основе СКЭПТ и ПП, полученных высокотемпературным смешением, зависят от размера таких микрогелевых частиц вулканизованного каучука. Условная прочность при растяжении и относительное удлинение повышаются при уменьшении диаметра частиц. Прочность при растяжении изменяется обратно пропорционально квадратному корню из суммы среднего диаметра частиц и константы, а энергия разрушения - обратно пропорционально сумме среднего диаметра частиц к константе. Размер микрогелевых частичек зависит, как и для механических смесей полимеров, от межфазного натяжения, молекулярно-массового распределения полимеров, целевых ингредиентов, отношения вязкость эластомера и термопласта.

В процессе быстрого охлаждения расплава смеси часть термопласта интенсивно переходит в кристаллическое состояние, тогда как другая его часть, из-за близости поверхностных энергий смешиваемых каучука и пластика, "захватывая" часть макромолекул каучука или участков сетки, образует дефектно-кристаллическую структуру [9]. Таким образом, вулканизованные частички СКЭПТ оказываются окруженными прослойками, тяжами кристаллического полипропилена, связь между которыми осуществляется через межфазный слой, включающий молекулы обоих полимеров [8].

В работе [17] изучали структуру невулканизованных и динамических вулканизованных смесей изотактических ПП с тройным этиленпропиленовым сополимером при содержании последнего 5-85 мас. % методом атомно-силовой микроскопии (АСМ).


Рис.1.4 АСМ изображения поверхностей отпрессованных образцов смесей, содержащих невулканизованный СКЭПТ-4044 с соотношением [ПП]: [СКЭПТ] = 3,00 (а), 1,33 (б), 1,00 (в) и 0,67 (г) Размер изображения 65x45 мкм.

На рис.1.4 приведены АСМ-микрофотографии смесей на основе СКЭПТ-4044. В смесях с соотношением [ПП]: [СКЭПТ] ≥ 1.00 мас. % матрицей является термопласт (рис.1.4 а-в). Морфология образца, содержащего 25 мас. % СКЭПТ-4044, характеризуются однородным распределением мелко дисперсных частиц эластомера в ПП-матрице (рис.1.4 а). С увеличением доли эластомера до 40-50 мас. % происходит укрупнение его доменов и изменение их формы, хотя термопласт по-прежнему является матрицей (рис.1-4 б, в). При содержании 60 мас. % эластомера в смеси наблюдается морфология взаимопроникающих фаз (рис.1.4 г).

Морфология образца, содержащего 25 мас. % эластомера, характеризуется однородным распределением мелкодисперсных частиц с размерами менее 0.3 мкм (рис.1.4 а). В смесях с соотношением компонентов, равным 1.33 и 1.00, присутствуют как мелкие частицы каучука с диаметром ~0.5-4.0 мкм, так и более крупные домены со средним размером 10х20 мкм, распределенные в непрерывной ПП - матрице (рис.1.4 б, в).

Процесс динамической вулканизации не приводит к существенным изменениям морфологии: домены ПП однородно распределены в матрице эластомера, и их размер в среднем почти не меняется. Однако форма доменов становится более правильной, что, по-видимому, является следствием кристаллизации ПП в матрице вулканизованного СКЭПТ, имеющего большую жесткость.

Структура смесей до и после прессования различна. Это наиболее заметно в случае материалов с большим содержанием СКЭПТ (≥50 мас. %). На рис.1.5 представлены АСМ-изображения смесей с каучуками обоих типов до и после термической обработки (прессования). Видно, что непосредственно после смешения наблюдается морфология взаимопроникающих фаз (рис.1.5 а, в). Структура отпрессованных образцов в обоих случаях резко меняется - частицы эластомера существенно укрупняются (рис.1.5 б, г). Вероятно, это является следствием интенсивного течения более низковязкого ПП в условиях воздействия температуры и давления, а также коалесценции мелких эластомерных частиц в крупные домены в отсутствие трехмерной сетки, образующейся при вулканизации [17].

Рис.1.5 АСМ-изображения образцов невулканизованных смесей, содержащих 50 мас. % СКЭПТ-4044 (а, б) и 75 мас. % СКЭПТ-4535 (в, г) до (а, б) и после прессования (б, г). Размер изображения 50х50 мкм.

Сшитые каучуковые частицы формируют трехмерный структурный каркас, плотность которого возрастает с повышением их концентрации. Это происходит, по-видимому, в результате агломерации частиц СКЭПТ. Структура динамически вулканизованных смесей, содержащих до 75 мас. % каучука, аналогична структуре наполненных композитов. Она стабильна и не претерпевает существенных изменений даже после нескольких циклов переработки в отличие от смесей с невулканизованным СКЭПТ [18].

Наиболее широко применяются термопластичные эластомеры на основе полиолефинов - этилена, пропилена, их полимеров и сополимеров. По сравнению с другими типами ДТЭП они имеют низкую себестоимость, наибольший температурный диапазон работоспособности, более высокую стойкость к действию озона, влажности и коррозии.

В настоящее время наиболее детально исследованы и широко применяются ДТЭП на основе композиций СКЭПТ и полипропилена, свойства которых приведены в табл.1.1 По сравнению с традиционными резинами "Сантопрен", как и аналогичные ему материалы, имеет более низкую плотность (на 20-30%) и как следствие - меньшую стоимость единицы изделия. Свойства "Сантопрена" и различных ДТЭП приведены в табл.1.1.

Таблица 1.1 Основные свойства ДТЭП на основе различных полимеров, и "Сантопрена" фирмы "Монсанто" (США)

Показатели СКЭПТ-ПП Сантопрен СКИ - ПА НК - ПП
Условная прочность при растяжении, МПа 7-20 7-27 15-30 6-20

Относительное удлинение, %

150-400 375-600 200-370 200-500
Напряжение при 100% удлинении, МПа 6-15 2-10 78-96 -
Твердость по Шору 75-95 64-97 49-100 60-70
Сопротивление раздиру, кН/м 30-45 26-112 2-3 -
Температурный интервалработоспособности,°С -50+150 -50+150 -40+150 -

По сравнению с обычными резинами на основе СКЭПТ и ХСПЭ, ДТЭП на основе СКЭПТ и ПП имеют более высокую термостойкость и стойкость к набуханию в агрессивных средах и приближаются по маслостойкости к резинам на основе полихлоропрена.

 

1.4 Физико-механические свойства ДТЭП

В зависимости от соотношения каучук-полиолефин можно получать ДТЭП с широким спектром свойств: от эластичных до ударопрочных.

Таблица 1.2 Основные физико-механические показатели ДТЭП на основе СКЭПТ-ПП

Показатели Содержание ПП, м. ч.
25 30 40 50 60 70 80
Прочность при разрыве, Мпа 5,4 7,3 9,1 9,5 16,8 16,6 14
Относительное удлинение при разрыве, % 170 270 320 250 430 390 120
Остаточное удлинение при разрыве, % 10 36 52 68 240 260 64
Сопротивление раздиру, кН/м 36 36 55 67 81 105 113

Температура хрупкости, 0С

-61 -61 -60 -58 -58 -56 -56

В целом для широкой гаммы ДТЭП характерны следующие свойства:

1.  Твердость ДТЭП позволяет производить изделия от гибких до полужестких и жестких, сохраняя при этом благоприятные механические свойства

2.  Плотность ДТЭП значительно ниже плотности вулканизованной резины. Это дает возможность уменьшить вес детали на 30% без ущерба для эксплуатационных свойств.

3.  Прочностные характеристики - прочность при разрыве, модуль при 100% удлинении, сопротивление раздиру - имеют достаточно высокие значения и зависят от типа материала.

4.  Относительные и остаточные удлинения при растяжении и сжатии представляют существенный скачок для термопластичных материалов. Относительные удлинения при разрыве имеют хорошие значения для всех сортов материала, значения остаточной деформации при сжатии и 100% -ном удлинении для мягких сортов ДТЭП делает их пригодными для многих областей применения, в которых до сих пор использовались лишь вулканизованные резины.

5.  Температура хрупкости для многих сортов ДТЭП находиться ниже - 50оС. Многие сорта обладают достаточно высокой степенью низкотемпературной эластичности [5].

Вулканизация эластомера приводит к изменению механических свойств рассматриваемых материалов. Так, в работе [19] показано, что предельные деформации смесей, содержащих сшитую каучуковую фазу, увеличиваются при ударном растяжении. Авторы работы [20] изучали влияние степени сшивки эластомера на деформацию композиций ПП и СКЭПТ. Оказалось, что механические характеристики смесей, содержащих вулканизованный СКЭПТ, выше, чем аналогичные показатели для ТПЭ на основе невулканизованного СКЭПТ.

По данным работы [21] динамическая вулканизация инициирует специфические деформационные процессы в ДТЭП. Характер последних определяется соотношением компонентов исследованных смесей. При малом содержании СКЭПТ или ПП (≤0.25 об. долей) механические характеристики в основном определяются матрицей - ПП в первом случае и СКЭПТ во втором. При содержании ПП в диапазоне 0.25-0.75 об. долей на начальной стадии деформируется в основном ПП - матрица, а на последующих стадиях - матрица (ПП) и дисперсная фаза (сшитый СКЭПТ) практически раздельно. При этом согласно полученным данным, частицы каучуковой фазы отслаиваются от матрицы ПП на стадии образования шейки, после достижения предела текучести ПП и СКЭПТ деформируются отдельно.

 

1.5 Физические свойства и микроструктура 1,2-полибутадиена

В полибутадиеновой цепи последовательное присоединение мономерных звеньев может происходить либо в положении 1,4 либо в 1,2. Наличие в 1,2-полибутадиене ассиметричного атома приводит к возможности проявления оптической изомерии элементарных звеньев, конфигурации которых соответствуют изотактической и синдиотактической формам [22].

Полибутадиен с высоким содержанием винильных звеньев (СКД-СР) получают растворной полимеризацией бутадиена-1,3 в присутствии каталитической системы н-бутиллитий (БЛ) - диметиловый эфир диэтиленгликоля (ДГ). В целях снижения текучести полимера, особенно при повышенных температурах, в систему вводят сшивающий агент - 0,05-0,12 % мас. дивенилбензола [23]. Переработка СКД-СР из-за ряда его специфических свойств (особенности микростроения, узкого ММР) затруднена [24].

Высокое содержание 1,2-звеньев придает каучуку исключительную стойкость к термоокислительной деструкции и высокое сопротивление тепловому старению. Вследствие отсутствия токсичных компонентов этот каучук можно применять в изделиях, контактирующих с пищей или кожей человека.1,2-ПБ имеет возможность разрушаться под действием микроорганизмов, что важно для снижения загрязнения окружающей среды. С увеличением содержания 1,2-звеньев в пределах всего диапазона линейно снижается температурный предел хрупкости и возрастает коэффициент термоокислительного старения резин.

В работе [25] исследовали структурные параметры каучуков по результатам их испытаний в интервале температур от - 180оС до 200оС динамическим механическим методом с применением обратного крутильного маятника. Температурный переход в области - 116÷-125оС (β-переход) соответствует температуре хрупкости каучуков. Наиболее интересным является α-переход, связанный с расстеклованием полибутадиена конфигурации 1,2 и соответствующий его температуре стеклования. Для СКД-СР Тс= - 20÷-30оС. Максимум механических потерь находиться в интервале температур - 96÷-100 оС (α 1-переход). По своему положению и значению этот переход соответствует Тс полибутадиена конфигурации 1,4. Анализ литературных данных показывает, что при полимеризации бутадиена в растворе с применением бутиллитиевых катализаторов наблюдается образование микроблоков цис - и транс - 1,4-конфигурации. Поэтому можно полагать, что обнаруженный α 1 переход обусловлен наличием в СКД-СР упорядоченных фрагментов 1,4-ПБ. Эти фрагменты, обладая большей подвижностью, чем ПБ-1,2 способствуют улучшению низкотемпературных свойств резин на основе СКД-СР. Их Тхр значительно ниже, чем у аналогичных по составу резин из СКБ, а наименьшую Тхр имеют резины с максимальным содержанием фрагментов 1,4-ПБ. В высокотемпературной области исследуемые каучуки также характеризуются наличием ряда максимумов механических потерь. У СКД-СР происходит резкое увеличение текучести при температурах выше 40оС. Обнаружены максимумы механических потерь в области 100÷123оС (α’-переход) и 158оС (α”-переход), которые, вероятно, можно отнести к плавлению кристаллитов из изо - и синдиотактических микроблоков ПБ-1,2 Наличие микроблоков ПБ-1,2 оказывает влияние на технологические свойства резиновых изделий на основе СКД-СР. Очевидно, образование микроблоков ПБ-1,2 приводит к уменьшению подвижности цепей эластомера в результате увеличения физического взаимодействия между ними и ухудшению технологических свойств резиновых смесей из СКД-СР.

В работе [35] исследовали зависимость физико-механических свойств вулканизатов на основе 1,2-полибутадиенов (СКД-СР, СКДЛБ) от микро - и макромолекулярной структуры каучуков. С увеличением содержания винильных звеньев скорость вулканизации повышается, что обусловлено тем, что скорость процесса вулканизации больше зависит от количества двойных связей основной цепи, которое уменьшается с увеличением доли боковых винильных звеньев. Степень вулканизации с повышением 1,2-звеньев уменьшается, о чем свидетельствует тенденция к снижению напряжения при удлинении 300% и твердости, увеличению относительного удлинения и остаточной деформации. С ростом количества 1,2-звеньев повышается сопротивление тепловому старению вулканизатов, что обусловлено применение СКД-СР и СКДЛБ (с содержанием 1,2-звеньев не менее 70%) в изделиях, работающих при высоких температурах в абразивной и асботехнической отраслях промышленности. Микроструктура полимера и связанная с ней молекулярная подвижность значительно влияют на температуру стеклования полимера, которая повышается с увеличением доли винильных звеньев. Таким образом, из исследованных молекулярных параметров наибольшее влияние на кинетику, степень вулканизации и соответственно на комплекс технических свойств изделий оказывает микроструктура полимера.

ПБ с повышенным содержанием 1,2-звеньев является материалом с контролируемым уровнем кристалличности. Полимеризация в растворе позволила получить 1,2-бутадиеновые каучуки более совершенной структуры (высокая чистота, линейность, отсутствие геля) с улучшенными прочностными, эластическими и усталостными свойствами [26].

В работе Л.В. Адамовой [27] "Термодинамическая устойчивость и механические свойства смесей изопренового и бутадиенового каучуков" исследовали два промышленных стереорегулярных каучука - цис - полиизопрен (СКИ-3) и 1,4-цис - полибутадиен (СКД) и нестереорегулярный полибутадиен СКД-СР, содержащий 78% 1,2 - звеньев, и смеси СКИ-3 с обоими полибутадиенами. Абсолютные значения энергии Гиббса смешения каучуков возрастают при переходе от стереорегулярного СКД к нерегулярному каучуку СКД-СР. Это связано, по мнению авторов, с уменьшением упорядоченности ассоциатов однородных макромолекул полибутадиена в двухфазной системе, что увеличивает вероятность образования смешенных ассоциатов, т.е. способствует образованию совместимости структур в смесях. В соответствии с этим все вулканизаты смесей, содержащие СКД-СР, характеризуются одной температурой стеклования, закономерно изменяющейся с составом композиции.

 

1.6 Особенности термического старения

Старение СКЭПТ и 1,2-полибутадиена

Термостойкость - способность резин сохранять свойства при действии повышенной температуры. Обычно этим термином обозначают сопротивление термическому старению, в процессе которого происходит изменение химической структуры эластомера. Изменение свойств резин при термическом старении необратимо [30].

Одним из специфических свойств полимеров содержащих виниловые звенья (СКД-СР), является придание готовым изделиям высокого сопротивления тепловому старению и стойкости к термоокислительной деструкции. Термоокисление 1,2-ПБ на воздухе сопровождается во всех случаях дополнительным структурированием по 1,2-звеньям. Очевидно, при этом густота сетки вулканизата становится выше оптимальной, что приводит к снижению прочности после старения [31].

Считают, что серосодержащие вулканизующие системы способны обеспечить работоспособность резин из СКЭПТ при температурах не выше 150°С; для применения этих резин при более высокой температуре необходима вулканизация органическим пероксидом. Пероксидные вулканизаты СКЭПТ оказались более термостойкими, чем серные вулканизаты СКЭПТ. Увеличение степени непредельности СКЭПТ выше 1% или чрезмерное повышение содержания пероксида снижает термостойкость резин. При термоокислении вулканизатов двойных сополимеров происходят компенсирующие друг друга процессы деструкции и сшивания цепей, в результате чего свойства вулканизатов (сопротивление разрыву, относительное удлинение при разрыве, модули) изменяются незначительно [32]. В случае вулканизатов тройных сополимеров преобладают реакции сшивания, и механические свойства изменяются в большей степени: наблюдается рост модулей при снижении прочностных и эластических показателей.

Старение ДТЭП

При эксплуатации ДТЭП, особенно при повышенных температурах, велика вероятность снижения физического взаимодействия, фазового расслоения и, следовательно, ухудшения свойств таких материалов. Поэтому для разработки наиболее эффективных композиций и материалов на их основе необходимо знание закономерностей изменения структуры и свойств ДТЭП в процессе длительного термического старения при различных температурах.

В работе Донцова А. А [33] исследовали закономерности изменения свойств и структуры ДТЭП на основе СКЭПТ и ПП в процессе старения при 70-1500С в свободном и напряженном состоянии. При длительном старении на воздухе при 1250С упруго-прочностные свойства ДТЭП, полученных в присутствии серосодержащих вулканизующих систем, изменяются незначительно. При температуре 1500С, близкой к температуре плавления термопласта, наблюдается резкое падение упруго-прочностных характеристик всех ДТЭП.

Следует отметить, что при старении традиционных вулканизатов уже при температуре 1250С показатели прочности при растяжении и особенно относительного удлинения при разрыве уменьшаются при одновременном увеличении напряжения при удлинении, по-видимому, в результате процессов структурирования ДТЭП [34].

Для выявления причины изменения свойств ДТЭП были исследованы изменения в их структуре при старении. Исследования показали, что степень сшивания эластомерной фазы в процессе термического старения практически не изменяется, в то время как для обычных вулканизатов на основе СКЭПТа с различными вулканизующими системами наблюдается ее увеличение. Следовательно, сопротивление термическому старению эластомерной фазы в ДТЭП возрастает по сравнению с традиционными вулканизатами на основе СКЭПТ.

Таким образом, можно предположить, что изменение свойств ДТЭП при старении связано с процессами, протекающими в фазе термопласта и граничном слое. Повышение температуры или времени старения приводит к ослаблению межфазного взаимодействия в ДТЭП, в результате чего увеличивается вероятность отслаивания частиц эластомера от матрицы термопласта. Наряду с этим происходят структурные превращения в термопласте, которые наиболее заметны при температурах, близких к температурам плавления термопласта. Ниже этой температуры материал обладает высокими физико-механическими показателями и может надежно эксплуатироваться в течение длительного времени.

 

1.7 Области применения ДТЭП

Наибольшее количество патентов (около 40%) относится к термоэластопластам, полученным путем динамической вулканизации - смешивания эластомеров с термопластом при одновременной вулканизации эластомера.

Наиболее характерными областями применения динамически вулканизованных ДТЭП являются: резинотехнические изделия (литые колеса, набивки и уплотнения, диафрагмы, трубчатые изделия, шлифуемые уплотнения, муфты сцепления, виброизоляторы, поршни, соединительная трубная арматура и др.); изделия для автомобильной промышленности (бамперы автомобилей, оболочки рукавов и шлангов, электроизоляторы и ударные амортизаторы, сливные трубы, вакуумная арматура, пробки, уплотнения втулки и т.д.); промышленные рукавные изделия (для гидрантов, поливных шлангов и др.); электротехнические изделия (электрические штепсельные разъемы и клеммы, вилки и гнезда, изолирующие шины, изоляция проводки и кабелей); медицинские изделия (уплотнители клапанов аэрозольных упаковок, пробки, соски, катетеры, рукава для мембранных насосов и др.); детали для технологического оборудования в пищевой промышленности.

Термоэластопласты, применяемые при изготовлении пробок для лекарственных препаратов, получают динамической вулканизацией смеси, включающей бутилкаучук (галагенированный), полипропилен, гидрированный трехблочный сополимер изопрена и стирола, полибутиленовый пластификатор. При заборе лекарства из емкостей шприцем без удаления таких пробок в игле шприца остается минимальное количество микрокрошек.

Для медицинских целей применяют также новый вид ДТЭП - древовидный. Эти эластомеры состоят из древовидного эластомерного блока с низкой температурой стеклования (высокоразветвленного полиизобутилена), на концах ветвей которого расположены жесткие полимерные блоки с высокой температурой стеклования (стирольные блоки). Такие эластомеры применяют для изготовления протезов, имплантируемых в организм человека.

На мировом рынке появились новые типы ДТЭП, получившие название Super-TPV. Супер-ТПЭ обладают высокой температуро- и маслостойкостью и могут быть использованы для получения изделий, которые до настоящего времени изготавливались из специальных эластомеров высокого класса, например деталей, эксплуатирующихся в моторном отсеке автомобиля. Данные ТПЭ могут также занять ниши, связанные с изготовлением устройств связи и потребительских товаров, предназначенных для использования в нестандартных условиях [28].


2. Объекты и методы исследования

 

2.1 Материалы

В работе использовали каучуки 1,2-полибутадиен марки СКД-СР, полученный на Ефремовском заводе синтетического каучука, и СКЭПТ марки 712, предоставленные голландской фирмой DSM.

1,2-полибутадиен

Нестереорегулярный каучук СКД-СР, серийная продукция

Вязкость по Муни - 31

Пластичность по Карреру - 0,54

Эластическое восстановление - 1,1 мм

Технологические свойства по Брабендеру - 2,63

Текучесть при 90оС - 166мм/час

Микроструктура:

Содержание 1,2-звеньев - 68 %

Содержание 1,4-цис-звеньев - 6,6 %

Содержание золы, масс. % - 0,04

Содержание антиоксиданта АО-300 - 0,42%

Характеристики этиленпропилендиенового каучука приведены в табл.2.1.1.


Таблица 2.1.1 Характеристики этиленпропилендиенового каучука СКЭПТ марки 712 (данные фирмы DSM)

Соотношение звеньев этилен: пропилен,% Содержание этилиденнор-борнена, масс. %

Вязкость по Муни ML1+4,1250С

52: 48 4.5 63

В качестве матричных полимеров использовались ПЭНД марки 276-73 и ПП марки Каплен 01030. Их характеристики приведены в табл.2.1.2.

Таблица 2.1.2 Характеристики термопластов

Наименование показателей Термопласт
ПП Каплен 01030  ПЭНД-276-73

Плотность, г/см3

0.900-0.910 0.958-0.963
Показатель текучести расплава, г/10 мин. 25,0 4,9
Прочность при разрыве, МПа 35,6 41
Относительное удлинение, % 10 324
Степень кристалличности, % 64 40

Вулканизующая система

Для получения динамических вулканизатов использовали серную вулканизующую систему. Состав вулканизующей системы: сера, окись цинка, стеариновая кислота, альтакс, тиурам.

Рецептура вулканизующих систем приведена, в таблице 2.1.3 [38].

Таблица 2.1.3 Рецептура вулканизующих систем на 100 вес. ч. СКЭПТ

Компоненты Вес. ч.
ZnO 1.88
Сера 0.75
Стеариновая к-та 0.75
Тиурам Д 0.53
Альтакс 0.19

2.2 Оборудование

1. Лабораторные вальцы с обогревом СМ800 550/550.

Характеристики вальцев:

Основные размеры рабочих поверхностей валков, мм: передний и задний диаметр 550, длина 800. Фрикция 1: 1,08. Мощность электродвигателя 22 кВт.

2. Микросмеситель "Брабендер"

Характеристики микросмесителя "Брабендер":

Свободный объем смесительной камеры - 94 см3;

Тип роторов - незацепляющиеся четырехлопастные;

Частота вращения ротора - до 120 об/мин;

Фрикция - 1: 1.5;

Обогрев системы - электрический;

Напряжение питания 220В

Рис 2.2.1 Рабочий узел. Микросмеситель " Брабендер".

3. При приготовлении навесок композиций использовали весы аналитические модели ВЛР ГОСТ 24104-80:

предел взвешивания 200 г

погрешность взвешивания ±0.5 мг

класс точности 2

4. Гидропрессная установка П-10 ГОСТ 8905-73 с обогреваемыми плитами.

 

2.3 Методика приготовления образцов

 

2.3.1 Получение смесей эластомер-термопласт

Использовали предварительно пластицированный каучук. Пластикацию проводили на вальцах. Подготовленный каучук разрезали на небольшие кусочки размером не более 1 см. Смешение каучука и термопласта проводили в микросмесителе "Брабендер" при одновременной загрузке компонентов смеси. Смешение проводили при 1700С (для ПЭ) и 1900С (для ПП) и скорости вращения роторов 90 об/мин в течение 10 мин.

 

2.3.2 Получение ДТЭП

Для получения ДТЭП использовали предварительно пластицированный каучук. Пластикацию проводили на вальцах. Подготовленный каучук разрезали на небольшие кусочки размером не более 1 см.

Реакционное смешение каучука, полиолефина и вулканизующей системы проводили в микросмесителе "Брабендер" при одновременной загрузке в камеру смесителя термопласта и эластомера. Вулканизующую систему вводили после полного расплавления термопласта. Количество вулканизующей системы рассчитывали с учетом количества и марки эластомера. Смешение проводили при 1700С (для ПЭ) и 1900С (для ПП) и скорости вращения роторов 90 об/мин в течение 15 мин.

Пластины из смесей эластомер - термопласт или ДТЭП толщиной ~ 1мм получали методом горячего прессования.

Режим прессования:

Температура - 1700С (для ПЭ) и 1900С (для ПП)

Время прогрева смеси - 10 мин

Давление - 10 МПа

Время выдержки под давлением - 10 мин

Охлаждение под давлением - не более 15 мин

 

2.4 Методы исследования 2.4.1 Определение густоты сетки методом равновесного набухания

Определение степени поперечного сшивания вулканизатов определи методом равновесного набухания в бензоле при комнатной температуре. Образцы помещали в бензол на сутки, затем взвешивали на аналитических весах. Затем сушили до полной массы и снова взвешивали. Степень равновесного набухания определяли по формуле:

,

где mнаб - масса набухшего образца, mвыс - масса высохшего образца

Затем определяли 1/Q - величину, обратную степени набухания и пропорциональную густоте сетки.

 

2.4.2 Виброреомометрия

Определение оптимального времени вулканизации каучука СКД-СР производили на реометре фирмы "Monsanto" с биконическим ротором при частоте вибродеформации 50 кол/мин. Испытания проводили при температуре 1640С. Из полученных реограмм определяют следующие показатели: Мmin - минимальный крутящий момент; Мmax - максимальный крутящий момент, характеризующий жесткость каучука; τС - время начала вулканизации; τС90 - оптимальное время вулканизации - момент времени соответствующий М= [Мmin +0,9 (Мmax - Мmin)]; скорость вулканизации VС [%/мин], рассчитанную как VС = 100 / [τС90 - τС].


2.4.3 Определение показателя текучести расплава

Показатель текучести расплава (ПТР, г/10 мин) определяли на установке ИИРТ-2 методом продавливания расплава полимера через капилляр при температуре 1900С (для ПЭ) и 2200С (для ПП) и нагрузке 6,3, 15,6 кг.

Значение ПТР рассчитывали по уравнению:

ПТР = 600*М/τ,

где τ - промежуток времени между срезами прутка (с). М - масса прутка (г).

Показания усредняли по 5 значениям.

 

2.4.4 Механические испытания

Деформационно-прочностные характеристики материалов определяли в режиме одноосного растяжения на универсальной испытательной машине AUTOGRAPH AGS-H фирмы "Shimadzu".

Скорость растяжения 50 мм/мин. Образцы представляли собой двусторонние лопатки с размером рабочей части 1х10 мм (для широкого ножа).

Толщину образцов измеряли микрометром с точностью измерения ±0.01 мм.

По кривым нагрузка - удлинение определяли прочность при разрыве σ МПа и относительное удлинение при разрыве ε %.

 

2.4.5 Дифференциальная сканирующая калориметрия (ДСК)

Калориметрические исследования проводили на термоанализаторе DTAS-1300 в неизотермических условиях в температурном интервале от 30 до 1700С. Скорость нагрева составляла 8 град/мин.

Измеряемой величиной являлось количество выделенной теплоты (ΔН), определяемое по площади пика между кривой ДСК и базисной линией. Степень кристалличности ПЭНД (α) определяли по формуле:

,

где  - удельная теплота плавления ПЭНД, Дж/г.

Степень кристалличности ПП (α) определяли по формуле:

,

где  - удельная теплота плавления ПП, Дж/г.

Температурной характеристикой плавления ПЭНД служила температура экстремума Тmax. Точность измерения температуры ±0.50С.

 

2.4.6 Расчет параметров растворимости

Параметр растворимости характеризует способность веществ к взаимному растворению, т.е. образованию гомогенной термодинамически устойчивой смеси. Обязательное условие образования такой смеси - уменьшение свободной энергии системы Z при смешении компонентов:

ΔZ=ΔH-TΔS < 0

где ΔH - тепловой эффект смешения; Т - абсолютная температура; ΔS - изменение энтропии.

Существует несколько способов расчета параметра растворимости. В случаях, когда известна структурная формула соединения, широко используют расчетный метод Смола, основанный на предположении об аддитивности действия сил сцепления отдельных радикалов и атомных групп, входящих в состав молекулы низкомолекулярного вещества или элементарного звена макромолекулы.

Эта предпосылка позволяет вычислить параметр растворимости полимера по уравнению:

Где  - сумма констант притяжения отдельных групп (табличные данные),  - плотность полимера,  - молекулярная масса элементарного звена.

Для определения совместимости полимеров необходимо рассчитать параметр взаимодействия между смешиваемыми компонентами, который рассчитывается по формуле:

Где Vs=10-4м3/моль, Т - абсолютная температура, R-универсальная газовая постоянная

Считается, что при <2 компоненты совместимы [37].

 

2.4.7 Искусственное старение

Старению подвергались динамические вулканизаты на основе ПЭНД марки 276-73 состава СКЭПТ/ПЭНД =40/60 и СКД-СР/ПЭНД =40/60 и на основе ПП марки Каплен состава СКД-СР/ПЭНД =40/60. Старение провели при температуре 70оС в течение 24ч.


3. Экспериментальная часть и обсуждение результатов

Задача работы решались путем определения влияния: концентрации каучука и динамической вулканизации на деформационно-прочностные свойства смесей полиолефин - 1,2-полибутадиен.

ДТЭП на основе ПП и ПЭ получают с использованием СКЭПТ, т.к. у него наибольшая совместимость с матричными полимерами.1,2-полибутадиен имеет также хорошую совместимость с данными матрицами и при этом обладает исключительной стойкостью к термоокислительной деструкции и высоким сопротивлением тепловому старению. Предполагается, что ДТЭП на его основе будут обладать теми же ценными свойствами.

Расчет параметров растворимости показывает, что 1,2-полибутадиен с ПЭ и ПП хорошо совместимы:

1,2-полибутадиен:

ρ - 0,96 г/см3, Мо - 54 г/моль

F1.2-ПБ=F + F+ F+ F =133+28+111+190=462

F1.4-ПБ=2F + 2F=2*133+2*111=488

 (кал/см3)

СКЭПТ-712

ρ - 0,86 г/см3

СКЭПТ: 52% - ПЭ, 48% - ПП, 4,5% -ЭНБ

FПЭ = 2F=2*133=266 Мпэ=42 г/моль

FПП=F+ F+ F-CH3=133+28+214=375

Мпп=42 г/моль

Fэнб= F-CH=CH-+2* F+2* F+ F  + F-CH3=

=222+2*28+2*133+130+214=888, Мэнб=120 г/моль

8,23 (кал/см3)

Полиэтилен:

ρ - 0,96 г/см3, Мо - 42 г/моль

FПЭ = 2F=2*133=266

 (кал/см3)

Полипропилен

ρ - 0,9 г/см3, Мо - 42 г/моль

FПП=F+ F+ F-CH3=133+28+214=375

 (кал/см3)

Параметр взаимодействия между смешиваемыми компонентами рассчитывается по формуле:

,

где Vs=10-4м3/моль, Т - абсолютная температура, R-универсальная газовая постоянная

Для системы 1,2-полибутадиен-полиэтилен параметр взаимодействия между смешиваемыми компонентами:

<2 - компоненты совместимы

Для системы 1,2-полибутадиен-полипропилен:

<2 - компоненты совместимы

Для системы СКЭПТ-полиэтилен:

<2 - компоненты совместимы

Из данных по совместимости видно, что СКД-СР так же хорошо совместим с ПЭ и ПП, как и СКЭПТ.

В работе были использованы каучуки: 1,2-полибутадиен марки СКД-СР, СКЭПТ 712 марки, термопласты: ПЭНД-276-73 и ПП марки Каплен 01030. Содержание каучука в композиции изменяли от 30 до 40 мас. %. Смешение производили в микросмесителе "Брабендер" при Т= 170 0С (для систем на основе ПЭ) и 1900С (для систем на основе ПП). Серосодержащую вулканизующую группу, состав которой приведен на стр.32, рассчитывали для каждой смеси на количество каучука в ней. Вулканизующую группу вводили, когда термопласт полностью расплавится и вязкость системы станет минимальной.

Для уверенности прохождения сшивания в фазе 1,2-ПБ за это время определили оптимальное время вулканизации каучука СКД-СР. Вулканизацию проводили в прессе при температуре 160оС, вулканизующую группу вводили на вальцах.

Кинетику вулканизации оценивали по набуханию вулканизата в бензоле (время вулканизации 5, 10, 12, 15 мин). Степень набухания (Q) рассчитывали по формуле:

,

где mнаб - масса набухшего образца, mвыс - масса высохшего образца

Таблица 3.1: Влияние времени вулканизации на густоту сетки поперечных связей

Время вулканизации Q, %  1/Q
0 26,89 0,04
5 20,95 0,05
10 6,67 0,15
12 6,10 0,16
15 6,10 0,16

Рис.3.1 Влияние времени вулканизации СКД-СР на густоту сетки поперечных связей

Исходя из представленной кривой, можно сделать вывод, что данная ВС позволяет за 15 мин при температуре 160оС получить оптимальную плотность сшивки каучука.

Данные динамометрического анализа вулканизованных смесей показывают, что образцы, вулканизованные 5 мин, ведут себя как сырые резиновые смеси, а вулканизованные 10, 12, 15 мин - как вулканизованная резина (табл.3.2).

Таблица 3.2: Влияние времени вулканизации на механические характеристики вулканизованных смесей

Время вулканизации, мин Прочность при разрыве, МПа Относительная деформация, %
5 0,3 950
10 0,8 630
12 1,0 520
15 1,2 430

Виброреомометрия позволяет получить всю кинетическую кривую вулканизации на одном образце, что значительно уменьшает ошибку определения.

Рис.3.2 Кривая изменения напряжения сдвига каучука при вулканизации

Из полученной реограммы (рис.3.2.) определили следующие показатели:

1.  минимальный крутящий момент Мmin= 5,7;

2.  максимальный крутящий момент Мmax= 19,5;

3.  время начала вулканизации τС= 4мин;

4.  оптимальное время вулканизации τС90= 18 мин;

5.  скорость вулканизации VС =7,1 %/мин.

Скорость вулканизации, то есть количество пространственных химических связей, образуемых в единицу времени, зависит от температуры. При более высоких температурах образование связей протекает более интенсивно. Поэтому чем выше температура, тем выше скорость вулканизации. Количественно эта зависимость выражается температурным коэффициентом вулканизации К10, который определяют как отношение промежутков времени, необходимых для получения одинаковой степени вулканизации при двух температурах, отличающихся на 10°С [36]:

K10 = τТ/τТ+10,

где τТ и τТ+10 − время, необходимое для достижения заданной степени

вулканизации при температурах, соответственно Т и Т+10 градусов Цельсия.

У серной вулканизующей системы тепловой коэффициент вулканизации равен 2 (К10).

Так как динамическая вулканизация проводится при более высоких температурах, чем температура вулканизации, то при динамической вулканизации каучук вулканизуется:

1) за 9 мин при температуре 170оС - система на основе ПЭ.

2) за 2 мин при температуре 190оС - система на основе ПП.

Исходя из полученных данных, можно сделать вывод, что серная ВС позволяет провести динамическую вулканизацию каучука СКД-СР, входящего в состав ДТЭП, при температуре 170оС для материалов ПЭ/СКД-СР и температуре 190оС - для ПП/СКД-СР за 10 мин с получением оптимальной плотности сшивки каучука.

 

3.1 Влияние матричного полимера на структуру и свойства смесей СКД-СР/ ПЭНД и СКД-СР/ ПП и ДТЭП на их основе

Деформационное поведение ПЭНД марки 276-73 и ПП марки 01030 Каплен принципиально различно.

На рис.3.1 приведены кривые растяжения, а в табл.2.1.2 свойства этих полимеров. ПЭНД марки 276-73 деформируется с формированием шейки, которая распространяется на всю рабочую часть образца.

Разрыв полимера происходит на стадии деформационного упрочнения (кривая 1). ПП разрушается на стадии формирования шейки (кривая 2).

Рис 3.1.1 Кривые растяжения ПЭНД марки 276-73 (1) и ПП марки Каплен 01030 (2).


3.1.1 Влияние концентрации каучука на свойства механических смесей на основе смесей ПЭНД/СКД-СР

Исследование влияния концентрации каучука на деформационное поведение и свойства смесей полиэтилена и 1,2-полибутадиена показали, что при введении 30 мас. % каучука, в сравнении с чистым ПЭ, уменьшаются деформационно-прочностные показатели механических смесей (табл.3.1.1). Разрыв системы происходит на начальной стадии формирования шейки, но шейка становится неявной и ее наличие можно отследить только благодаря нанесению на рабочую область образца поперечных меток (рис.3.1.2, а). Разрушение происходит при малых значениях деформации.

 

а) 30%СКД-СР+ПЭНД (мех. смесь) б) 30%СКД-СР+ПЭНД (ДТЭП)

Рис.3.1.2 Фотографии растяжения образцов состава 30%СКД-СР - ПЭ-276-73

При введении 40% каучука образец деформируется однородно, но характер деформирования остается пластичным. Уменьшается прочность, но увеличивается деформация (табл.3.1.1).


Таблица 3.1.1 Механические свойства термопластов: ПЭНД 276-73, ПП Каплен, механических смесей и ДТЭП на их основе *

Термопласт Концентрация СКД-СР,% Прочность при разрыве, σ, МПа

Относительное удлинение εотн,%

Остаточное удлинение εост,%

ПЭНД-276-73 0 39 620 600
30

40

ПП "Каплен" 0 37 10 10
30

40

* в числителе - механические свойства для смесей без вулканизующих систем, в знаменателе - механические свойства для ДТЭП

3.1.2 Влияние динамической вулканизации на свойства ДТЭП на основе смесей ПЭНД/СКД-СР

Динамическая вулканизация смеси с концентрацией каучука 30% изменяет характер растяжения - образцы деформируются однородно (рис.3.1.3). Увеличивается прочность в 1,2 раза, деформация же увеличивается в 4 раза. Это происходит по следующим причинам:

1) сшивание частичек каучука,

2) образование связей между ПЭ-матрицей и каучуковыми частицами, что способствует росту адгезионной прочности межфазной границы и, как следствие, увеличению вклада эластомерной составляющей материала в формирование его деформационных свойств,

3) подшивание матрицы ПЭ. Для смеси с концентрацией каучука 40 % динамическая вулканизация увеличивает деформационно-прочностные показатели: относительное удлинение увеличивается в 4,7 раза, прочность - в 1,3 раза. Хотя образцы деформируется однородно, наличие остаточного удлинения указывает на сохранение пластической деформации (табл.3.1.1).

Рис.3.1.3 Кривые растяжения образцов состава: 30% СКД-СР/ПЭНД: механическая смесь (1), ДТЭП (2), 40% СКД-СР/ПЭНД: механическая смесь (3), ДТЭП (4)

3.1.3 Влияние концентрации каучука на свойства механических смесей на основе смесей ПП/СКД-СР

Чистый ПП разрушается на стадии формирования шейки. При введении 30% каучука деформация остается пластичной (рис.3.1.5). Сильно уменьшается прочность, но увеличивается относительное удлинение - в 2 раза. Образцы деформируются однородно (рис.3.1.4 а). С увеличением концентрации до 40 % характер деформирования не изменяется, увеличивается деформация, но уменьшается прочность.

 

а) 30%СКД-СР+ПП (мех. смесь) б) 30%СКД-СР+ПП (ДТЭП)

Рис.3.1.4 Фотографии растяжения образцов состава 30%СКД-СР-ПП

3.1.4 Влияние динамической вулканизации на свойства ДТЭП на основе смесей ПП/СКД-СР

Динамическая вулканизация оказывает влияние на предельные характеристики материала, но не изменяет характер растяжения (рис.3.1.5.), образцы деформируются однородно (рис.3.1.4).

Рис.3.1.5 Кривые растяжения образцов состава: 30%СКД-СР/ПП: механическая смесь (1), ДТЭП (2), 40%СКД-СР/ПП: механическая смесь (3), ДТЭП (4)

Несмотря на однородный характер растяжения ДТЭП, содержащих 40% 1,2-ПБ, материалы пластичны, о чем свидетельствуют значения остаточного удлинения. Для материала на основе ПЭНД остаточное удлинение eост=154%, а для ДТЭП на основе ПП eост=46% (табл.3.1.1.).

Сопоставляя данные по влиянию природы полиолефина на свойства динамического термоэластопласта, содержащего 40% СКД-СР, видим, что образцы на основе ПП имеют большую прочность, но меньшие значения относительного и остаточного удлинений. Высокие значения удлинений динамических вулканизатов на основе ПЭНД могут быть связаны с частичной подвулканизацией ПЭНД, повышенным взаимодействием на границе каучук-термопласт и понижением подвижностей цепей полиэтиленовой матрицы, на что указывают данные ПТР (табл.3.1.2.). На ПП ВС не оказывает влияние.

Табл.3.1.2 Величины показателя текучести расплава ПЭ и ПП (с вулканизующей системой и без, при нагрузке 5 кг

Система ПТР, г/мин
ПЭНД 4,1
ПЭНД-ВС 2,5
ПП 20,3
ПП-ВС 20,4

Значения ПТР чистого ПП гораздо выше значений ПТР чистого ПЭ, что говорит о лучшей текучести ПП. При введении каучука ПТР уменьшается, но для систем на основе ПП также характерна более высокая текучесть в сравнении с системами на основе ПЭ. Динамическая вулканизация будет оказывать большее влияние на реологические свойства материалов на основе ПЭ, за счет его подшивания, в сравнении с материалами на основе ПП (табл.3.1.2).

При увеличении содержания каучука уменьшается содержание способного к вязкому течению термопласта, что приводит к снижению значений ПТР (табл.3.1.3).

Показатель текучести расплава уменьшается при динамической вулканизации, что связано с образованием связей на границе раздела фаз каучук-термопласт, затрудняющее течение. Способность к вязкому течению систем с 40 мас. % СКД-СР свидетельствует о сохранении непрерывности фазы термопласта.

Таблица 3.1.3 Величины показателя текучести расплава при температуре 190°С (для ПЭНД) и 220°С (для ПП) и различных нагрузках*

Термопласт Соотношение полимеров СКД-СР/термопласт Нагрузка, кг
6,3 15,6
ПЭНД-276-73 0/100 4,9±0,03 23,3±0,03
30/70

40/60

100/0 Не течет 0,7±0,02
ПП "Каплен" 0/100 25,0±0,02 108,5±0,04
30/70

40/60

100/0 Не течет 0.7±0,03

 

* в числителе - ПТР для материалов без вулканизующих систем

в знаменателе - ПТР для материалов с вулканизующими системами

Для определения влияния динамической вулканизации на микроструктуру матричного полимера был проведен теплофизический анализ механических смесей и ДТЭП состава: 30%СКД-СР/ПЭНД и 30%СКД-СР/ПП. По данным ДСК (табл.3.1.4) можно сделать вывод, что динамическая вулканизация не оказывает влияния на структуру матричного полимера, т.к. не изменяются степень кристалличности и температура плавления.

Таблица 3.1.4 Теплофизические свойства систем на основе термопласт /СКД - СР, с концентрацией каучука 30%

Термопласт ΔН, Дж/г интервал температур

Тпл, оС

степень кристалличности,%
ПЭНД

 

 

 

 

ПП

 

 

 

 

 

* в числителе - для материалов без вулканизующих систем

в знаменателе - для материалов с вулканизующими системами

 

3.2 Влияние природы каучука на свойства ДТЭП

Влияние природы каучука на свойства динамических термоэластопластов рассматривали на смесях: СКД-СР/ПЭНД и СКЭПТ-712/ПЭНД. Вулканизаты на основе каучуков СКД-СР и СКЭПТ-712 имеют различные предельные показатели (рис.3.2.1.).

Рис.3.2.1 Кривые растяжения вулканизованных каучуков: СКЭПТ 712 (1), СКД-СР (2)

На рис.3.2.2 представлены кривые растяжения ДТЭП на основе СКЭПТ и СКД-СР с концентрацией каучука 30 и 40%. Для динамических вулканизатов на основе СКЭПТ с концентрацией каучука 30% характерно растяжение с образованием зуба текучести. С увеличением концентрации каучука до 40 мас. % зуб текучести вырождается, но образец деформируется неоднородно. Для динамических вулканизатов на основе каучука СКД-СР характерно однородное деформирование. Можно сделать вывод, что на характер деформирования влияет природа каучука.

Рис.3.2.2 Кривые растяжения ДТЭП состава: 30%СКЭПТ/ПЭНД (1), 40%СКЭПТ/ПЭНД (2), 30%СКД-СР/ПЭНД (3), 40%СКД-СР/ПЭНД (4).

При концентрации каучука 30% ДТЭП с каучуком СКД-СР разрушается при напряжении 14,7 МПа, прочность при разрыве ДТЭП со СКЭПТ гораздо выше - 40,3 МПа (табл.3.2.1). Можно предположить, что более высокие прочностные показания динамических вулканизатов на основе каучука СКЭПТ-712 связаны с большей прочностью каучука СКЭПТ-712 (рис.3.2.1). Деформационно-прочностные показатели ДТЭП на основе СКЭПТ-712/ПЭНД выше, чем у динамических вулканизатов на основе СКД-СР/ПЭНД. При совмещении полимеров с близкими параметрами растворимости можно ожидать в системе образование развитого межфазного слоя. Чем выше межфазные взаимодействия каучука с пластиком, тем лучшими физико-механическими свойствами будут обладать композиции на их основе [29].


Таблица 3.2.1 Механические свойства механических смесей и ДТЭП на основе ПЭНД 276-73 *

Каучук Концентрация каучука,% Прочность при разрыве, σ, МПа

Относительное удлинение εотн,%

Остаточное удлинение εост,%

СКД-СР 0 39 620 600
30

40

100 2,2 480 -
СКЭПТ - 712 0 39 620 600
30

40

100 4,3 332 -

* в числителе - для материалов без вулканизующих систем

в знаменателе - для материалов с вулканизующими системами

 

3.3 Старение ДТЭП на основе ПЭНД/СКЭПТ-712, ПЭНД/СКД-СР и ПП/СКД-СР, содержащих 40 % каучука

Старение провели в условиях повышенной температуры (70оС) в течение 24 ч. После искусственного старения, характер растяжения ДТЭП не изменяется: как исходный, так и состаренный материалы деформируются одинаково: с образованием шейки (рис.3.3.1) - ДТЭП на основе СКЭПТ/ПЭНД, однородно СКД-СР/ПЭНД (рис.3.3.2) и СКД-СР/ПП (рис.3.3.3). Однако изменяются деформационно-прочностные характеристики.

Рис.3.3.1 Кривые растяжения исходного (1) и состаренного (2) ДТЭП состава 40 мас. % СКЭПТ марки 712 - 60 мас. % ПЭНД марки 276-73.

Рис.3.3.2 Кривые растяжения исходного (1) и состаренного (2) ДТЭП состава 40 мас. % СКД-СР - 60 мас. % ПЭНД марки 276-73

Рис.3.3.3 Кривые растяжения исходного (1) и состаренного (2) ДТЭП состава 40 мас. % СКД-СР - 60 мас. % ПП марки Каплен

В табл.3.3.1 приведены механические свойства динамических вулканизатов, подвергшихся искусственному старению.

Для ДТЭП, подвергшихся старению, на основе ПЭНД/СКД-СР и ПП/СКД-СР, не изменяются характер деформирования и механические характеристики. Что говорит о стабильности ДТЭП на основе каучука СКД-СР.

Для динамических вулканизатов на основе каучука СКЭПТ характерно незначительное увеличение относительного удлинения и прочности во время термоокислительного старения, что связано с дополнительным структурированием СКЭПТ.


Таблица 3.3.1 Механические свойства динамических вулканизатов с содержанием каучука 40% на основе: ПЭНД /СКЭПТ-712, ПЭНД /СКД-СР, и ПП/СКД-СР, подвергшихся искусственному старению *

ДТЭП Прочность при разрыве σ, МПа

Относительное удлинение εс,%

Остаточное удлинение εост,%

СКД-СР/ПП

СКД-СР/ПЭНД

СКЭПТ/ПЭНД

 

*в числителе - свойства исходного ДТЭП,

в знаменателе - свойства состаренного ДТЭП

Таким образом, ДТЭП на основе каучука СКД-СР стойки к термоокислительному старению; в сравнении с ДТЭП на основе СКЭПТ-712, более стабильны, под действием повышенной температуры свойства не изменяются.

Таким образом, ДТЭП на основе 1,2-ПБ имеют высокие характеристики, сочетающие эластичные и эксплуатационные свойства вулканизованных резин и конструкционные свойства термопластов при переработке. Можно предложить их в производстве формовых и неформовых изделий для предприятий автомобилестроения и стройиндустрии.

В соответствии с ГОСТ 30547-97 на рулонные кровельные и гидроизоляционные материалы можно предложить использование ДТЭП на основе 60%ПЭНД/40%СКД-СР в качестве рулонных кровельных материалов, т.к. они соответствуют поставленным требованиям (табл.3.3.2).

Показатели По ГОСТ 30547-97 ДТЭП на основе ПЭНД/40%СКД-СР
Условная прочность при разрыве, МПа Не менее 8 13,8
Относительное удлинение, % Не менее 200 320

Термоусадка после 6ч. Термостатирования %, 70оС

Не более 2 0,5

Заключение

В представленной работе были исследованы динамические термоэластопласты на основе ПЭВП и СКД-СР, и ПП и СКД-СР. В качестве вулканизующей системы использовали серную сшивающую систему. Установлено, что с увеличением содержания каучука в материалах реализуется переход от растяжения с образованием и ростом шейки к макрооднородному деформированию. Прочность материалов с увеличением концентрации каучука уменьшается, а относительное удлинение - увеличивается. Показано, что природа матрицы влияет на деформационное поведение механических смесей. Вне зависимости от характера растяжения матрицы, динамические вулканизаты на основе ПЭНД или ПП с концентрацией каучука СКД-СР 40% деформируются однородно и имеют высокие деформационно-прочностные свойства.

Изучив влияние каучука на свойства ДТЭП, пришли к выводу, что природа каучука также оказывает влияние на механические свойства ДТЭП. Концентрация каучука, при которой происходит переход от неоднородного деформирования к однородному также зависит от природы каучука.

ДТЭП на основе ПП имеют прочность несколько выше, чем прочность ДТЭП на основе ПЭ, и меньшие значения остаточного и относительного удлинений. Также динамические вулканизаты на основе ПП сохраняют достаточную текучесть для дальнейшей переработки.

ДТЭП на основе каучука СКД-СР стойки к термоокислительной деструкции.


Выводы

1.  Проведен анализ свойств механических смесей и динамических вулканизатов на основе 1,2-полибутадиенового каучука СКД-СР и ПЭНД или ПП.

2.  Изучено влияние матрицы и каучука на свойства ДТЭП. Природа каучука и термопласта оказывает влияние на характер деформирования и механические свойства.

3.  Показано, что увеличение содержания 1,2-полибутадиена приводит к увеличению деформируемости, но снижению прочности ДТЭП на его основе. Содержание каучука при переходе от неоднородного к однородному деформированию зависит от свойств матричного полимера. Показано, что при содержании каучука СКД-СР 40% ДТЭП на основе как ПЭ, так и ПП деформируются однородно.

4.  Установлено, что динамическая вулканизация не влияет на кристаллическую структуру матрицы: сохраняются степень кристалличности и температура плавления.

5.  ДТЭП на основе 1,2-полибутадиена/ПП сохраняют текучесть, что говорит о возможности вторичной переработки.

6.  Установлено, что концентрация каучука, при которой происходит переход от неоднородного деформирования к однородному, зависит от природы каучука и для ДТЭП на основе СКД-СР этот переход происходит при более низких концентрациях каучука в сравнении с ДТЭП на основе СКЭПТ.

7.  Показано, что при искусственном старении ДТЭП на основе СКД-СР более стабильны и сохраняют свои свойства в сравнении с ДТЭП на основе СКЭПТ.


Список используемой литературы

1.  http://kvart. knet.ru/rus/dtep. htm

2.  Setua D. K., Soman C., Bhowmick A. K. // Polymer Engineering and Science. 2002. Vol.42. №1.

3.  Пат. США № 3037954 (12.03.1962г.). / Gessler A.М., Hasslet W. H.

4.  Савельева Н.В., Ланина Т.Ф., Пыжова Е.Д., Гринько Д.В. // Каучук и резина. 2006. №2.

5.  Вольфсон С.И. Динамически вулканизованные термоэластопласты. М.: Наука, 2004

6.  Коран А.И., Патея Р.П. // Сб. препринтов Межд. конф. по каучуку и резине. Киев, 1978. Т.3.

7.  Канаузова А.А., Юмашев М.А., Донцов А.А. Получение термопластичных резин методом динамической вулканизации и их свойства. Тем. обзор. М.: ЦНИИТЭНефтехим. 1985

8.  Баранов А.О., Котова А.В., Зеленецкий А.Н., Прут Э.В. Влияние характера химической реакции на структуру и свойства смесей при реакционном смешении полимеров. // Успехи химии. 1997. Т.66. С.972-984.

9.  Ермаков С.Н., Кербер М.Л., Кравченко Т.П. Химическая модификация и смешение полимеров при реакционной экструзии. // Пласт. массы. 2007. № 10.

10.  Прут Э.В., Зеленецкий А.Н., Чепель Л.М., Ерина Н.А., Дубникова И.Л., Новиков Д.Д. Термопластичная эластомерная композиция и способ ее получения // Патент №206927 Б.И. 1996. №32.

11.  Coran A. Y., Patel R.rubber-thermoplastic composition. Part IV. Thermoplastic vulcanizates from various rubber-plastic comdination. // Rubber Chem. Technol. 1981. Vol.54.

12.  Ерина Н.А., Карпова С.Г., Леднева О.А., Компаниец Л.В., Попов А.А., Прут Э.В. Влияние условий смешения на структуру и свойства смеси полипропилен - тройной этилен - пропиленовый сополимер. // Высокомолек. соед.Б. 1995. Т.37. №8.

13.  Гугуева Т.А., Канаузова А.А., Резниченко С.В. Влияние вулканизующей системы на свойства термопластичных эластомеров на основе композиции этилен-пропиленового каучука и полиэтилена. // Каучук и резина. 1998. №4.

14.  Мединцева Т.И., Купцов С.А., Сергеев А.И., Прут Э.В. Влияние состава вулканизующей системы на структуру и свойства динамически вулканизованных смесей изотактического полипропилена и этиленпропиленового эластомера, Высокомолекулярные соединения, 2006, том 48, № 9.

15.  . Abdou-Sabet S., Puydak R. C., Rader C. P. // Rubber Chem. Technol. 1996. V.69. №3.

16.  Мединцева Т.И., Ерина Н.А., Прут Э.В. Особенности структуры и механических свойств смесей изотактического полипропилена и тройного этиленпропиленового эластомера // Высокомолекулярные соединения, том 50, №6.

17.  Юловская В.Д. Динамические термоэластопласты. Технология, структура и свойства, Учебное пособие. М: МИТХТ им. М.В. Ломоносова, 2008

18.  Пат. 2069217 Россия. 1996 // Б.И. 1996. № 32.

19.  Баркнелл К.Б. Ударопрочные пластики. Л.: Химия, 1981. Gallagher M. T. // Rubber World. 1994. V.211. №3. Р.26.

20.  Dao K. C. // J. Appl. Polym. Sci. 1982. V.27. ‹ 12.

21.  Мединцева Т.И., Компаниец Л.В., Чадаев Д.В., Прут Э.В., Влияние динамической вулканизации на механические свойства смесей изотактического полипропилена и и тройного этиленпропиленового эластомера // Высокомолекулярные соединения, 2004, том 46, № 3.

22.  Успехи химии и физики полимеров, Химия, М. 1970

23.  Бойкова И.Н. Динер Е.З. Пром-сть СК. 1976. №10

24.  Аксенов В.И., Соколова А.Д., Афанасьева В. В,, Арест-Якубович А.А., Свойства растворного 1,2-полибутадиена, полученного на каталитических системах н-бутиллитий - тетрагидрофурфурилат натрия (калия), Каучук и резина, 1990 №11

25.  Демидова Н.М. Федюкин Д.Л., Шутилин Ю.Ф., Канаузова А.А. Зависимость свойств смесей и резин от структурных особенностей каучуков СКД-СР, Каучук и резина, 1986. №5

26.  Куперман Ф.Е., Степанова Л.И., Марков И.Р. и др. "Влияние содержания 1,2звеньев в бутадиеновых каучуках на свойства шинных смесей и резин". Каучук и резина. 1994, №2.

27.  Адамова Л.В., Корнякова Т.Ю., Тагер А.А., Шершнев В.А., Шундрина И.К., Юловская В.Д. / Высокомолек. соед.А. 1996. Т.38. №8. С.1362-1366.

28.  www.polymers-money.com

29.  Земский Д.Н., Иванов В.П., Казаков Ю.М., Вольфсон С.И., Использование гидрированных эластомеров в смесевых и динамических термоэластопластах. Каучук и резина, 2005, №2.

30.  Федюкин Д.Л., Махлис Ф.А., Технические и технологические свойства резин, Москва, 1985

31.  Фирсова Е.Н., Юловская В.Д., Влияние структуры 1,2-полибутадиенов на стойкость материалов к действию агрессивных сред (кислорода и озона). МГАТХТ им. М.В. Ломоносова, Москва 2002

32.  Стереорегулярные каучуки. Под редакцией У. Солтмена.1, 2 части. Москва, 1981 год.

33.  Гугуева Т. А, Канаузова А.А., Ревякин Б.И., Донцов А.А. Особенности термического старения термопластичных эластомеров на основе композиций этиленпропиленового каучука с полипропиленом, Каучук и резина, 1996, №6

34.  Сухотина Т.М., Борисова Н.Н. Свойства этиленпропиленовых каучуков и резин на их основе. Тем. Обзор. М.: ЦНИИ-Тэнефтехим, 1973.

35.  Бойкова И.Н., Монгайт Е.З., Дроздов Б.Т., Ермакова И.Н. Свойства резин на основе СКД-СР и СКДЛБ, Каучук и резина, 1991, №7

36.  В.С. Ким, Химия и технология диэлектрических материалов. Учебное пособие, Издательство ТПУ, Томск 2005

37.  Д.В. Ван Кревелен, Свойства и химическое строение полимеров, Москва, "Химия", 1976

38.  Прут Э.В., Зеленецкий А.Н., Чепель Л.М., Ерина Н.А., Дубникова И.Л., Новиков Д.Д. // Патент №2069217 C1, Б.И. 1996. №32.


© 2012 Рефераты, доклады и дипломные работы, курсовые работы бесплатно.